服务热线
180-5003-0233

本实用新型涉及纸管加工领域,具体为一种加工纸管用纸板分切机。
背景技术:
纸管:纸用纸张加工成的管状的物体。大多纸管为螺旋纸管和无缝纸管。
纸管的应用较为广泛,在进行加工时,通常需要对纸板进行切割,针对切割后的直板进行弯曲等加工工序,而现有的加工纸管用纸板分切机存在一定的问题:
现有的加工纸管用纸板分切机其切割结构通常为位置固定的结构,在进行实际操作时,切割刀的位置是固定的结构,无法进行调节,其内侧的切割刀以及其它结构无法进行调节,在操作的过程中需要针对底部的送纸板位置进行调节,或者针对机器的切割结构进行拆卸,对其切割的位置进行重新安装的方式进行调节,操作起来均很麻烦,无法灵活操作,存在一定的使用问题。
技术实现要素:
本实用新型的目的在于提供一种加工纸管用纸板分切机,以解决上述背景技术中提出的问题。
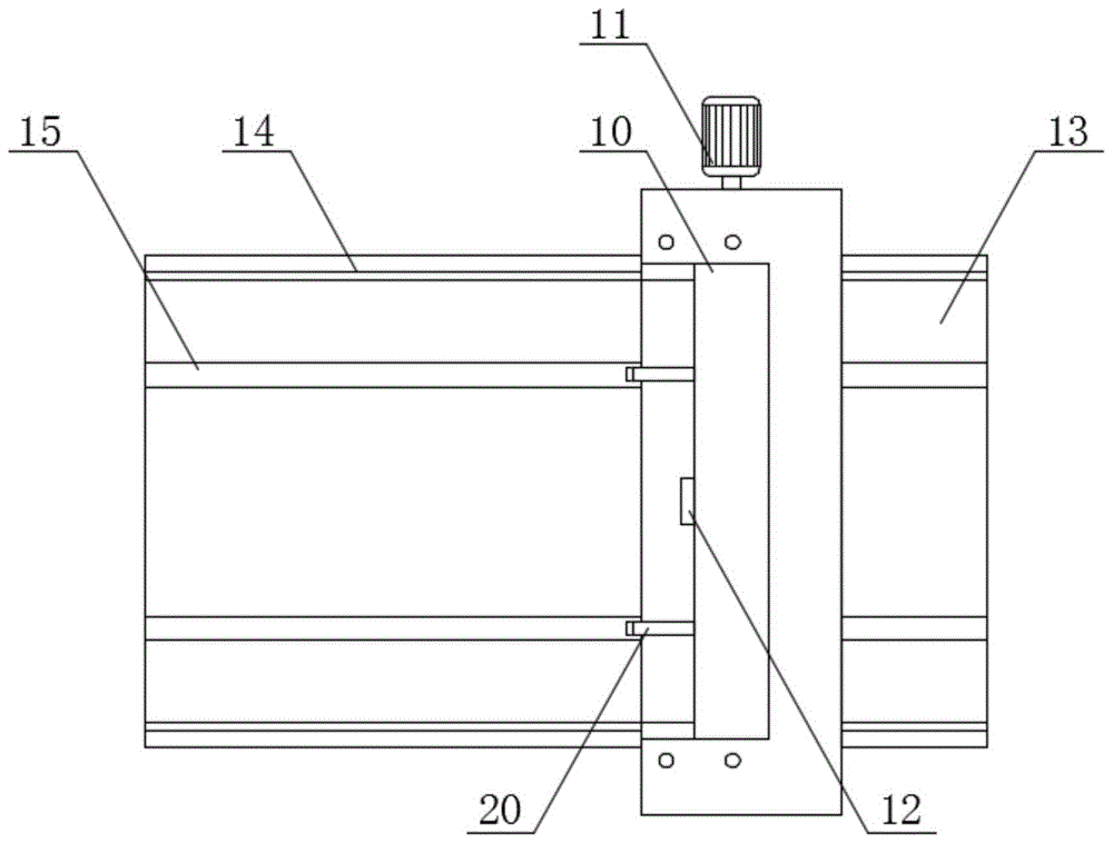
为实现上述目的,本实用新型提供如下技术方案:一种加工纸管用纸板分切机,包括装置主体的后端开设有电机,所述装置主体的一侧通过螺栓固定安装有进纸板,所述装置主体的另一侧通过螺栓固定安装有出纸板,所述装置主体的上表面通过开设的滑轨卡接有多个移动架,所述移动架的中部位置开设有压纸板,所述移动架的内侧焊接有两个连接杆,两个所述连接杆的内侧均焊接有限位环,两个所述限位环的内侧套接有切割刀。
优选的,所述切割刀的中部位置开设有内卡环,所述电机的动力输出端贯穿装置主体的内部焊接有转杆,所述切割刀通过开设的内卡环与转杆的外侧卡齿卡接。
优选的,所述移动架的上端焊接有上卡扣,所述移动架的下端焊接有下卡扣,所述装置主体的内侧开设有与上卡扣、下卡扣相匹配的卡板。
优选的,所述切割刀的外侧位于内卡环的外侧焊接有外套环,所述外套环的内侧开设有与限位环相匹配的槽口。
优选的,所述限位环的中部位置开设有与装置主体内部的转杆的最大直径相匹配的中心槽口。
优选的,所述进纸板与出纸板的上表面均焊接有挡板,所述切割刀的外侧开设有弧状的曲形刀齿。
与现有技术相比,本实用新型的有益效果是:
通过设置的移动架及其相匹配的辅助结构,能够实现切割刀的自由移动,在进行使用时,可根据实际的需求,针对其位置进行调节,调节时,仅需关闭电机,保证切割刀处于停止工作的状态即可进行调节,直接拨动移动架即可进行直接调节,调节完成后对移动架进行固定即可,操作较为方便,并且不会对切割刀工作的稳定性造成影响,结构简单,操作方便,具备一定的有益效果,较之现有的结构更具实用性。
附图说明
图1为本实用新型的结构示意图;
图2为本实用新型移动架的正视图;
图3为本实用新型移动架的侧视图;
图4为本实用新型切割刀的侧视图。
图中:10-装置主体;11-电机;12-压纸板;13-进纸板;14-挡板;15-出纸板;20-移动架;21-上卡扣;22-下卡扣;23-连接杆;24-限位环;30-切割刀;31-外套环;32-内卡环;33-刀齿。
具体实施方式
下面将结合本实用新型实施例中的附图,对本实用新型实施例中的技术方案进行清楚、完整地描述,显然,所描述的实施例仅仅是本实用新型一部分实施例,而不是全部的实施例。基于本实用新型中的实施例,本领域普通技术人员在没有做出创造性劳动前提下所获得的所有其他实施例,都属于本实用新型保护的范围。
请参阅图1-4,一种加工纸管用纸板分切机,包括装置主体10的后端开设有电机11,所述装置主体10的一侧通过螺栓固定安装有进纸板13,所述装置主体10的另一侧通过螺栓固定安装有出纸板15,所述装置主体10的上表面通过开设的滑轨卡接有多个移动架20,所述移动架20的中部位置开设有压纸板12,所述移动架20的内侧焊接有两个连接杆23,两个所述连接杆23的内侧均焊接有限位环24,两个所述限位环24的内侧套接有切割刀30。
所述切割刀30的中部位置开设有内卡环32,所述电机11的动力输出端贯穿装置主体10的内部焊接有转杆,所述切割刀30通过开设的内卡环32与转杆的外侧卡齿卡接,通过电机11提供动力输出,转杆的外侧开设有与内卡环32内侧相匹配的卡齿,转杆转动时可带动切割刀30转动;所述移动架20的上端焊接有上卡扣21,所述移动架20的下端焊接有下卡扣22,所述装置主体10的内侧开设有与上卡扣21、下卡扣22相匹配的卡板,上卡扣21与下卡扣22用于限制移动架20移动的位置,并且在移动结束后可通过螺栓将上卡扣21与下卡扣22与装置主体10进行固定,避免处于活动状态的移动架20对切割刀30的转动造成影响;所述切割刀30的外侧位于内卡环32的外侧焊接有外套环31,所述外套环31的内侧开设有与限位环24相匹配的槽口,嵌套的结构能够保证在限位环24对切割刀30提供限位效果的同时,不会对切割刀30的转动造成影响;所述限位环24的中部位置开设有与装置主体10内部的转杆的最大直径相匹配的中心槽口,限位环24固定于移动架20上,保证中心部位有充足的槽口,即可保证在转杆进行转动时,限位环24不会对转动造成影响;所述进纸板13与出纸板15的上表面均焊接有挡板14,对纸板提供限位的效果,所述切割刀30的外侧开设有弧状的曲形刀齿33。
工作原理:在进行使用时从进纸板13上纸,通过装置主体10内部的滚轮送纸,纸板在经过切割刀30时被切割,在针对切割刀30的位置进行调节时,直接移动移动架20的位置即可,移动架20内侧的限位环24限制外套环31,保证在移动架20进行移动时,能够带动内侧的切割刀30进行移动,从而通过调节移动架20的位置完成对切割刀30位置的调节。
需要说明的是,在本文中,诸如第一和第二等之类的关系术语仅仅用来将一个实体或者操作与另一个实体或操作区分开来,而不一定要求或者暗示这些实体或操作之间存在任何这种实际的关系或者顺序。而且,术语“包括”、“包含”或者其任何其他变体意在涵盖非排他性的包含,从而使得包括一系列要素的过程、方法、物品或者设备不仅包括那些要素,而且还包括没有明确列出的其他要素,或者是还包括为这种过程、方法、物品或者设备所固有的要素。
尽管已经示出和描述了本实用新型的实施例,对于本领域的普通技术人员而言,可以理解在不脱离本实用新型的原理和精神的情况下可以对这些实施例进行多种变化、修改、替换和变型,本实用新型的范围由所附权利要求及其等同物限定。
技术特征:
1.一种加工纸管用纸板分切机,包括装置主体(10)的后端开设有电机(11),所述装置主体(10)的一侧通过螺栓固定安装有进纸板(13),所述装置主体(10)的另一侧通过螺栓固定安装有出纸板(15),其特征在于:所述装置主体(10)的上表面通过开设的滑轨卡接有多个移动架(20),所述移动架(20)的中部位置开设有压纸板(12),所述移动架(20)的内侧焊接有两个连接杆(23),两个所述连接杆(23)的内侧均焊接有限位环(24),两个所述限位环(24)的内侧套接有切割刀(30)。
2.根据权利要求1所述的一种加工纸管用纸板分切机,其特征在于:所述切割刀(30)的中部位置开设有内卡环(32),所述电机(11)的动力输出端贯穿装置主体(10)的内部焊接有转杆,所述切割刀(30)通过开设的内卡环(32)与转杆的外侧卡齿卡接。
3.根据权利要求1所述的一种加工纸管用纸板分切机,其特征在于:所述移动架(20)的上端焊接有上卡扣(21),所述移动架(20)的下端焊接有下卡扣(22),所述装置主体(10)的内侧开设有与上卡扣(21)、下卡扣(22)相匹配的卡板。
4.根据权利要求2所述的一种加工纸管用纸板分切机,其特征在于:所述切割刀(30)的外侧位于内卡环(32)的外侧焊接有外套环(31),所述外套环(31)的内侧开设有与限位环(24)相匹配的槽口。
5.根据权利要求2所述的一种加工纸管用纸板分切机,其特征在于:所述限位环(24)的中部位置开设有与装置主体(10)内部的转杆的最大直径相匹配的中心槽口。
6.根据权利要求1所述的一种加工纸管用纸板分切机,其特征在于:所述进纸板(13)与出纸板(15)的上表面均焊接有挡板(14),所述切割刀(30)的外侧开设有弧状的曲形刀齿(33)。
技术总结
本实用新型公开了一种加工纸管用纸板分切机,包括装置主体的后端开设有电机,所述装置主体的一侧通过螺栓固定安装有进纸板,所述装置主体的另一侧通过螺栓固定安装有出纸板,所述装置主体的上表面通过开设的滑轨卡接有多个移动架,所述移动架的中部位置开设有压纸板,所述移动架的内侧焊接有两个连接杆,两个所述连接杆的内侧均焊接有限位环;本实用通过设置的移动架及其相匹配的辅助结构,能够实现切割刀的自由移动,在进行使用时,可根据实际的需求,针对其位置进行调节,调节时,仅需关闭电机,保证切割刀处于停止工作的状态即可进行调节,直接拨动移动架即可进行直接调节。
技术研发人员:周根平;付君军
受保护的技术使用者:广东丰华纸业股份有限公司
技术研发日:2020.08.11
技术公布日:2021.03.16