服务热线
180-5003-0233
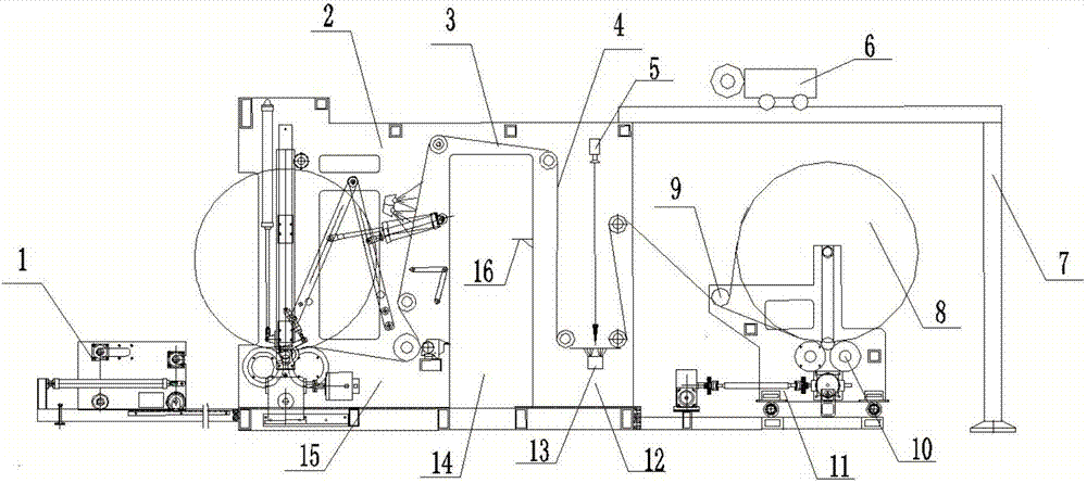
一种保护膜分切机的制作方法本实用新型涉及保护膜加工技术领域,具体为一种保护膜分切机。背景技术:保护膜按照用途可以分为数码产品保护膜,汽车保护膜,家用保护膜,食品保鲜保护膜等,随着手机等数......
什么是耐刮碳带条码碳带是条码打印机使用的耗材之一,就是在一面涂上蜡基、树脂基或混合基油墨的一种聚脂薄膜,在没有油墨的一面涂上润滑剂以防止打印头磨损,条码碳带上的油墨在打印机打......
锂电池专用胶带用途及选用方法解析胶带看似只用一张薄膜涂上胶水那么简单,其实为配套锂电池生产的特殊环境和特殊要求,锂电池胶带和锂电保护膜胶带由多种基材配以各种胶水和底涂剂、隔离剂等不同处理,使之......
镭射烫金纸的分类介绍镭射烫金纸的分类有很多种,可以分为镭射镀铝膜、镭射转移膜、镭射彩虹膜等。下面我们就来了解一下镭射烫金纸的分类介绍。1.镭射镀铝膜镭射烫金纸是经真空镀铝加工而成;......
高速分切机表面开槽压辊的制作方法本实用新型涉及一种高速分切机表面开槽压辊,可用于展平塑料薄膜;排除塑料薄膜层间空气;减少收卷时底绉,提高薄膜利用率。...
用于分切机的纸管气胀夹头装置制造方法本实用新型涉及一种用于分切机的纸管气胀夹头装置。...
全自动纸张分切机的制作方法纸张分切机是一款将卷筒纸分切成所需长度的纸张的纸张加工设备,广泛用于纸张加工领域以及印刷领域。...
光学PET薄膜在电子领域的应用光学级PET保护膜具备低雾度和高透光度、表面光滑度高、薄厚尺寸公差小等优异的光学特性,关键用以高档液晶显示屏器械中的外扩散膜、提亮膜、反射膜、防静电保护膜、触摸......
烫金纸烫金有哪些技巧烫金是一种常见的工艺印刷艺术。但要是想做好一项烫金纸烫印好的也是一门艺术。那么烫金纸烫金上有什么技巧呢?下面我们一起来了解一下烫金纸烫金的技巧有哪些吧1.了解产......
电解铜箔多卷同步分切机的制作方法本实用新型涉及一种电解铜箔在分切过程中多卷同步收卷的分切机。...
一种铜箔分切机收卷压辊装置的制造方法【技术领域】[0001]本实用新型涉及分切机技术领域,尤其涉及一种铜箔分切机收卷压辊装置。【背景技术】[0002]铜箔多卷分切机一般由开卷、导向辊再向切刀轴进行......
一种全自动污点检测分切复卷机的制作方法本实用新型涉及一种污点检测分切复卷机,特别是一种用于无纺布的全自动污点检测分切复卷机。背景技术:无纺布是一种非织造布,它是直接利用高聚物切片、短纤维或长丝将纤维......
扩散膜是什么,什么材质,它的作用是什么LCD背光源的材质构成当中, 扩散膜是其中不可缺少的材料之一。它是一种由特殊的材质使用科学的制造工艺制成的,那么,下面小编就来为大家介绍下扩散膜是什么材质。1、......
电化铝先烫金后印的注意事项电化铝为什么要进行一个先烫金后印的步骤呢?这里面有没有什么需要注意的事项?今天小编就给大家讲述一下电化铝先烫金后印的注意事项吧1、调整烫印版的准确位置,以确保烫......
一种用于电解铜箔分切生产中保持导辊同步运转的结构的制作方法1.本实用新型涉及电解铜箔生产技术领域,尤其涉及一种用于对电解铜箔分切生产过程中保持导辊同步转动的结构。背景技术:2.在电解铜箔分切过程中,由于铜箔分切生产设备......