服务热线
180-5003-0233
分切机用上卷装置的制造方法本实用新型涉及造纸机械设备领域,更具体地说,它涉及一种分切机用上卷装置。...
导致薄膜分切质量不良的原因有哪些薄膜分切后的质量与分切过程中设定的工艺参数有密切关系。那么,薄膜分切后可能会有哪些质量缺陷以及产生的主要原因是什么?分切工艺对薄膜分切质量的影响,薄膜分切后的质......
怎么鉴定条码碳带的好坏不同的条码打印机对介质的要求不同,现在越来越多的公司生产碳带。由于竞争,普通热转印碳带的价格越来越低,普通用户需要购买到物美价廉的条码碳带并非易事。要购买便宜且......
选择烫金纸有哪些注意事项我们在选择烫金纸的时候需要注意哪些事项呢?今天我们就来了解一下选择烫金纸需要注意的事项。1、首先了解产品的底材。需要烫金的底材决定了选择烫金纸的系列。常用需要烫......
卷筒纸分切设备的防静电切纸装置的制作方法本实用新型涉及纸张分切设备技术领域,具体为卷筒纸分切设备的防静电切纸装置。背景技术:卷筒纸分切设备是卷筒分切设备中功能很强大一款,也可以称呼为卷筒纸切纸机,高速......
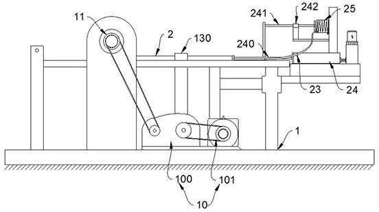
一种用于分切机的输送机构的制作方法1.本实用新型涉及分切机领域,具体而言,涉及一种用于分切机的输送机构。背景技术:2.分切机广泛应用于纸片或纸板的切割,如在生产纸杯纸碗时,需将面积较大的纸片(纸......
烫金纸在烫印时有哪些常见故障我们在使用烫金纸烫印的时候有什么是比较常见的故障呢?大家有没有了解过呀。没有了解过的也没关系,今天小编就来给大家介绍一下烫金纸在烫印的时候有哪些是常见的故障。1......
PE保护膜的应用环境及耐高温性能为了防止静电材料的表面迁移,PE保护膜无毒、无味、环保,具有良好的效果。因此,这种保护膜可用于包装材料、插板和显示器中,以达到预期的效果。PE保护膜在生产过程中......
静电对于条码碳带的打印效果影响有多大热转印打印中一直存在静电的产生和释放,这主要是由条码碳带和打印机机械之间的摩擦引起的,包括与打印头的摩擦。研究表明,静电与打印头的寿命之间没有直接关系。但是已应......
双面防静电聚酰亚胺胶带加工用分切装置的制作方法1.本实用新型涉及聚酰亚胺胶带加工技术领域,尤其涉及双面防静电聚酰亚胺胶带加工用分切装置。背景技术:2.聚酰亚胺胶带,是以聚酰亚胺薄膜为基材,采用进口有机硅压敏......
一种水驻极分切机在线疵点监测及处理装置的制作方法1.本实用新型涉及一种水驻极分切机在线疵点监测及处理装置,属于熔喷布生产技术领域。背景技术:2.水驻极熔喷布在生产过程工序较长,要经过基布的制备、水驻极工序、烘......
铜版纸不干胶标签用什么碳带打印铜版纸标签是最常用的标签材料之一,与其他标签相比,铜版纸标签有着比较毛糙的表面和较低的价格,可以解决许多基础信息标签的需求。1、一般来说,碳带的耐刮擦性是主要因......
热转印常用到的PET离型膜介绍PET离型膜是热转印常用到的一种材料,底材是PET,经过涂布硅油而成所以也叫硅油膜。常规厚度从25um至150um。有冷热撕和光哑面之分,经过防静电和防划伤处理......
烫金纸氧化怎么处理我们在使用烫金纸的时候,如果氧化了我们如何处理呢?今天我们就来了解一下烫金纸遇到氧化时的处理方法。1.基础层主要效果是支持它.上面的各涂层,方便于加工时的连续烫......
一种PE泡棉生产用分切装置的制作方法本实用新型涉及pe泡棉技术领域,具体为一种pe泡棉生产用分切装置。背景技术:泡棉是塑料粒子发泡过的材料,简称泡棉。泡棉分为pu泡棉,防静电泡棉,导电泡棉,epe......