服务热线
180-5003-0233
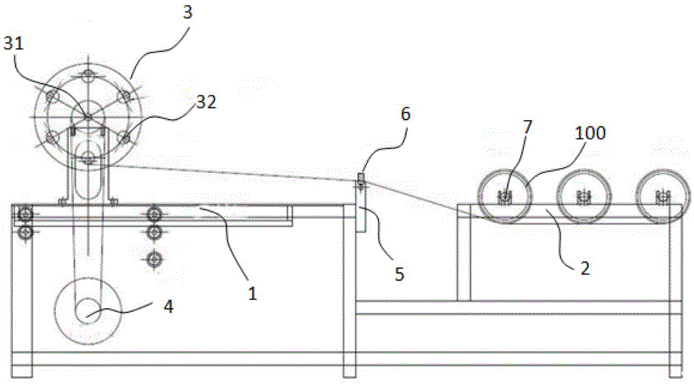
薄膜分切复卷机可显著提升效率和品质薄膜分切复卷机作为薄膜加工过程中的关键设备,具有分切和复卷两大功能,可以显著提高薄膜的加工效率和品质。...
一种分切复卷机收卷平齐的收卷压辊的制作方法在收卷的过程中对产生的震动进行缓冲,提高设备运行的稳定性。...
PET膜和PVC膜的区别及特点聚酯复合薄膜(PET)是以聚对苯二甲酸乙二醇酯为原材料,使用的挤出法制成厚片,再经拉伸可以制成的薄膜进行材料。...
复合材料包装膜分切机的制作方法工作效率高,人力成本低,同时解决了薄膜接头在收卷缠绕过程中容易脱落,人工粘接较为复杂的技术问题。...
一种可除静电的纸张分切机的制作方法具备除静电设备便于拆卸维护和刀片便于拆卸更换的优点,解决了现有的纸张分切机不方便对除静电设备和刀片进行更换维修的问题。...
PE保护膜的用途和常见质量问题的在生产加工,运输,贮存和使用过程中不受污染,腐蚀,划伤,保护原有的光洁亮泽的表面,从而提高产品的质量。...
一种稳定安全的医用气刀分切机的制作方法对设备工作时产生的噪音进行阻绝,并采用分体式对高气压腔室内的气压进行控制,使气刀喷嘴喷射出均匀的气流,从而提高该设备的切割质量。...
一种背胶防尘网的全自动分切贴合装置的制作方法便于材料加工,通过承压板的可调性,便于防护加工材料不被损毁。便于防护加工材料不被损毁。...
为什么PET薄膜表面要进行电晕处理呢?那电晕是什么呢?PET薄膜的表面是十分光滑的,表面张力很小,对水和油墨的亲和力很弱,因此需要增加表面的张力,最常用的处理方法就是电晕处理。...
一种宽度可调的全自动分切机的制作方法不能随意改变,在需要进行调整时,需要更换整个转轴和安装辊,非常麻烦,为此我们提出一种一种宽度可调的全自动分切机。...
一种带有膨胀式夹头的全自动原纸分切机的制作方法旨使分切机能随时调配轴与纸管之间的压力,使分切机从启动到刹车,一直处于稳定状态。...
分切机:定制材料的尺寸,提升灵活性凭借多样化刀具配置与精密控制系统,它能够准确无误地完成纸张、薄膜、金属箔等多种材质的分切作业,满足不同行业的定制需求。...
一种原纸残尾纸平张分切机的制作方法人工切割效率低下,增加了生产成本。因此,有必要开发一种原纸残尾纸平张分切机,以提升原纸残尾纸的分切效率。...
一种基于PLC控制的全自动分切机的制作方法大大提高工作效率,比较实用,整个分切机结构简单,操作方便,系统运行和切割包装效果相对于传统方式更好。...
主动放卷装置的制作方法本实用新型涉及一种包装材料加工设备,更具体地说涉及一种主 动放巻装置。...