服务热线
180-5003-0233
分切机制造商综合实力比较分切机厂家凭借其在技术创新、产品质量和服务体系上的全面优势,成为了行业发展的风向标。...
一种铝箔分切机入口铝粉吸附装置的制作方法可以有效解决滤波分切中铝粉污染成品铝箔卷问题,并且维护方便、结构简单、节能环保的铝粉吸附设备。...
锂电池分切机的主要应用及其技术特点锂电池分切机在电池生产过程中扮演着至关重要的角色,其主要功能是将预先制备好的电极片材料精确地分割成所需的尺寸,以组装成锂电池的正负极。...
一种铝箔分切机吸边装置的制作方法提供一种铝箔分切机吸边装置,能将切边铝箔吸走也能快速收集产生的铝粉,减少产品上形成的麻点,提高成品质量。...
分切机在两大行业中的应用价值与技术优势分切机作为薄膜、纸张加工行业中的关键设备,凭借其精准切割与快速生产的能力,提升了材料加工的效率与质量。...
一种可自由调节长度的烫金纸多段切割机的制作方法提高了切割效率,同时还能对不同大小的烫金纸进行切割操作的可自由调节长度的烫金纸多段切割机。...
分切机厂家在生产效率中的探索面对产业升级的迫切需求,分切机厂家积极融入智能制造浪潮,通过智能化升级探索生产效率的新高度。...
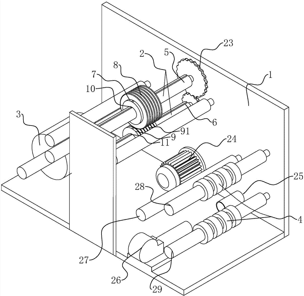
一种烫金纸切割机的制作方法根据实际生产的情况,需要不同尺寸的烫金纸,此时需要用分切机对卷筒烫金纸进行分切处理以符合所需要宽度的产品。...
分切机厂家如何满足市场多样化需求的策略与方案面对日益增长的市场多样化需求,分切机厂家积极调整策略,力求在竞争激烈的环境中保持领先地位。...
一种新型COF分切机张力控制装置的制作方法针对现有技术的不足,本发明提供了一种新型cof分切机张力控制装置,解决了现有技术中存在的缺陷与不足。...
分切机在材料处理中的灵活性与重要性不断的技术探索与定制化服务,正推动分切机行业向更高层次的功能整合与能效提升迈进。...
一种立式分切机的制作方法这样切刀切开铝箔带材时产生的铝粉和铝箔碎屑就能及时被吸风口吸干净,不会掉落到刀槽辊上,彻底解决亮线和硌坑问题,提高了产品质量。...
分切机在薄膜加工行业的核心价值现代分切机采用创新技术,实现薄膜材料的连续高速裁切与分条,显著提升生产效率。...
锂电池隔膜分切机的纠偏机构的制作方法本实用新型的目的是提供一种锂电池隔膜分切机的纠偏机构,其结构简单、安装方便。...
一种可调节式分切机的制作方法提供一种可调节式分切机,具有提高其分切机适用于切割不同宽度纸带的作用。...