行业新闻

当前位置:首页/新闻中心/行业新闻

金属化薄膜分切机的制作方法

2024年09月13日国知局浏览量:0

金属化薄膜分切机的制作方法

【技术领域】

[0001]本实用新型涉及一种金属化膜生产,更具体地说,它涉及一种金属化薄膜分切机。

【背景技术】

[0002]金属化膜就是在BOPP膜或BOPET膜表面蒸镀金属铝和锌,形成金属镀层,根据用户需求金属镀层宽度,在金属镀层一侧保留一条具有一定宽度的空白留边,称为屏带,空白留边区必须清晰无镀层,空白留边区和金属镀层之间连接清晰,不能有模糊不清的缓冲区。

[0003]腔体表面设置有挡板,挡板上沿长度方向设置有向薄膜表面喷射油蒸汽的喷嘴,每个喷嘴对应薄膜上的一条设置空白留边的屏带。加热后的油蒸汽由两端进入喷涂装置内,经挡板上的喷嘴喷涂至薄膜表面相应的区域。

[0004]而在实际的生产中,人们需要不时的调整屏带在设备中的安装位置,从而实现对金属化膜上空白留边进行调整的目的,但是现有的设备中不仅仅屏带位置难以调节,而且在调节完成后,不容易使得屏带重新张紧,这样大大影响了其金属化薄膜分切机的使用。

【实用新型内容】

[0005]针对现有技术存在的不足,本实用新型的目的在于提供一种方便张紧安装屏带的金属化薄膜分切机。

[0006]为实现上述目的,本实用新型提供了如下技术方案:一种金属化薄膜分切机,包括切分机本体,所述切分机本体上设有用于在薄膜上喷涂金属镀层的工作腔,所述切分机本体上设有滚轴和屏带,所述切分机本体上还设有用于张紧屏带的张紧辊,所述张紧辊上设有用于安装屏带的安装槽。

[0007]优选的,所述的张紧辊包括固定设置在切分机本体上的固定轴、套设置在固定轴上的张紧支架和旋转滚轴,所述张紧支架包括旋转套筒、连接杆和旋转轴,所述旋转套筒旋转套设在固定轴上,所述连接杆平行固定在旋转套筒侧壁上,所述连接杆上远离旋转套筒的末端分别与旋转轴两端固定连接,所述旋转滚轴套设在旋转轴上,所述安装槽圆周设置在旋转滚轴侧壁。

[0008]通过采用上述技术方案,通过在切分机本体上设置在张紧辊并且在张紧辊上还设置若干间隔设置在安装槽,这样既能够大大方便人们在本设备上调节屏带的位置,而且还能够通过张紧辊的作用快速轻松的完成对屏带的张紧工作。

【附图说明】

[0009]图1为本实用新型金属化薄膜分切机的结构示意图;

[0010]图2为本实用新型金属化薄膜分切机带有剖面的放大图。

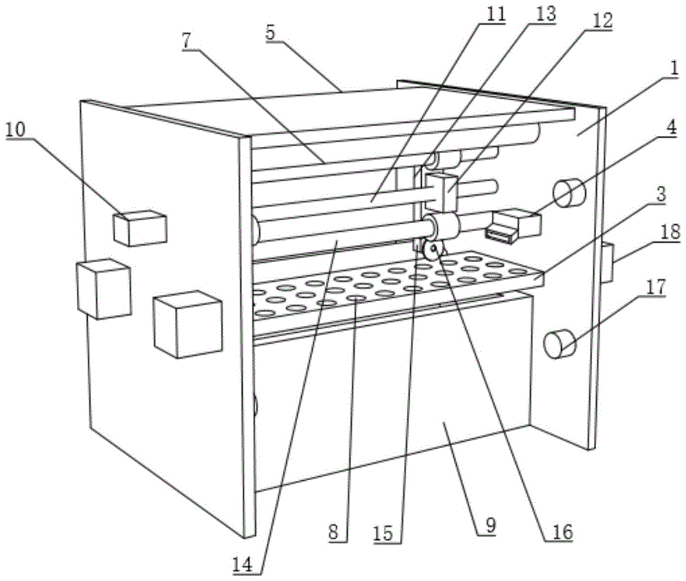
[0011 ]附图标记:1、切分机本体;2、工作腔;3、滚轴;4、屏带;5、张紧辊;51、固定轴;52、连接杆;53、旋转轴;54、旋转套筒;55、旋转滚轴;56、安装槽。

【具体实施方式】

[0012]参照图1至图2对本实用新型金属化薄膜分切机实施例做进一步说明。

[0013]—种金属化薄膜分切机,包括切分机本体I,所述切分机本体I上设有用于在薄膜上喷涂金属镀层的工作腔2,所述切分机本体I上设有滚轴3和屏带4,所述切分机本体I上还设有用于张紧屏带4的张紧辊5,所述张紧辊5上设有用于安装屏带4的安装槽56。通过在切分机本体I上设置在张紧辊5并且在张紧辊5上还设置若干间隔设置在安装槽56,这样既能够大大方便人们在本设备上调节屏带4的位置,而且还能够通过张紧辊5的作用快速轻松的完成对屏带4的张紧工作。

[0014]所述的张紧辊5包括固定设置在切分机本体I上的固定轴51、套设置在固定轴51上的张紧支架和旋转滚轴55,所述张紧支架包括旋转套筒54、连接杆52和旋转轴53,所述旋转套筒54旋转套设在固定轴51上,所述连接杆52平行固定在旋转套筒54侧壁上,所述连接杆52上远离旋转套筒54的末端分别与旋转轴53两端固定连接,所述旋转滚轴55套设在旋转轴53上,所述安装槽56圆周设置在旋转滚轴55侧壁。整个张紧辊5通过张紧支架套设在固定轴51上完成对张紧辊5的安装,这样就能够使得设置在张紧支架另一端的旋转滚轴55就能够通过重力的作用自由下垂,这时其旋转滚轴55就能够与设置在切分机本体I上的屏带4相切,从而完成对屏带4的张紧工作,而且通过若干圆周设置在旋转滚轴55壁上的安装槽56的作用,只需要将屏带4移动到其他的安装槽56上就能够完成对屏带4位置的调整工作,方便快捷。

[0015]以上所述仅是本实用新型的优选实施方式,本实用新型的保护范围并不仅局限于上述实施例,凡属于本实用新型思路下的技术方案均属于本实用新型的保护范围。应当指出,对于本技术领域的普通技术人员来说,在不脱离本实用新型原理前提下的若干改进和润饰,这些改进和润饰也应视为本实用新型的保护范围。

【主权项】

1.一种金属化薄膜分切机,包括切分机本体,所述切分机本体上设有用于在薄膜上喷涂金属镀层的工作腔,所述切分机本体上设有滚轴和屏带,其特征是:所述切分机本体上还设有用于张紧屏带的张紧辊,所述张紧辊上设有用于安装屏带的安装槽。2.根据权利要求1所述的金属化薄膜分切机,其特征是:所述张紧辊包括固定设置在切分机本体上的固定轴、套设置在固定轴上的张紧支架和旋转滚轴,所述张紧支架包括旋转套筒、连接杆和旋转轴,所述旋转套筒旋转套设在固定轴上,所述连接杆平行固定在旋转套筒侧壁上,所述连接杆上远离旋转套筒的末端分别与旋转轴两端固定连接,所述旋转滚轴套设在旋转轴上,所述安装槽圆周设置在旋转滚轴侧壁。

【专利摘要】本实用新型公开了一种金属化薄膜分切机,包括切分机本体,所述切分机本体上设有用于在薄膜上喷涂金属镀层的工作腔,所述切分机本体上设有滚轴和屏带,所述切分机本体上还设有用于张紧屏带的张紧辊,所述张紧辊上设有用于安装屏带的安装槽。通过在切分机本体上设置在张紧辊并且在张紧辊上还设置若干间隔设置在安装槽,这样既能够大大方便人们在本设备上调节屏带的位置,而且还能够通过张紧辊的作用快速轻松的完成对屏带的张紧工作。

【IPC分类】C23C14/56, C23C14/04

【公开号】CN205170967

【申请号】CN201520891397

【发明人】林卫良, 苏继轼

【申请人】温岭市华航电子科技有限公司

【公开日】2016年4月20日

【申请日】2015年11月10日

Baidu
ac米兰APP软件下载