行业新闻

当前位置:首页/新闻中心/行业新闻

一种金属化薄膜分切机高摩擦力型膜辊的制作方法

2024年08月31日国知局浏览量:0

一种金属化薄膜分切机高摩擦力型膜辊的制作方法

【专利说明】

[0001]技术领域:

[0002]本实用新型涉及电容器生产设备领域,尤其涉及一种金属化薄膜分切机高摩擦力型膜辊。

[0003]【背景技术】:

[0004]通常的薄膜电容器其制法是将铝等金属箔当成电极和塑料薄膜重叠后卷绕在一起制成。但是另外薄膜电容器又有一种制造法,叫做金属化薄膜(Metallized Film),其制法是在塑料薄膜上以真空蒸镀上一层很薄的金属以做为电极。如此可以省去电极箔的厚度,缩小电容器单位容量的体积,所以薄膜电容器较容易做成小型,容量大的电容器。例如常见的MKP电容,就是金属化聚丙稀膜电容器(Metailized Polypropylene FilmCapacitor)的代称,而MKT则是金属化聚乙酯电容(Metailized Polyester)的代称。

[0005]金属化薄膜电容器所使用的薄膜有聚乙酯、聚丙烯、聚碳酸酯等,除了卷绕型之外,也有叠层型。金属化薄膜这种型态的电容器具有一种所谓的自我复原作用(SelfHealing Act1n),即假设电极的微小部份因为电界质脆弱而引起短路时,引起短路部份周围的电极金属,会因当时电容器所带的静电能量或短路电流,而引发更大面积的溶融和蒸发而恢复绝缘,使电容器再度恢复电容器的作用。

[0006]在生产金属化薄膜电容器所使用的薄膜时必需用到金属化薄膜分切机,而国内以往的金属化薄膜分切机,其薄膜辊子大多是光滑辊子,与薄膜之间的摩擦力小,容易出现打滑现象,造成产品质量问题,亦有少量产品在薄膜辊子外设置条状花纹,虽然改善了摩擦力问题,但辊子寿命较短,往往使用几个月后就需要更换,不但麻烦,还给企业带来经济损失。因此设想提供一种设备来解决这一问题。

[0007]【实用新型内容】:

[0008]本实用新型的目的就是提供一种金属化薄膜分切机高摩擦力型膜辊,解决在生产金属化薄膜电容器所使用的薄膜时必需用到金属化薄膜分切机,而国内以往的金属化薄膜分切机,其薄膜辊子大多是光滑辊子,与薄膜之间的摩擦力小,容易出现打滑现象,造成产品质量问题,亦有少量产品在薄膜辊子外设置条状花纹,虽然改善了摩擦力问题,但辊子寿命较短,往往使用几个月后就需要更换,不但麻烦,还给企业带来经济损失的问题。

[0009]本实用新型采用的技术方案为:

[0010]一种金属化薄膜分切机高摩擦力型膜辊,包括辊体:辊体外套装有辊套;辊套外表面设置有若干凸起条纹,凸起条纹构成人字型花纹。

[0011]所述辊套采用甲基乙烯基硅橡胶使用模具制成,厚度为2-5cm。

[0012]与现有技术相比,本实用新型的有益效果在于:

[0013]本实用新型通过在辊子上套装具有人字型花纹,能够有效增加薄膜和辊子之间的摩擦力,且此结构受力合理,耐磨性能好,整体寿命比同类产品提高好几倍,适合推广使用。

[0014]【附图说明】:

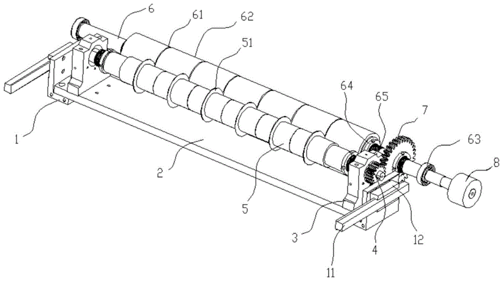
[0015]附图1为本实用新型结构示意图;

[0016]附图2为本实用新型辊套外表面局部放大图。

[0017]【具体实施方式】:

[0018]下面结合附图,通过实施例对本实用新型作进一步详细说明:

[0019]一种金属化薄膜分切机高摩擦力型膜辊,包括辊体:辊体I外套装有辊套2 ;辊套2外表面设置有若干凸起条纹3,凸起条纹3构成人字型花纹;辊套2优选甲基乙烯基硅橡胶使用模具制成,厚度为2-5cm。

[0020]上述实施例仅为本实用新型的较佳的实施方式,除此之外,本实用新型还可以有其他实现方式。需要说明的是,在没有脱离本实用新型构思的前提下,任何显而易见的改进和修饰均应落入本实用新型的保护范围之内。

【主权项】

1.一种金属化薄膜分切机高摩擦力型膜辊,包括辊体,其特征在于:辊体外套装有辊套;辊套外表面设置有若干凸起条纹,凸起条纹构成人字型花纹。2.根据权利要求1所述的金属化薄膜分切机高摩擦力型膜辊,其特征在于:所述辊套采用甲基乙烯基硅橡胶使用模具制成,厚度为2-5cm。

【专利摘要】本实用新型公开了一种金属化薄膜分切机高摩擦力型膜辊,包括辊体:辊体外套装有辊套;辊套外表面设置有若干凸起条纹,凸起条纹构成人字型花纹。辊套优选甲基乙烯基硅橡胶使用模具制成,厚度为2-5cm。本实用新型通过在辊子上套装具有人字型花纹,能够有效增加薄膜和辊子之间的摩擦力,且此结构受力合理,耐磨性能好,整体寿命比同类产品提高好几倍,适合推广使用。

【IPC分类】B65H27/00

【公开号】CN204751636

【申请号】CN201520223851

【发明人】荚朝辉, 尹元锋, 张中海

【申请人】铜陵其利电子材料有限公司

【公开日】2015年11月11日

【申请日】2015年4月14日

Baidu
ac米兰APP软件下载