服务热线
180-5003-0233

本实用新型属于金属加工设备领域,具体涉及一种电池箔分切机专用刀槽辊定位装置。
背景技术:
目前行业内现有的电池铝箔分切机没有专用的刀槽定位辊,由于产品规格较多,且某些产品的尺寸比较特殊,所以在圆盘刀定位时出现比较麻烦、定位不准确的现象出现,造成产品的生产成本较高。
技术实现要素:
因此,为了克服上述现有技术的缺点,本实用新型提供一种电池箔分切机专用刀槽辊定位装置,以减少定位时间,提高定位准确性。
为了实现上述目的,提供一种电池箔分切机专用刀槽辊定位装置,
包括电池箔分切机专用刀槽辊定位装置本体;
设置于所述分切机本体上的刀槽辊;
设置于所述分切机本体上的分卷导辊;
刀架,所述刀架设置于所述刀槽辊的一侧,所述刀架能够相对于所述刀槽辊左右移动;
分切刀,所述分切刀设置于所述刀架上,且所述刀槽辊上设置有与所述分切刀配合的两个以上的分切刀定位结构,所述分切刀
定位结构能够限定所述分切刀在所述刀槽辊上的位置,从而限定所述电池箔的分切宽度。
进一步地,还包括控制装置,所述控制装置根据电池箔的预设分切宽度,控制所述刀架带动分切刀移动至所述分切刀定位结构,从而限定所述电池箔的分切宽度。
进一步地,还包括刀架导轨,所述刀架设置于所述刀架导轨上,能够沿所述刀架导轨往复移动。
进一步地,还包括放卷机构、张力辊和收卷机构,电池箔经放卷机构开卷后通过张力辊导入分切机构进行分切,完成分切的电池箔最终通过收卷机构进行卷取。
进一步地,所述分切刀定位结构包括位于所述刀槽辊表面的定位刀槽。
进一步地,所述定位刀槽的宽度为1mm。
与现有技术相比,本实用新型的电池箔分切机专用刀槽辊定位装置,在钢辊表面加工刀槽,可根据产品规格需求自由调整切刀的位置,可根据两个不同刀槽的距离及位置改变剪切宽度,提高了产品结构的合理性、使用的可靠性和简便性,有效提高了生产效率。且成本低,有利于实现批量化作业生产。
附图说明
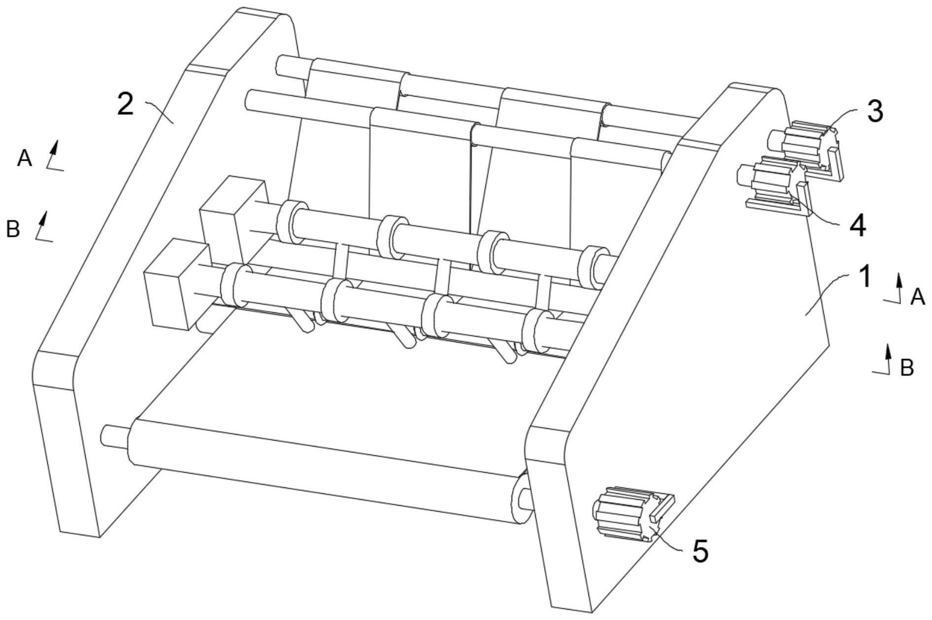
图1为本实用新型一个实施例中的电池箔分切机专用刀槽辊定位装置的示意图。
具体实施方式
为使本实用新型的目的、技术方案和优点更加清楚明白,以下结合具体实施例,并参照附图,对本实用新型进一步详细说明。
在本实用新型的一个实施例中,如图1所示,提供一种电池箔分切机专用刀槽辊定位装置,
包括电池箔分切机专用刀槽辊定位装置本体1;
设置于所述分切机本体1上的刀槽辊2;
设置于所述分切机本体1上的分卷导辊3;
刀架,所述刀架设置于所述刀槽辊2的一侧,所述刀架能够相对于所述刀槽辊2左右移动;
分切刀,所述分切刀设置于所述刀架上,且所述刀槽辊2上设置有与所述分切刀配合的两个以上的分切刀定位结构4,所述分切刀定位结构4能够限定所述分切刀在所述刀槽辊2上的位置,从而限定所述电池箔的分切宽度。
为了进一步提高生产效率和分切精确性,在一个实施例中,还包括控制装置,所述控制装置根据电池箔的预设分切宽度,控制所述刀架带动分切刀移动至所述分切刀定位结构4,从而限定所述电池箔的分切宽度。
在一个实施例中,上述分切机还包括刀架导轨,所述刀架设置于所述刀架导轨上,能够沿所述刀架导轨往复移动。
在一个实施例中,还包括放卷机构、张力辊和收卷机构,电池箔经放卷机构开卷后通过张力辊导入分切机构进行分切,完成分切的电池箔最终通过收卷机构进行卷取。
在一个实施例中,所述分切刀定位结构4包括位于所述刀槽辊2表面的定位刀槽41。
在一个实施例中,所述定位刀槽的宽度为1mm,不同的刀槽之间可以剪切不同规格宽度,减少大量工时,实现精准定位剪切。
以上所述仅为本实用新型的较佳实施例而已,并不用以限制本实用新型,凡在本实用新型的精神和原则之内所作的任何修改、等同替换和改进等,均应包含在本实用新型的保护范围之内。以上所述仅是本实用新型的优选实施方式,应当指出,对于本技术领域的普通技术人员来说,在不脱离本实用新型技术原理的前提下,还可以做出若干改进和变型,这些改进和变型也应视为本实用新型的保护范围。
技术特征:
1.一种电池箔分切机专用刀槽辊定位装置,其特征在于,包括电池箔分切机专用刀槽辊定位装置本体;设置于所述分切机本体上的刀槽辊;设置于所述分切机本体上的分卷导辊;刀架,所述刀架设置于所述刀槽辊的一侧,所述刀架能够相对于所述刀槽辊左右移动;分切刀,所述分切刀设置于所述刀架上,且所述刀槽辊上设置有与所述分切刀配合的两个以上的分切刀定位结构,所述分切刀定位结构能够限定所述分切刀在所述刀槽辊上的位置,从而限定所述电池箔的分切宽度。
2.如权利要求1所述的电池箔分切机专用刀槽辊定位装置,其特征在于,还包括控制装置,所述控制装置根据电池箔的预设分切宽度,控制所述刀架带动分切刀移动至所述分切刀定位结构,从而限定所述电池箔的分切宽度。
3.如权利要求1所述的电池箔分切机专用刀槽辊定位装置,其特征在于,还包括刀架导轨,所述刀架设置于所述刀架导轨上,能够沿所述刀架导轨往复移动。
4.如权利要求1所述的电池箔分切机专用刀槽辊定位装置,其特征在于,还包括放卷机构、张力辊和收卷机构,电池箔经放卷机构开卷后通过张力辊导入分切机构进行分切,完成分切的电池箔最终通过收卷机构进行卷取。
5.如权利要求1所述的电池箔分切机专用刀槽辊定位装置,其特征在于,所述分切刀定位结构包括位于所述刀槽辊表面的定位刀槽。
6.如权利要求5所述的电池箔分切机专用刀槽辊定位装置,其特征在于,所述定位刀槽的宽度为1mm。
技术总结
本实用新型提供一种电池箔分切机专用刀槽辊定位装置,包括电池箔分切机专用刀槽辊定位装置本体;设置于所述分切机本体上的刀槽辊;设置于所述分切机本体上的分卷导辊;刀架,所述刀架设置于所述刀槽辊的一侧,所述刀架能够相对于所述刀槽辊左右移动;分切刀,所述分切刀设置于所述刀架上,且所述刀槽辊上设置有与所述分切刀配合的两个以上的分切刀定位结构,所述分切刀定位结构能够限定所述分切刀在所述刀槽辊上的位置,从而限定所述电池箔的分切宽度。可根据产品规格需求自由调整切刀的位置,可根据两个不同刀槽的距离及位置改变剪切宽度,提高了产品结构的合理性、使用的可靠性和简便性,有效提高了生产效率。且成本低,有利于实现批量化作业生产。
技术研发人员:顾俊;李飞;周碧福
受保护的技术使用者:杭州五星铝业有限公司
技术研发日:2019.12.27
技术公布日:2020.12.08