服务热线
180-5003-0233

本发明涉及一种绝缘皱纹纸管加工用上料装置,属于绝缘皱纹纸管生产设备技术领域。
背景技术:
电工绝缘皱纹纸经电工绝缘纸起皱加工而成,具有良好的绝缘性能和机械强度,是电缆、线圈等各种电器设备的绝缘材料,呈管形的电工绝缘纸主要用于油浸式变压器器身内高、低抽头及螺杆外绝缘,具有可靠的柔韧性和任意方向折弯不断裂的优异性,而受广泛好评。现有技术中的绝缘皱纹纸管呈管加工时,需裁切呈一定长度的纸材,下料在涂胶卷管设备中卷制成型,特别是当纸材横幅较长较薄时,常常存在难以顺利平稳进入卷制设备的缺陷,导致纸管成型质量不高,甚至卡滞卷纸设备的,导致停机检修,制约了生产效率,同时裁切好的皱纹纸经收集后,再转运,也增加了人工和设备成本,还会对裁切好的纸张造成不必要的叠压损伤。
技术实现要素:
本发明的目的是针对现有技术的缺陷,提供一种绝缘皱纹纸管加工用上料装置,可连续裁切绝缘皱纹纸,并在传送带、带滚动压紧机构的两个下料辊作用下,直接依次稳定平稳地下料,以便后续稳定地卷制加工,提高绝缘皱纹纸管的加工效率和质量、降低成本。
本发明是通过如下的技术方案予以实现的:
一种绝缘皱纹纸管加工用上料装置,包括机架,其中,由机架一端至另一端,所述机架上依次设有料卷辊、折料辊、第一传送机构、裁切机构和传送带,所述折料辊位于料卷辊和第一传送机构的侧底部,所述第一传送机构包括两个对向旋转的传送辊,所述第一传送机构的数目至少为两个,两个传送辊分别与机架之间设有第一辊轴座和第二辊轴座,所述第二辊轴座与机架之间设有升降调节机构;
所述裁切机构包括裁切刀和裁切刀两侧的压板,所述裁切刀顶部与机架之间设有升降驱动机构,所述压板与裁切刀之间设有弹性机构,所述弹性机构包括导向套、导向柱和第三弹簧,所述导向套与裁切刀顶部固定相连,所述导向柱一端穿过第三弹簧与压板相连,另一端穿过导向套设有调节螺母,所述调节螺母与导向柱之间设有配合螺纹;
所述机架上设有同向旋转的第一下料辊和第二下料辊,所述第一下料辊与传送带位于裁切机构同侧,所述第二下料辊与第一下料辊之间设有平台,所述平台顶部与机架之间设有与第一下料辊和第二下料辊配合使用的滚动压紧机构;
所述滚动压紧机构包括偏转轴、若干压紧滚架和导向滚架,所述偏转轴穿过间隔设置的若干压紧滚架和导向滚架,且与机架之间设有步进电机,所述压压紧滚架和导向滚架上均设有螺纹孔,所述螺纹孔内设有定位螺栓,所述定位螺栓,所述压紧滚架和导向辊架上分别设有第一滚轮和第二滚轮,所述第一滚轮位于第一下料辊和传送带之间,所述第二辊轮位于第二下料辊顶部。
本发明的有益效果为:
本发明结构新颖紧凑、设计合理、使用方便,(1)采用可调节的传送辊间距的传送机构,使绝缘皱纹纸卷经料卷辊、折料辊和传送辊张紧传送,在裁切机构的压板作用下压紧高精度裁切,可连续升降裁切;(2)由于传送机构传送,经裁切的绝缘皱纹纸大部分铺展在传送带和第一下料辊上,经传送带、第一下料辊依次开启传送,最终在第二下料辊一侧下料,装置结构紧凑,可减小车间空间;(3)采用滚动压紧机构,在可偏转升降的第一滚轮、第二滚轮滚动摩擦下,保证绝缘皱纹纸被压住平稳无翻翘地导向下料,以便后续稳定地卷制加工,提高绝缘皱纹纸管的加工效率和质量、降低成本。
附图说明
图1为本发明正视结构图。
图2为本发明俯视图。
图3为本发明后视结构图。
图4为本发明裁切机构结构图。
图5为本发明压紧滚架和导向滚架结构图。
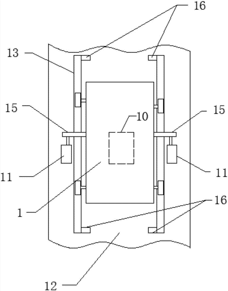
(图中,机架1,料卷辊2、折料辊3、第一传送机构4、裁切机构5和传送带6,支架7,滑套8,滑杆9,第一弹簧10,传送辊11,第一旋转电机12,第一辊轴座13和第二辊轴座14,升降调节机构15,螺杆16和螺套17,手轮18,第二弹簧19,裁切刀20,压板21,升降驱动机构22,弹性机构23,液压杆24,导向套25、导向柱26和第三弹簧27,调节螺母28,配合螺纹29,第一下料辊30和第二下料辊31,平台32,滚动压紧机构33,偏转轴34、压紧滚架35和导向滚架36,步进电机37,螺纹孔38,定位螺栓39,第一滚轮40和第二滚轮41,下料导板42,弧形挡板43,第二旋转电机44)。
具体实施方式
下面结合附图对本发明的具体实施方式作进一步说明。
一种绝缘皱纹纸管加工用上料装置,包括机架1,其中,由机架1一端至另一端,所述机架1上依次设有料卷辊2、折料辊3、第一传送机构4、裁切机构5和传送带6,所述折料辊3位于料卷辊2和第一传送机构4的侧底部,所述折料辊3两端设有支架7,所述支架7端部设有滑套8,所述滑套8内与机架1之间设有滑杆9,所述滑杆9外与滑套8两侧设有第一弹簧10,使折料辊3受张紧力和第一弹簧10的弹性压力作用,自动升降调节,始终保持绕过折料辊3的绝缘皱纹纸张紧适宜;
所述第一传送机构4包括两个对向旋转的传送辊11,传送辊11通过连接独立的第一旋转电机12实现对向旋转,所述第一传送机构4的数目至少为两个,两个传送辊11分别与机架1之间设有第一辊轴座13和第二辊轴座14,所述第二辊轴座14与机架1之间设有升降调节机构15,采用升降调节机构15可调节两个传送辊11之间的间距,适应不同厚度的绝缘皱纹纸,并以多个第一传送机构4保证平稳地传送力;
所述升降调节机构15包括螺杆16和螺套17,所述螺杆16一端与第二辊轴座14相连,另一端穿过螺套17设有手轮18,所述螺套17与机架1固定相连,且与第二辊轴座14之间设有第二弹簧19,通过手轮18带动螺杆16在螺套17内转动相对升降位移,并以第二弹簧19弹性压力提高支撑力,实现快速稳定地调节;
所述裁切机构5包括裁切刀20和裁切刀20两侧的压板21,所述裁切刀20顶部与机架1之间设有升降驱动机构22,所述压板21裁切刀20之间设有弹性机构23;
所述升降驱动机构22为液压缸,所述弹性机构23包括导向套25、导向柱26和第三弹簧27,所述导向套25与裁切刀20顶部固定相连,所述导向柱26一端穿过第三弹簧27与压板21相连,另一端穿过导向套25设有调节螺母28,所述调节螺母28与导向柱26之间设有配合螺纹29,通过液压缸固定在机架1上,液压缸的液压杆24与裁切刀20固定相连驱动升降,通过转动调节螺母28,以配合螺纹29驱动导向柱26升降调节至适宜位置,裁切刀20下降时,使导向柱26在导向套25内上顶,压缩第三弹簧27,提供压紧力,压紧底部绝缘皱纹纸,方便裁切刀20的裁切;
所述机架1上设有同向旋转的第一下料辊30和第二下料辊31,通过连接独立的第二旋转电机44可实现同向旋转和启闭,所述第一下料辊30与传送带6位于裁切机构5同侧,所述第二下料辊31与第一下料辊30之间设有平台32,所述平台32顶部与机架1之间设有与第一下料辊30和第二下料辊31配合使用的滚动压紧机构33;
所述滚动压紧机构33包括偏转轴34、若干压紧滚架35和导向滚架36,所述偏转轴34穿过间隔设置的若干压紧滚架35和导向滚架36,且与机架1之间设有步进电机37,所述压压紧滚架35和导向滚架36上均设有螺纹孔38,所述螺纹孔38内设有定位螺栓39,所述定位螺栓39,所述压紧滚架35和导向辊架上分别设有第一滚轮40和第二滚轮41,所述第一滚轮40位于第一下料辊30和传送带6之间,所述第二辊轮位于第二下料辊31顶部;
通过步进电机37正反偏转带动偏转轴34旋转,导向辊架上的定位螺栓39也可以不安装,为保证稳定性,偏转轴34上还可设置与螺纹孔对应的开孔,以便定位螺栓39定位安装,当第一下料辊30旋转带动传送带6和第一下料辊30上裁切好的绝缘皱纹纸向平台32一侧移动时,压紧滚架35随偏转轴34偏转下压,利用第一滚轮40的滚动摩擦保证纸材平稳转送,结构紧凑,并通过第二滚轮41与第二下料辊31平稳无翻翘地下料;
所述第二下料辊31侧底部设有下料导板42,所述导向滚架36与下料导板42之间设有弧形挡板43,所述下料导板42与机架1倾斜相连,通过下料导板42和弧形挡板43可帮助第二下料辊31传送的绝缘皱纹纸稳定地送入下一卷制加工工序。
本发明的工作方式为:
依据加工需求,适当调节装置,将绕卷的皱纹绝缘纸套入料卷辊2上,经折料辊3下方进入若干对向旋转的传送辊11之间,至端部放在传送带6的第一下料辊30上,液压缸的液压杆24带动裁切刀20和压板21下降,压板21压住绝缘皱纹纸,裁切刀20继续下行进行裁切,裁切后开启传送带6,随传送带6上向前输送,停止传送带6,开启第一下料辊30,同时歩进电机带动偏转轴34偏转,使第一滚轮40压住绝缘皱纹纸,绝缘皱纹纸随第一下料辊30运行经平台32至第二下料辊31与第二滚轮41之间,稳定的通过弧形挡板43和下料导板42下料至下一加工工序,可连续裁切下料,充分利用装置空间,结构紧凑,显著降低人工、设备成本,提高加工效率和加工质量,保证绝缘皱纹纸管加工稳定性。
在本发明的描述中,需要理解的是,术语“中心”、“纵向”、“横向”、“上”、“下”、“前”、“后”、“左”、“右”、“竖直”、“水平”、“顶”、“底”、“内”、“外”等指示的方位或位置关系为基于附图所示的方位或位置关系,仅是为了便于描述本发明和简化描述,而不是指示或暗示所指的装置或元件必须具有特定的方位、以特定的方位构造和操作,因此不能理解为对本发明的限制。此外,术语“第一”、“第二”等仅用于描述目的,而不能理解为指示或暗示相对重要性或者隐含指明所指示的技术特征的数量。由此,限定有“第一”、“第二”等的特征可以明示或者隐含地包括一个或者更多个该特征。在本发明的描述中,除非另有说明,“多个”的含义是两个或两个以上。
在本发明的描述中,需要说明的是,除非另有明确的规定和限定,术语“安装”、“相连”、“连接”应做广义理解,例如,可以是固定连接,也可以是可拆卸连接,或一体地连接;可以是机械连接,也可以是电连接;可以是直接相连,也可以通过中间媒介间接相连,可以是两个元件内部的连通。对于本领域的普通技术人员而言,可以通过具体情况理解上述术语在本发明中的具体含义。
以上所述,仅为本发明较佳的具体实施方式,但本发明的保护范围并不局限于此,任何熟悉本技术领域的技术人员在本发明揭露的技术范围内,可轻易想到的变化或替换,都应涵盖在本发明的保护范围内。因此,本发明的保护范围应该以权利要求书的保护范围为准。
技术特征:
1.一种绝缘皱纹纸管加工用上料装置,包括机架,其特征为,由机架一端至另一端,所述机架上依次设有料卷辊、折料辊、第一传送机构、裁切机构和传送带,所述折料辊位于料卷辊和第一传送机构的侧底部,所述第一传送机构包括两个对向旋转的传送辊,所述裁切机构包括裁切刀和裁切刀两侧的压板,所述裁切刀顶部与机架之间设有升降驱动机构,所述压板与裁切刀之间设有弹性机构;
所述机架上设有同向旋转的第一下料辊和第二下料辊,所述第一下料辊与传送带位于裁切机构同侧,所述第二下料辊与第一下料辊之间设有平台,所述平台顶部与机架之间设有与第一下料辊和第二下料辊配合使用的滚动压紧机构。
2.如权利要求1所述的一种绝缘皱纹纸管加工用上料装置,其特征为,所述折料辊两端设有支架,所述支架端部设有滑套,所述滑套内与机架之间设有滑杆,所述滑杆外与滑套两侧设有第一弹簧。
3.如权利要求1所述的一种绝缘皱纹纸管加工用上料装置,其特征为,所述第一传送机构的数目至少为两个,两个传送辊分别与机架之间设有第一辊轴座和第二辊轴座,所述第二辊轴座与机架之间设有升降调节机构。
4.如权利要求3所述的一种绝缘皱纹纸管加工用上料装置,其特征为,所述升降调节机构包括螺杆和螺套,所述螺杆一端与第二辊轴座相连,另一端穿过螺套设有手轮,所述螺套与机架固定相连,且与第二辊轴座之间设有第二弹簧。
5.如权利要求1所述的一种绝缘皱纹纸管加工用上料装置,其特征为,所述升降驱动机构为液压缸,所述弹性机构包括导向套、导向柱和第三弹簧,所述导向套与裁切刀顶部固定相连,所述导向柱一端穿过第三弹簧与压板相连,另一端穿过导向套设有调节螺母,所述调节螺母与导向柱之间设有配合螺纹。
6.如权利要求1所述的一种绝缘皱纹纸管加工用上料装置,其特征为,所述滚动压紧机构包括偏转轴、若干压紧滚架和导向滚架,所述偏转轴穿过间隔设置的若干压紧滚架和导向滚架,且与机架之间设有步进电机,所述压压紧滚架和导向滚架上均设有螺纹孔,所述螺纹孔内设有定位螺栓,所述定位螺栓,所述压紧滚架和导向辊架上分别设有第一滚轮和第二滚轮,所述第一滚轮位于第一下料辊和传送带之间,所述第二辊轮位于第二下料辊顶部。
7.如权利要求1所述的一种绝缘皱纹纸管加工用上料装置,其特征为,所述第二下料辊侧底部设有下料导板,所述导向滚架与下料导板之间设有弧形挡板,所述下料导板与机架倾斜相连。
技术总结
本发明涉及一种绝缘皱纹纸管加工用上料装置,包括机架,机架上依次设有料卷辊、折料辊、第一传送机构、裁切机构和传送带,第一传送机构包括两个对向旋转的传送辊,裁切机构包括升降驱动的裁切刀和裁切刀两侧的压板,压板与裁切刀之间设有弹性机构,弹性机构包括导向套、导向柱和第三弹簧,机架上设有同向旋转的第一下料辊和第二下料辊,机架上设有包括偏转轴、若干压紧滚架和导向滚架的滚动压紧机构,压紧滚架和导向辊架上分别设有第一滚轮和第二滚轮;本发明可连续裁切绝缘皱纹纸,并在传送带、带滚动压紧机构的两个下料辊作用下,直接依次稳定平稳地下料,以便后续稳定地卷制加工,提高绝缘皱纹纸管的加工效率和质量、降低成本。
技术研发人员:朱建坤
受保护的技术使用者:镇江市鑫泰绝缘材料有限公司
技术研发日:2018.09.05
技术公布日:2020.03.13