服务热线
180-5003-0233

本实用新型涉及薄膜加工设备技术领域,尤其是涉及一种除静电的薄膜分切机。
背景技术:
薄膜分切机是由放卷机构、切割机构、收卷机构、各功能辊以及张力控制、纠偏控制和检测装置组成,薄膜原料自放卷机构放出后经过展平辊,张力检测辊,赋能辊,纠偏系统进入切割机构,在经过分切后由收卷机构分别将薄膜收卷成多卷膜卷,在加工的过程中由于原料薄膜直接暴露在空气中,薄膜与辊轴之间的传动会因摩擦产生大量的静电,从而吸附空气中的污染物导致最终加工后的薄膜表面会附着一层污物,此外,若多层薄膜同时加工由于静电的存在,收卷薄膜时易导致上下层错位出现褶皱,影响薄膜收卷的整齐度。
专利公告号为cn202744077u的中国专利公开了一种具有除静电功能的分切机,包括放料辊、传动辊、分切滚以及收料辊,上述装置相互之间空间平行的布置在分切机主体上,分切滚与换向辊之间设置有静电消除装置,静电消除装置采用离子风棒,离子风棒连接离子风控制器,离子风控制器固定在分切机主体一侧的控制台上,放料辊上的待分切材料通过传动辊进入分切辊进行分切,分切后再通过压辊与离子风棒之间,离子风棒将切割过程中产生的静电中和掉。
上述技术方案存在以下缺陷:静电消除装置采用的离子风棒直接安装在分切辊与压辊之间,会对薄膜的分切作业造成一定的干扰,且静电消除仅限于消除分切辊与压辊之间的静电,消除的范围较小具有一定的局限性,无法将各辊之间形成的静电中和掉,因此上述方案有待改进。
技术实现要素:
本实用新型的目的是提供一种可充分均匀消除静电的薄膜分切机。
本实用新型的上述目的是通过以下技术方案得以实现的:
一种除静电的薄膜分切机,包括分切机本体、水平转动连接于所述分切机本体上的多个入料辊以及带动所述入料辊转动的驱动装置,还包括设置于所述分切机本体内的静电消除装置以及分别罩设于所述静电消除装置和多个所述入料辊端部的连接件,所述入料辊均呈中空设置,多个所述入料辊的周侧上设置有与所述静电消除装置连通且用于输出正负离子至所述薄膜表面的输出通道。
通过采用上述技术方案,静电消除装置将空气电离为大量正负离子,并由送风装置将含带正负离子的空气导入多个入料辊内并通过输出通道传递至加工薄膜的表面,从而使得多个入料辊与薄膜之间因摩擦而产生的静电被直接快速的中和掉,消除静电的范围大效率高,且不会对薄膜的分切作业造成影响。
本实用新型进一步设置为:所述入料辊包括转动连接于所述分切机本体内的转杆、固定套设于所述转杆中心处的环形衔接板,所述环形衔接板的周侧上套设有一根两端槽呈开口设置的套筒,所述套筒的两端未抵接于所述分切机本体上。
本实用新型进一步设置为:所述输出通道包括所述套筒、所述转杆以及所述环形衔接板围设成的两个环形凹槽以及径向开设所述套筒周侧的若干个输出孔,所述输出孔分别与两个所述环形凹槽连通,所述套筒的周侧固设有多个等间距排列的防滑条。
通过采用上述技术方案,入料辊分别由转杆和固定套设于转杆周侧的套筒组成,转杆的端部可与驱动所述入料辊转动的驱动装置相连,从而输出通道的设置不会影响入料辊的正常使用,套筒两侧沿轴向凹设的环形凹槽与周向开设的输出孔连通,从而在分切机运作的过程中,静电消除装置同步运作将产生的静电消除,效率高、成效快。
本实用新型进一步设置为:所述静电消除装置包括电晕放电器、高压电源以及送风装置,所述连接件包括分别套设于多个所述转杆两端的环形密封罩、罩设于所述静电消除装置周侧的输气罩以及分别与所述环形密封罩和所述输气罩相连输气管。
通过采用上述技术方案,高压电源设置有与地面充分连接的地线,并通过高压电流将电晕放电器的离子发生室中的空气电解为正负离子,再由扇叶自输出通道吹出,环形密封罩将套筒两侧开设的环形凹槽完全包裹住,从而使含正负离子的空气只能通过输出孔导出,使得气体的流通方向具有导向性。
本实用新型进一步设置为:所述环形密封罩包括套设于所述转杆周侧的环形板以及固设于所述环形板一侧的一圈环形衔接板,所述环形衔接板的内壁活动抵接于所述套筒的周侧上。
通过采用上述技术方案,含带正负离子的空气直接通过输气罩进入各个与入料辊相连的输气管分支内,从而通过多个入料辊将气体排出,扩大了消除静电的范围。
本实用新型进一步设置为:所述环形衔接板的内壁上沿其径向固设有环形衔接扣,所述套筒的周侧开设有与所述衔接扣卡接适配的衔接槽。
通过采用上述技术方案,衔接扣与衔接槽的设置使得入料辊在转动的过程中,环形密封罩能够始终在套筒周侧转动并避免环形密封罩轻易脱落,提高了环形密封罩的衔接紧密性。
本实用新型进一步设置为:所述衔接槽至所述套筒一端端部的距离小于所述环形板的宽度,且所述环形密封罩与所述套筒的端部形成环形的储蓄空腔。
通过采用上述技术方案,储蓄空腔的设置使得气流的流量始终维持一定的定值,以便于降低气流忽大忽小对薄膜产生的一定的晃动。
本实用新型进一步设置为:所述静电消除装置分别设置在所述分切机本体内部的两侧且所述电晕放电器的一侧延伸至所述分切机本体外。
通过采用上述技术方案,以便于电晕放电器与高压电源电连接,且电晕放电器能够吸收外部空气,并通过静电消除装置的持续运作将正负离子持续不断的输送至薄膜表面。
综上所述,本实用新型的有益技术效果为:
1.本实用新型通过送风装置将含带正负离子的空气导入多个入料辊内并通过输出通道传递至加工薄膜的表面,使得多个入料辊与薄膜之间因摩擦而产生的静电被直接快速的中和掉,从而消除静电的范围大效率高,成效快。
2.本实用新型通过输出通道的设置使得在消除静电的过程中不会影响入料辊的正常使用,套筒两侧沿轴向凹设的环形凹槽与周向开设的输出孔连通,从而在分切机运作的过程中,静电消除装置同步运作将产生的静电消除。
附图说明
图1是本实用新型的立体结构示意图;
图2是主要示出了除去分切机本体的局部爆炸结构示意图;
图3是图2中a处放大结构示意图。
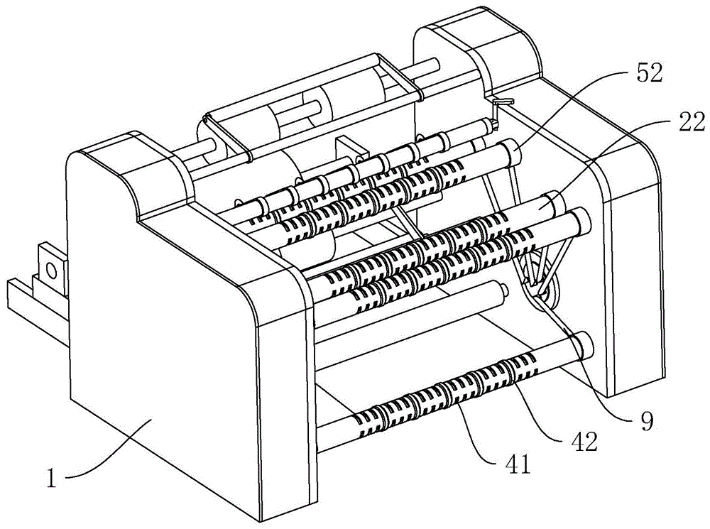
图中,1、分切机本体;2、入料辊;21、转杆;22、套筒;3、静电消除装置;31、电晕放电器;32、高压电源;33、送风装置;4、输出通道;41、输出孔;42、防滑条;43、环形凹槽;5、环形密封罩;51、环形板;52、环形衔接板;6、衔接扣;7、衔接槽;8、输气罩;9、输气管;10、储蓄空腔。
具体实施方式
以下结合附图对本实用新型作进一步详细说明。
如图1和图2所示,为本实用新型公开的一种除静电的薄膜分切机,包括呈双耳座设置的分切机本体1,且分切机本体1的两侧分别中空设置,分切机本体1上水平穿设有五根带动加工薄膜传动的入料辊2,入料辊2的两端分别设置有带动入料辊2转动的驱动装置且驱动装置位于分切机本体1内。
分切机本体1的两侧内部还分别固设有静电消除装置3,静电消除装置3包括电晕放电器31、高压电源32以及与入料辊2连通的送风装置33,高压电源32的地线与地面充分连接,并通过高压电流将电晕放电器31的离子发生室中的空气电解,电解后产生的大量正负离子,再通过扇叶将正负离子吹出;入料辊2与静电消除装置3的端部均罩设有相互连通的连接件,且入料辊的上设置有与连接件连通的输出通道4,使得正负离子通过五根入料辊2排出,从而在不影响分切机正常运作的同时能够使入料辊2和薄膜之间摩擦产生的静电高效、迅速的被中和掉。
如图2和图3所示,连接件包括固定罩设于送风装置33上的输气罩8且输气罩8上固定穿设有五个输气管9,输气管9远离输气罩8的一端一一对应连接于入料辊2上;入料辊2包括转杆21和固定套设在转杆21上的套筒22且套筒22的周侧间隔固设有多条环状的防滑条42,相邻防滑条42之间的凹陷处沿套筒22的周向开设有若干个输出孔41,转杆21的中心处固定套设有环形固定板,且环形固定板的周侧与套筒22的内壁固定连接,套筒22、转杆21以及环形固定板之间围设成两个环形凹槽43,且若干个输出孔41均与环形凹槽43连通,从而形成含带正负离子空气流通的输出通道4。
套筒22的两侧分别套设有橡胶制成的环形密封罩5,环形密封罩5包括套设在转杆21两端的圆环形环形板51,环形板51的外缘处垂直突设有一圈环形衔接板52,环形衔接板52的周侧与输气管9的一端连通;且环形衔接板52的内壁罩设于套筒22的周侧上,为避免入料辊2在转动的过程中使环形密封罩5与套筒22轻易的滑脱,环形密封罩5的内侧固定连接有一圈环形的衔接扣6,且套筒22的周侧开设有与衔接扣6卡接的衔接槽7;且衔接槽7至套筒22一端端部的距离小于环形板51的宽度,且环形密封罩5与套筒22的端部形成环形的储蓄空腔10,储蓄空腔10的设置使得各个输气孔的流通速度保持均衡。
当需消除分切机静电时,启动静电消除装置3上的送风装置33将电解后含有正负离子的空气通过输气罩8上连通的五根输出管传递至环形密封罩5内,再通过多个入料辊2上设置的输出通道4直接将正负离子吹至薄膜表面,从而使得五根入料辊2与薄膜之间因摩擦而产生的静电直接中和掉,消除范围广,且不会对分切机切切机构的运作造成影响。
本实用新型的工作原理和有益效果为:
通过尖端高压电晕放电把空气电离为大量的正负离子,扇叶转动把大量的正负离子传递至薄膜的表面以中和静电,静电消除装置3与分切机本体1上水平转动设置的五根入料辊2连通,从而分切机在运作的过程中可静电消除装置3可同步运作,且静电消除效率高、速度快效果好。
本具体实施方式的实施例均为本实用新型的较佳实施例,并非依此限制本实用新型的保护范围,故:凡依本实用新型的结构、形状、原理所做的等效变化,均应涵盖于本实用新型的保护范围之内。
技术特征:
1.一种除静电的薄膜分切机,包括分切机本体(1)、水平转动连接于所述分切机本体(1)上的多个入料辊(2)以及带动所述入料辊(2)转动的驱动装置,其特征在于:还包括设置于所述分切机本体(1)内的静电消除装置(3)以及分别罩设于所述静电消除装置(3)和多个所述入料辊(2)端部的连接件,所述入料辊(2)均呈中空设置,多个所述入料辊(2)的周侧上设置有与所述静电消除装置(3)连通且用于输出正负离子至薄膜表面的输出通道(4)。
2.根据权利要求1所述的一种除静电的薄膜分切机,其特征在于:所述入料辊(2)包括转动连接于所述分切机本体(1)内的转杆(21)、固定套设于所述转杆(21)中心处的环形固定板,所述环形固定板的周侧上套设有一根两端槽呈开口设置的套筒(22),所述套筒(22)的两端未抵接于所述分切机本体(1)上。
3.根据权利要求2所述的一种除静电的薄膜分切机,其特征在于:所述输出通道(4)包括所述套筒(22)、所述转杆(21)以及所述环形固定板围设成的两个环形凹槽(43)以及径向开设所述套筒(22)周侧的若干个输出孔(41),所述输出孔(41)分别与两个所述环形凹槽(43)连通,所述套筒(22)的周侧固设有多个等间距排列的防滑条(42)。
4.根据权利要求2所述的一种除静电的薄膜分切机,其特征在于:所述静电消除装置(3)包括电晕放电器(31)、高压电源(32)以及送风装置(33),所述连接件包括分别套设于多个所述转杆(21)两端的环形密封罩(5)、罩设于所述静电消除装置(3)周侧的输气罩(8)以及分别与所述环形密封罩(5)和所述输气罩(8)相连输气管(9)。
5.根据权利要求4所述的一种除静电的薄膜分切机,其特征在于:所述环形密封罩(5)包括套设于所述转杆(21)周侧的环形板(51)以及固设于所述环形板(51)一侧的一圈环形衔接板(52),所述环形衔接板(52)的内壁活动抵接于所述套筒(22)的周侧上。
6.根据权利要求5所述的一种除静电的薄膜分切机,其特征在于:所述环形衔接板(52)的内壁上沿其径向固设有环形衔接扣(6),所述套筒(22)的周侧开设有与所述衔接扣(6)卡接适配的衔接槽(7)。
7.根据权利要求6所述的一种除静电的薄膜分切机,其特征在于:所述衔接槽(7)至所述套筒(22)一端端部的距离小于所述环形板(51)的宽度,且所述环形密封罩(5)与所述套筒(22)的端部形成环形的储蓄空腔(10)。
8.根据权利要求4所述的一种除静电的薄膜分切机,其特征在于:所述静电消除装置(3)分别设置在所述分切机本体(1)内部的两侧且所述电晕放电器(31)的一侧延伸至所述分切机本体(1)外。
技术总结
本实用新型涉及薄膜加工设备技术领域,尤其是涉及一种除静电的薄膜分切机,包括分切机本体、水平转动连接于所述分切机本体上的多个入料辊以及带动所述入料辊转动的驱动装置,还包括设置于所述分切机本体内的静电消除装置以及分别罩设于所述静电消除装置和多个所述入料辊端部的连接件,所述入料辊均呈中空设置,多个所述入料辊的周侧上设置有与所述静电消除装置连通且用于输出正负离子至所述薄膜表面的输出通道。该薄膜分切机通过送风装置将含带正负离子的空气导入多个入料辊内并通过输出通道传递至加工薄膜的表面,使得多个入料辊与薄膜之间因摩擦而产生的静电被直接快速的中和掉,从而消除静电的范围大效率高,成效快。
技术研发人员:熊瑛;陈伍
受保护的技术使用者:武汉宇洋包装印刷有限公司
技术研发日:2019.06.22
技术公布日:2020.06.19