服务热线
180-5003-0233

1.本实用新型提供一种新型塑料薄膜圆盘刀分切装置,属于圆盘刀分切装置技术领域。
背景技术:
2.分切机是一种将宽幅纸张、云母带或薄膜分切成多条窄幅材料的机械设备,常用于造纸机械、电线电缆云母带及印刷包装机械。分切机主要的运用于:无纺布;云母带、纸张、绝缘材料及各种薄膜材料分切、特别适宜于窄带(无纺布,纸张,绝缘材料、云母带、薄膜等等)的分切。圆盘刀是一种圆形的刀片工具,因为与传统刀片只能用一面切的不同,圆盘刀片能够在旋转的同时对一般的材料进行切割,避免了一直只能切一面刀片的耐久度不是很好,一段时间就需要更换或者保养,使用起来的成本更加高,而且传统刀片和圆盘刀片在用料和用料的多少上没有区别,所以在大部分情况下可以将传统刀片用圆盘刀片代替掉,用于分切机上的话就可以更加能凸显他的作用,而且一般的分切机现在不能单独调整相互之间的距离,导致使用起来的时候不是很方便,要么更换设备工作,要么更换整个刀片组,对此造成的不便可以采取改进措施。
技术实现要素:
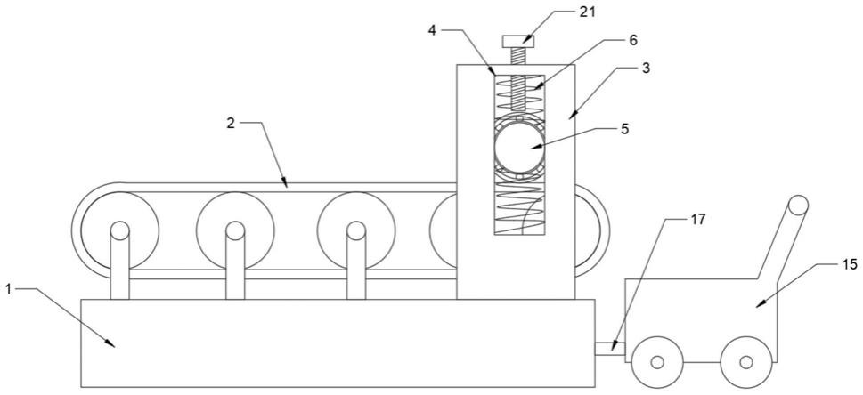
3.本实用新型为了解决上述问题,提供的一种新型塑料薄膜圆盘刀分切装置。为了解决上述问题提供的技术方案为:一种新型塑料薄膜圆盘刀分切装置,包括装置底座,所述装置底座上侧面设有带式输送机,所述装置底座上侧面位于带式输送机两侧对称设有支撑板,所述支撑板上设有竖直方向的条形通孔,所述条形通孔内滑动设有支撑杆,所述支撑杆上下侧面均设有弹簧一,所述弹簧一与条形通孔内壁固定连接,所述支撑杆侧壁上方设有滑槽一,所述滑槽一底面设有限位齿,所述支撑杆上套接设有若干轴承,所述轴承对应滑槽一位置向下设有凸起,所述凸起内设有开口朝下的凹槽,所述凹槽内设有弹簧二,所述凹槽内滑动设有限位插销,所述弹簧二与限位插销固定连接,所述限位插销与限位齿相互接触,所述轴承外设有圆盘刀,所述装置底座靠近支撑板的一侧设有运输装置。
4.本实用新型的优点在于:
5.本实用新型结构精巧,使用方便,原理简单,通过对各个独立圆盘刀片的分组控制,使其能够形成两两工作的效果,极大的提高了切割塑料薄膜的效率,同时也满足了对不同尺寸要求的灵活变化,并且本实用新型成本不高,便于大规模推广。
6.进一步地,所述运输装置包括材料运输车,所述材料运输车靠近装置底座的一侧设有定位孔,所述装置底座对应定位孔设有定位棒,便于材料运输车和装置底座的相互衔接不出现空隙使得切割好的成品掉落。
7.进一步地,所述支撑杆上设有刻度线,方便对单独圆盘刀进行调整,给调整提供了依据。
8.进一步地,所述带式输送机长度大于装置底座,方便一端的上货和另一端的成品能够落入材料运输车内。
9.进一步地,所述条形通孔相对的两侧对称设有滑槽二,所述滑槽二上滑动设有滑块,所述滑块与支撑杆固定连接,给支撑杆提供相对稳定的运动轨迹,不会离开支撑板。
10.进一步地,所述支撑板上对应支撑杆螺纹连接设有螺栓,所述螺栓另一端位于条形通孔内,在需要大力切割时能够提供支撑点,给支撑杆一个力让其不动。
11.进一步地,所述限位插销下端设有滚珠,所述滚珠与限位齿相互接触。
附图说明
12.图1是本实用新型一种新型塑料薄膜圆盘刀分切装置的正视图。
13.图2是本实用新型一种新型塑料薄膜圆盘刀分切装置的右视图。
14.图3是本实用新型一种新型塑料薄膜圆盘刀分切装置的支撑杆与轴承的剖面图。
15.图4是本实用新型一种新型塑料薄膜圆盘刀分切装置的支撑杆与轴承的右视剖面图。
16.图5是本实用新型一种新型塑料薄膜圆盘刀分切装置的a区域的示意图。
17.图6是本实用新型一种新型塑料薄膜圆盘刀分切装置的材料运输车的左视图。
18.图7是本实用新型一种新型塑料薄膜圆盘刀分切装置的支撑板的俯视图。
19.如图所示:
20.1、装置底座,2、带式输送机,3、支撑板,4、条形通孔,5、支撑杆,6、弹簧一,7、滑槽一,8、限位齿,9、轴承,10、凸起,11、凹槽,12、弹簧二,13、限位插销,14、圆盘刀,15、材料运输车,16、定位孔,17、定位棒,18、刻度线,19、滑槽二,20、滑块,21、螺栓,22、滚珠。
具体实施方式
21.下面结合附图对本实用新型作进一步说明。
22.根据所有附图所示:
23.一种新型塑料薄膜圆盘刀分切装置,包括装置底座1,所述装置底座1上侧面设有带式输送机2,所述装置底座1上侧面位于带式输送机2两侧对称设有支撑板3,所述支撑板3上设有竖直方向的条形通孔4,所述条形通孔4内滑动设有支撑杆5,所述支撑杆5上下侧面均设有弹簧一6,所述弹簧一6与条形通孔4内壁固定连接,所述支撑杆5侧壁上方设有滑槽一7,所述滑槽一7底面设有限位齿8,所述支撑杆5上套接设有若干轴承9,所述轴承9对应滑槽一7位置向下设有凸起10,所述凸起10内设有开口朝下的凹槽11,所述凹槽11内设有弹簧二12,所述凹槽11内滑动设有限位插销13,所述弹簧二12与限位插销13固定连接,所述限位插销13与限位齿8相互接触,所述轴承9外设有圆盘刀14,所述装置底座1靠近支撑板3的一侧设有运输装置。
24.进一步地,所述运输装置包括材料运输车15,所述材料运输车15靠近装置底座1的一侧设有定位孔16,所述装置底座1对应定位孔16设有定位棒17,便于材料运输车15和装置底座1的相互衔接不出现空隙使得切割好的成品掉落。
25.进一步地,所述支撑杆5上设有刻度线18,方便对单独圆盘刀14进行调整,给调整提供了依据。
26.进一步地,所述带式输送机2长度大于装置底座1,方便一端的上货和另一端的成
品能够落入材料运输车15内。
27.进一步地,所述条形通孔4相对的两侧对称设有滑槽二19,所述滑槽二19上滑动设有滑块20,所述滑块20与支撑杆5固定连接,给支撑杆5提供相对稳定的运动轨迹,不会离开支撑板3。
28.进一步地,所述支撑板3上对应支撑杆5螺纹连接设有螺栓21,所述螺栓21另一端位于条形通孔4内,在需要大力切割时能够提供支撑点,给支撑杆5一个力让其不动。
29.进一步地,所述限位插销13下端设有滚珠22,所述滚珠22与限位齿8相互接触。
30.本实用新型在具体实施时:
31.接通电源,带式输送机2开始运转工作,将需要剪裁的塑料薄膜放到带式输送机2上,带式输送机2运输塑料薄膜接近圆盘刀14,圆盘刀14开始切割塑料薄膜,弹簧一6可以调整圆盘刀14的上下位置,能更加贴合带式输送机2切割的同时又可以不伤害带式输送机2表面,支撑杆5在条形通孔4内上下滑动,滑槽二19和滑块20能保证支撑杆5不会滑出支撑板3,经过圆盘刀14切割后,切好的材料沿着带式输送机2进入材料运输车15上,当需要同时切割不同尺寸的塑料薄膜时,先关闭电源,沿着支撑杆5的刻度线18滑动圆盘刀14,圆盘刀14带动轴承9滑动,轴承9带动位于凸台10内的限位插销13滑动,限位插销13在弹簧二12和限位齿8的相互配合下可以移动且能相对固定,调整好位置后,再接通电源,继续刚刚的工作,当需要较大的力量去切割塑料薄膜时,可以旋转螺栓21,让螺栓21的一端压在支撑杆5上,这样就可以固定支撑杆5的位置不让其再自由上下滑动。
32.以上对本实用新型及其实施方式进行了描述,这种描述没有限制性,附图中所示的也只是本实用新型的实施方式之一,实际的结构并不局限于此。总而言之如果本领域的普通技术人员受其启示,在不脱离本实用新型创造宗旨的情况下,不经创造性的设计出与该技术方案相似的结构方式及实施例,均应属于本实用新型的保护范围。
技术特征:
1.一种新型塑料薄膜圆盘刀分切装置,其特征在于:包括装置底座,所述装置底座上侧面设有带式输送机,所述装置底座上侧面位于带式输送机两侧对称设有支撑板,所述支撑板上设有竖直方向的条形通孔,所述条形通孔内滑动设有支撑杆,所述支撑杆上下侧面均设有弹簧一,所述弹簧一与条形通孔内壁固定连接,所述支撑杆侧壁上方设有滑槽一,所述滑槽一底面设有限位齿,所述支撑杆上套接设有若干轴承,所述轴承对应滑槽一位置向下设有凸起,所述凸起内设有开口朝下的凹槽,所述凹槽内设有弹簧二,所述凹槽内滑动设有限位插销,所述弹簧二与限位插销固定连接,所述限位插销与限位齿相互接触,所述轴承外设有圆盘刀,所述装置底座靠近支撑板的一侧设有运输装置。2.根据权利要求书1所述的一种新型塑料薄膜圆盘刀分切装置,其特征在于:所述运输装置包括材料运输车,所述材料运输车靠近装置底座的一侧设有定位孔,所述装置底座对应定位孔设有定位棒。3.根据权利要求书1所述的一种新型塑料薄膜圆盘刀分切装置,其特征在于:所述支撑杆上设有刻度线。4.根据权利要求书1所述的一种新型塑料薄膜圆盘刀分切装置,其特征在于:所述带式输送机长度大于装置底座。5.根据权利要求书1所述的一种新型塑料薄膜圆盘刀分切装置,其特征在于:所述条形通孔相对的两侧对称设有滑槽二,所述滑槽二上滑动设有滑块,所述滑块与支撑杆固定连接。6.根据权利要求书1所述的一种新型塑料薄膜圆盘刀分切装置,其特征在于:所述支撑板上对应支撑杆螺纹连接设有螺栓,所述螺栓另一端位于条形通孔内。7.根据权利要求书1所述的一种新型塑料薄膜圆盘刀分切装置,其特征在于:所述限位插销下端设有滚珠,所述滚珠与限位齿相互接触。
技术总结
本实用新型提供一种新型塑料薄膜圆盘刀分切,属于圆盘刀分切技术领域。包括底座,底座上设有带式输送机,底座上位于带式输送机两侧对称设有支撑板,支撑板上设有条形通孔,条形通孔内滑动设有支撑杆,支撑杆上下侧面均设有弹簧一,支撑杆侧壁上方设有滑槽一,滑槽一底面设有限位齿,支撑杆上套接设有若干轴承,轴承对应滑槽一位置向下设有凸起,凸起内设有开口朝下的凹槽,凹槽内设有弹簧二,凹槽内滑动设有限位插销,轴承外设有圆盘刀,底座靠近支撑板的一侧设有运输装置。本实用新型极大的提高了切割塑料薄膜的效率,同时也满足了对不同尺寸要求的灵活变化。尺寸要求的灵活变化。尺寸要求的灵活变化。
技术研发人员:彭广亚
受保护的技术使用者:佛山市科鹰机械有限公司
技术研发日:2021.06.11
技术公布日:2022/1/18