
本实用新型公开了一种薄膜分切机,包括机架,安装在机架上的放卷辊、导向辊、切刀辊、收卷辊,还包括接地线和埋入地下的接地体,接地体通过接地线和机架相连。

本发明属于流延膜生产技术领域,特别是涉及一种改性pet混合ldpe高分子材料流延膜自动化分切机及分切工艺。背景技术:流延膜,是通过熔体流涎骤冷生产的一种无拉伸、非定向的平挤薄膜,有单层流涎和多层共挤流

本实用新型涉及机械自动化技术领域,具体为一种分切机的对刀装置。背景技术:分切机的效率和以下几个因素有关:分切速度、成品率、非运行占用时间、稳定性等。分切速度固然是分切机工作效率的一个重要指标,但是如果

本实用新型属于分切机设备领域,具体涉及一种铜箔分切机接触式粘尘系统。背景技术:铜箔分切机是一种将宽幅或薄铜箔分切成多条窄幅铜箔材料的机械设备。现有的分切方式由于静电作用使铜箔表面附着大量铜粉,位置分布

本实用新型涉及一种聚酯薄膜生产设备,具体是一种PET聚酯薄膜分切机的裁切机构。背景技术:PET聚酯薄膜因其具有优异的物理、化学性能及尺寸稳定性、透明性、可回收性,可广泛的应用于磁记录、感光材料、电子、

本实用新型属于薄膜分切技术领域,具体涉及一种pet膜用分切机。背景技术:pet膜又名耐高温聚酯薄膜,它具有优异的物理性能、化学性能及尺寸稳定性、透明性、可回收性,可广泛的应用于磁记录、感光材料、电子、

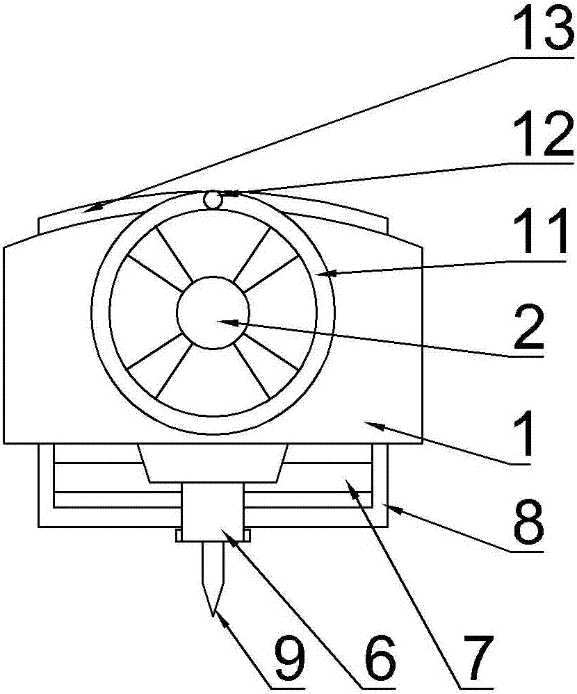
1.本实用新型涉及纸管分切机技术领域,更具体地说,本实用新型涉及一种纸管分切机的送料分切机构。背景技术:2.纸管分切机是纸管加工过程中的常用设备,其通过将纸管固定于定位辊之上,利用切割刀片对其进行分切

本实用新型属于纸管加工设备技术领域,具体涉及一种高效率纸管分切机。背景技术:纸管分切机采用电动或气动运转切割的,造型美观简约。平台高度适中,方便操作,无噪音、传动负载耗电量小、采用圆刀切割,所切的纸管

1.本实用新型涉及纸管分切机领域,尤其涉及一种具有定位机构的纸管分切机。背景技术:2.分切机是一种将宽幅纸张、云母带或薄膜分切成多条窄幅材料的机械设备,常用于造纸机械、电线电缆云母带及印刷包装机械,分

本实用新型涉及塑料加工领域,具体是一种便于拆卸纸管固定器。背景技术:塑料是以合成树脂或天然树脂为基础原料,加入(或不加)各种塑料助剂、增强材料和填料,在一定温度、压力下,加工塑制成型或交联固化成型,得