
本发明属于流延膜生产技术领域,特别是涉及一种改性pet混合ldpe高分子材料流延膜自动化分切机及分切工艺。
背景技术:
流延膜,是通过熔体流涎骤冷生产的一种无拉伸、非定向的平挤薄膜,有单层流涎和多层共挤流涎两种方式,与吹膜相比,其特点是生产速度快,产量高,薄膜的透明性、光泽性、厚度均匀性等都极为出色,流延薄膜具有优越的热封性能和优良的透明性,是主要的包装复合基材之一,用于生产高温蒸煮膜、真空镀铝膜等,市场极为看好。
目前,pe塑料流延膜分切过程中所存在的以下难题:a.采用流延膜分切机对流延膜分切时,放卷轴和收卷轴在电机的作用下同时转动,流延膜在未分切时容易出现褶皱、膜卷缩,这样流延膜分切后会出现切割不均匀或歪斜,影响分切效果;b.根据不同需求尺寸的流延膜,现有的分切机一般需要更换不同的切刀装置,从而来调节需要的规格流延膜,这种往往需要制造不同的规格的分切装置,其成本高,效率低。
技术实现要素:
本发明的目的在于提供一种改性pet混合ldpe高分子材料流延膜自动化分切机及分切工艺,以解决了上述提出的问题。
为解决上述技术问题,本发明是通过以下技术方案实现的:
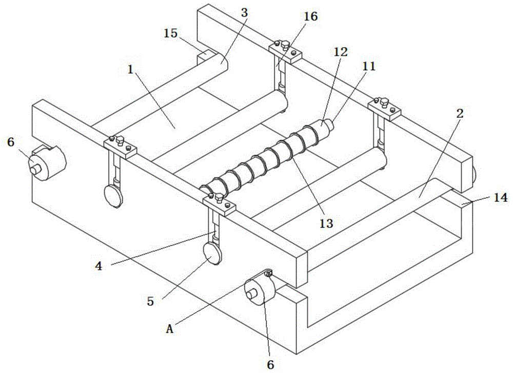
本发明为一种改性pet混合ldpe高分子材料流延膜自动化分切机,包括一u型底座,所述u型底座的中部两内侧壁上固定有一轴杆a,所述轴杆a的外侧可转动的套设有一杆套,所述杆套的外侧等间隙设置若干环形分切刀;所述u型底座的两端部分别设置有两个开口a和两个开口b;两所述开口a之间配合安装有一放卷轴,两所述开口b之间配合安装有一缠绕轴;位于所述缠绕轴和轴杆a、放卷轴和轴杆a之间的u型底座两侧壁上均设置有一张紧轴。
进一步地,所述放卷轴和缠绕轴结构相同;
其中,所述放卷轴包括轴杆本体,所述轴杆本体的两端部分别设置半圆环状的限位环;位于所述开口a和/或开口b处的u型底座外侧壁上均设置有用于固定放卷轴和/或缠绕轴的固定组件。
进一步地,所述固定组件包括固定在u型底座外侧壁上半管体支撑部,所述半管体支撑部的端部设置管体,所述管体端部设置端板,所述端板上螺纹贯穿有一外螺纹管,所述外螺纹管的端部可转动的连接有一可沿管体轴向方向移动的活动板,所述活动板远离外螺纹管的一侧面固定有一轴承,所述轴承的一侧内圈上设置固定柱,所述放卷轴和缠绕轴的端面上均设置有与固定柱配合的盲孔;所述轴承的外圈固定所述活动板上;且所述固定柱的一端连接有一依次贯穿轴承内圈、活动板和外螺纹管的操作杆。
进一步地,所述固定柱和盲孔的截面结构相同,均为一正六边形。
进一步地,所述半管体支撑部的一侧设置有一矩形滑槽,所述矩形滑槽内配合设置有一阻尼滑块。
进一步地,位于所述轴杆a两侧的u型底座上均设置有一对用于安装张紧轴、且沿竖直方向设置的安装槽;所述安装槽的底侧面设置有一盲槽,所述盲槽的底侧面固定有一导向杆a,所述导向杆a的顶部活动套接有一导向套a,所述导向套a的端部设置夹座a,所述夹座a上设置有抱紧张紧轴的弧面凹槽a;所述导向套a和盲槽底侧面之间连接有套设在导向杆a周侧的减震弹簧;所述安装槽的开口端固定有用于夹紧固定张紧轴的安装结构。
进一步地,所述安装结构包括矩形的安装基板,所述安装基板的底侧面设置有一外套管,所述外套管内活动套接有一内导向杆b,所述内导向杆b的端部设置夹座b,所述夹座b上设置有抱紧张紧轴的弧面凹槽b;所述安装基板上螺纹贯穿有一调节螺杆;所述张紧轴包括轴本体,所述轴本体的两端设置有与弧面凹槽b、弧面凹槽a配合夹紧的夹持部,所述夹持部的两端设置限位板;位于所述调节螺杆两侧的安装基板上均设置固定螺栓。
进一步地,所述环形分切刀包括可沿杆套长度方向滑动的固定环,所述固定环的外周侧设置环形刀片、以及设置有将固定环固定在所述杆套上的紧固螺栓。
进一步地,所述杆套外侧面沿其长度方向设置有刻度槽,所述刻度槽上设置刻度线。
一种改性pet混合ldpe高分子材料流延膜的分切工艺,包括:
stp1、调整环形分切刀的数量以及相邻环形分切刀之间的间隙,使得环形分切刀移动至合适位置;
stp2、在电机和缠绕轴之间传动连择传动带,启动电机;从而使得缠绕轴、放卷轴进行同步转动;
stp3、通过调整安装结构对张紧轴的位置进行张紧,流延膜评通过轴杆a外侧设置的环形分切刀进行分切;
stp4、分切完成的流延膜经过一张紧轴的作用下,使得流延膜缠绕到缠绕轴上。
本发明具有以下有益效果:
本发明设计的在杆套上可移动的设置环形分切刀,从而实现该分切机构可以实现不同规格的流延膜分切需求;同时通过在该分切机构两侧设置张紧轴,可以实现缠绕轴缠绕流延膜时对其进行压紧,使得流延膜缠绕时更加紧实;同时实现从放卷轴上释放出来的流延膜平整,放置流延膜发生出现褶皱、膜卷缩。
当然,实施本发明的任一产品并不一定需要同时达到以上所述的所有优点。
附图说明
为了更清楚地说明本发明实施例的技术方案,下面将对实施例描述所需要使用的附图作简单地介绍,显而易见地,下面描述中的附图仅仅是本发明的一些实施例,对于本领域普通技术人员来讲,在不付出创造性劳动的前提下,还可以根据这些附图获得其他的附图。
图1为本发明自动化分切机结构示意图一;
图2为本发明图1中a处局部放大图;
图3为本发明自动化分切机结构示意图二;
图4为本发明自动化分切机俯视视角结构示意图;
图5为本发明图4中a-a处剖面示意图;
图6为本发明图5中c处局部放大图;
图7为本发明图4中b-b处剖面示意图;
图8为本发明图7中b处局部放大图。
具体实施方式
下面将结合本发明实施例中的附图,对本发明实施例中的技术方案进行清楚、完整地描述,显然,所描述的实施例仅仅是本发明一部分实施例,而不是全部的实施例。基于本发明中的实施例,本领域普通技术人员在没有作出创造性劳动前提下所获得的所有其它实施例,都属于本发明保护的范围。
在本发明的描述中,需要理解的是,术语“开孔”、“上”、“下”、“厚度”、“顶”、“中”、“长度”、“内”、“四周”等指示方位或位置关系,仅是为了便于描述本发明和简化描述,而不是指示或暗示所指的组件或元件必须具有特定的方位,以特定的方位构造和操作,因此不能理解为对本发明的限制。
请参阅图1-8所示,本发明为种改性pet混合ldpe高分子材料流延膜自动化分切机,包括一u型底座1,u型底座1的中部两内侧壁上固定有一轴杆a11,轴杆a11的外侧可转动的套设有一杆套12,杆套12的外侧等间隙设置若干环形分切刀13;u型底座1的两端部分别设置有两个开口a14和两个开口b15;两开口a14之间配合安装有一放卷轴2,两开口b15之间配合安装有一缠绕轴3;位于缠绕轴3和轴杆a11、放卷轴2和轴杆a11之间的u型底座1两侧壁上均设置有一张紧轴5。
放卷轴2和缠绕轴3结构相同;放卷轴2包括轴杆本体,轴杆本体的两端部分别设置半圆环状的限位环21;位于开口a14和/或开口b15处的u型底座1外侧壁上均设置有用于固定放卷轴2和/或缠绕轴3的固定组件6。固定组件6包括固定在u型底座1外侧壁上半管体支撑部60,半管体支撑部60的端部设置管体61,管体61端部设置端板62,端板62上螺纹贯穿有一外螺纹管63,外螺纹管63的端部可转动的连接有一可沿管体61轴向方向移动的活动板64,活动板64远离外螺纹管63的一侧面固定有一轴承65,轴承65的一侧内圈上设置固定柱66,放卷轴2和缠绕轴3的端面上均设置有与固定柱66配合的盲孔22;轴承65的外圈固定活动板64上;且固定柱66的一端连接有一依次贯穿轴承65内圈、活动板64和外螺纹管63的操作杆67;固定柱66和盲孔22的截面结构相同,均为一正六边形。
半管体支撑部60的一侧设置有一矩形滑槽601,矩形滑槽601内配合设置有一阻尼滑块602。
位于轴杆a11两侧的u型底座1上均设置有一对用于安装张紧轴5、且沿竖直方向设置的安装槽16;安装槽16的底侧面设置有一盲槽17,盲槽17的底侧面固定有一导向杆a171,导向杆a171的顶部活动套接有一导向套a172,导向套a172的端部设置夹座a173,夹座a173上设置有抱紧张紧轴5的弧面凹槽a174;导向套a172和盲槽17底侧面之间连接有套设在导向杆a171周侧的减震弹簧175;安装槽16的开口端固定有用于夹紧固定张紧轴5的安装结构4;安装结构4包括矩形的安装基板41,安装基板41的底侧面设置有一外套管44,外套管44内活动套接有一内导向杆b45,内导向杆b45的端部设置夹座b46,夹座b46上设置有抱紧张紧轴5的弧面凹槽b47;安装基板41上螺纹贯穿有一调节螺杆43;张紧轴5包括轴本体,轴本体的两端设置有与弧面凹槽b47、弧面凹槽a174配合夹紧的夹持部51,夹持部51的两端设置限位板;位于调节螺杆43两侧的安装基板41上均设置固定螺栓42。
环形分切刀13包括可沿杆套12长度方向滑动的固定环,固定环的外周侧设置环形刀片、以及设置有将固定环固定在杆套12上的紧固螺栓;杆套12外侧面沿其长度方向设置有刻度槽,刻度槽上设置刻度线。
一种改性pet混合ldpe高分子材料流延膜的分切工艺,包括:
stp1、调整环形分切刀13的数量以及相邻环形分切刀13之间的间隙,使得环形分切刀13移动至合适位置;
stp2、在电机和缠绕轴3之间传动连择传动带,启动电机;从而使得缠绕轴3、放卷轴2进行同步转动;
stp3、通过调整安装结构4对张紧轴5的位置进行张紧,流延膜评通过轴杆a11外侧设置的环形分切刀13进行分切;
stp4、分切完成的流延膜经过一张紧轴5的作用下,使得流延膜缠绕到缠绕轴3上。
在本说明书的描述中,参考术语“一个实施例”、“示例”、“具体示例”等的描述意指结合该实施例或示例描述的具体特征、结构、材料或者特点包含于本发明的至少一个实施例或示例中。在本说明书中,对上述术语的示意性表述不一定指的是相同的实施例或示例。而且,描述的具体特征、结构、材料或者特点可以在任何的一个或多个实施例或示例中以合适的方式结合。
以上公开的本发明优选实施例只是用于帮助阐述本发明。优选实施例并没有详尽叙述所有的细节,也不限制该发明仅为所述的具体实施方式。显然,根据本说明书的内容,可作很多的修改和变化。本说明书选取并具体描述这些实施例,是为了更好地解释本发明的原理和实际应用,从而使所属技术领域技术人员能很好地理解和利用本发明。本发明仅受权利要求书及其全部范围和等效物的限制。
技术特征:
1.一种改性pet混合ldpe高分子材料流延膜自动化分切机,其特征在于:包括一u型底座(1),所述u型底座(1)的中部两内侧壁上固定有一轴杆a(11),所述轴杆a(11)的外侧可转动的套设有一杆套(12),所述杆套(12)的外侧等间隙设置若干环形分切刀(13);
所述u型底座(1)的两端部分别设置有两个开口a(14)和两个开口b(15);
两所述开口a(14)之间配合安装有一放卷轴(2),两所述开口b(15)之间配合安装有一缠绕轴(3);
位于所述缠绕轴(3)和轴杆a(11)、放卷轴(2)和轴杆a(11)之间的u型底座(1)两侧壁上均设置有一张紧轴(5)。
2.根据权利要求1所述的一种改性pet混合ldpe高分子材料流延膜自动化分切机,其特征在于,所述放卷轴(2)和缠绕轴(3)结构相同;
其中,所述放卷轴(2)包括轴杆本体,所述轴杆本体的两端部分别设置半圆环状的限位环(21);
位于所述开口a(14)和/或开口b(15)处的u型底座(1)外侧壁上均设置有用于固定放卷轴(2)和/或缠绕轴(3)的固定组件(6)。
3.根据权利要求2所述的一种改性pet混合ldpe高分子材料流延膜自动化分切机,其特征在于,所述固定组件(6)包括固定在u型底座(1)外侧壁上半管体支撑部(60),所述半管体支撑部(60)的端部设置管体(61),所述管体(61)端部设置端板(62),所述端板(62)上螺纹贯穿有一外螺纹管(63),所述外螺纹管(63)的端部可转动的连接有一可沿管体(61)轴向方向移动的活动板(64),所述活动板(64)远离外螺纹管(63)的一侧面固定有一轴承(65),所述轴承(65)的一侧内圈上设置固定柱(66),所述放卷轴(2)和缠绕轴(3)的端面上均设置有与固定柱(66)配合的盲孔(22);
所述轴承(65)的外圈固定所述活动板(64)上;
且所述固定柱(66)的一端连接有一依次贯穿轴承(65)内圈、活动板(64)和外螺纹管(63)的操作杆(67)。
4.根据权利要求3所述的一种改性pet混合ldpe高分子材料流延膜自动化分切机,其特征在于,所述固定柱(66)和盲孔(22)的截面结构相同,均为一正六边形。
5.根据权利要求2所述的一种改性pet混合ldpe高分子材料流延膜自动化分切机,其特征在于,所述半管体支撑部(60)的一侧设置有一矩形滑槽(601),所述矩形滑槽(601)内配合设置有一阻尼滑块(602)。
6.根据权利要求1所述的一种改性pet混合ldpe高分子材料流延膜自动化分切机,其特征在于,位于所述轴杆a(11)两侧的u型底座(1)上均设置有一对用于安装张紧轴(5)、且沿竖直方向设置的安装槽(16);
所述安装槽(16)的底侧面设置有一盲槽(17),所述盲槽(17)的底侧面固定有一导向杆a(171),所述导向杆a(171)的顶部活动套接有一导向套a(172),所述导向套a(172)的端部设置夹座a(173),所述夹座a(173)上设置有抱紧张紧轴(5)的弧面凹槽a(174);
所述导向套a(172)和盲槽(17)底侧面之间连接有套设在导向杆a(171)周侧的减震弹簧(175);
所述安装槽(16)的开口端固定有用于夹紧固定张紧轴(5)的安装结构(4)。
7.根据权利要求6所述的一种改性pet混合ldpe高分子材料流延膜自动化分切机,其特征在于,所述安装结构(4)包括矩形的安装基板(41),所述安装基板(41)的底侧面设置有一外套管(44),所述外套管(44)内活动套接有一内导向杆b(45),所述内导向杆b(45)的端部设置夹座b(46),所述夹座b(46)上设置有抱紧张紧轴(5)的弧面凹槽b(47);
所述安装基板(41)上螺纹贯穿有一调节螺杆(43);
所述张紧轴(5)包括轴本体,所述轴本体的两端设置有与弧面凹槽b(47)、弧面凹槽a(174)配合夹紧的夹持部(51),所述夹持部(51)的两端设置限位板;
位于所述调节螺杆(43)两侧的安装基板(41)上均设置固定螺栓(42)。
8.根据权利要求1所述的一种改性pet混合ldpe高分子材料流延膜自动化分切机,其特征在于,所述环形分切刀(13)包括可沿杆套(12)长度方向滑动的固定环,所述固定环的外周侧设置环形刀片、以及设置有将固定环固定在所述杆套(12)上的紧固螺栓。
9.根据权利要求8所述的一种改性pet混合ldpe高分子材料流延膜自动化分切机,其特征在于,所述杆套(12)外侧面沿其长度方向设置有刻度槽,所述刻度槽上设置刻度线。
10.基于权利要求1-9所述的一种改性pet混合ldpe高分子材料流延膜自动化分切机的分切工艺,其特征在于,包括:
stp1、调整环形分切刀(13)的数量以及相邻环形分切刀(13)之间的间隙,使得环形分切刀(13)移动至合适位置;
stp2、在电机和缠绕轴(3)之间传动连择传动带,启动电机;从而使得缠绕轴(3)、放卷轴(2)进行同步转动;
stp3、通过调整安装结构(4)对张紧轴(5)的位置进行张紧,流延膜评通过轴杆a(11)外侧设置的环形分切刀(13)进行分切;
stp4、分切完成的流延膜经过一张紧轴(5)的作用下,使得流延膜缠绕到缠绕轴(3)上。
技术总结
本发明公开了一种改性PET混合LDPE高分子材料流延膜自动化分切机及分切工艺;涉及流延膜生产技术领域。本发明包括U型底座,U型底座的中部两内侧壁上固定有一轴杆A,轴杆A的外侧可转动的套设有一杆套,杆套的外侧等间隙设置若干环形分切刀;U型底座的两端部分别设置有两个开口A和两个开口B;两开口A之间配合安装有一放卷轴,两开口B之间配合安装有一缠绕轴;位于缠绕轴和轴杆A、放卷轴和轴杆A之间的U型底座两侧壁上均设置有一张紧轴。本发明通过在杆套上可移动的设置环形分切刀,从而实现该分切机构可以实现不同规格的流延膜分切需求。
技术研发人员:王学振;林海
受保护的技术使用者:安徽盛万达环保科技有限公司
技术研发日:2021.04.02
技术公布日:2021.07.27