
本发明涉及烫金纸加工设备,更具体地是一种可自由调节长度的烫金纸多段切割机。
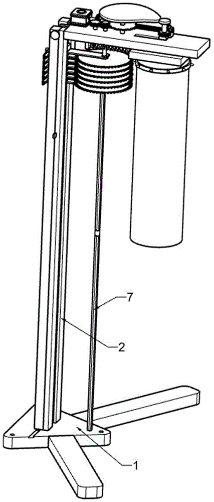
背景技术:
烫金纸又称电化铝,是由在聚酯薄膜(pet)和在其表面涂布的多层化学涂层组成,烫金纸主要用于包装和装饰领域。由于烫金纸较薄,为了便于搬运和销售,通常是将生产好的烫金纸缠绕在卷筒上,所以市场上售卖的烫金纸都是成卷的,但是用户在购买烫金纸卷后通常需要根据实际应用需求将烫金纸卷切割成等量的多等份。为了满足用户切割烫金纸卷的需求,市面上出现了一些专业化的烫金纸卷切割设备,在一定程度上为用户提供了较大的便利,但是这些切割设备在使用时只用对烫金纸卷进行一段一段地切割,无法同时将烫金纸卷切割成等量的多段,不仅导致切割效率较低,还存在等量切割精度把握不够准确的问题,进而导致切割后的烫金纸存在无法使用的情况。
技术实现要素:
基于此,有必要针对上述问题,提供一种能够根据烫金纸的实际使用需求对烫金纸的等量切割长度进行调整,并且能一次性地完成对烫金纸的等量切割操作,更大程度了提高了切割效率,同时还能对不同大小的烫金纸进行切割操作的可自由调节长度的烫金纸多段切割机。
一种可自由调节长度的烫金纸多段切割机,包括有支撑底板、l形支撑架、传动机构、比例调节机构、切割机构和夹紧机构,l形支撑架固定设于支撑底板的上侧,传动机构设于l形支撑架的上部,比例调节机构设于l形支撑架上,切割机构设于l形支撑架的底侧且与传动机构连接,夹紧机构设于切割机构上。
进一步说明,传动机构包括步进电机、条块传动轴、第一斜齿轮、第二斜齿轮、第三斜齿轮、八边形传动轴、第四斜齿轮、缺口圆盘、第一卡柱、第一传动轴、缺齿圆盘、凸轮、第二传动轴、第五斜齿轮和圆形卡块,步进电机固定设于l形支撑架的上侧,条块传动轴通过轴承设于l形支撑架上且条块传动轴的一端与步进电机的输出轴固接,第一斜齿轮滑动式设于条块传动轴的另一端,第二斜齿轮固定设于条块传动轴的一端,第三斜齿轮通过轴承和转轴设于l形支撑架上且与第二斜齿轮啮合,八边形传动轴通过轴承设于l形支撑架的上部,第四斜齿轮固定设于八边形传动轴上且与第三斜齿轮啮合,缺口圆盘固定设于八边形传动轴的上端,第四斜齿轮的上侧固定设有两第一卡柱,第一传动轴通过轴承设于l形支撑架上,缺齿圆盘固定设于第一传动轴上且与缺口圆盘和两第一卡柱接触,凸轮固定设于第一传动轴的上端,第二传动轴设于切割机构上,l形支撑架的上部开设有一滑槽且第二传动轴位于l形支撑架上的滑槽内,第五斜齿轮固定设于第二传动轴上且与第一斜齿轮啮合,圆形卡块固定设于第二传动轴的上端且与凸轮接触。
进一步说明,比例调节机构包括长条状夹紧板、双头螺柱、固定支撑架、摆动板、第二卡柱和刀片支撑架,双头螺柱通过螺纹螺接于l形支撑架的一侧,双头螺柱上螺接有两长条状夹紧板,固定支撑架固定设于l形支撑架上,l形支撑架上滑动式设有若干刀片支撑架,若干刀片支撑架的一端和固定支撑架的一侧都铰接有摆动板且相邻两摆动板的两端转动式连接,其中一刀片支撑架的一端固定设有第二卡柱且第二卡柱与摆动板转动式连接。
进一步说明,切割机构包括旋转刀片、滑动支撑座、牵引弹簧和可调限位卡块,刀片支撑架上转动式设有旋转刀片且旋转刀片与八边形传动轴滑动式连接,滑动支撑座滑动式设于l形支撑架的底侧且第二传动轴通过轴承设于滑动支撑座上,滑动支撑座的一侧与l形支撑架之间设有两牵引弹簧,l形支撑架的两侧都开设有若干卡槽且卡槽内设有可调限位卡块。
进一步说明,夹紧机构设于滑动支撑座上,夹紧机构包括带导向板圆筒、支撑弹簧、滑块、弧形槽板、弧形夹紧板,带导向板圆筒固定设于第二传动轴的下端,带导向板圆筒内滑动式设有若干滑块,滑块与带导向板圆筒之间设有支撑弹簧,弧形槽板转动式设于带导向板圆筒的下端且弧形槽板上开设有若干弧形槽,滑块上固定设有弧形夹紧板且弧形夹紧板的上端滑动式位于弧形槽板的弧形槽内。
进一步说明,还包括有刀片限位柱,刀片限位柱固定设于支撑底板上且与八边形传动轴的下端转动式连接。
进一步说明,还包括有簧片和三角条块,簧片固定设于其中一刀片支撑架的一侧,其中一长条状夹紧板的一侧固定设有若干三角条块。
与现有技术相比,本发明具有如下优点:本发明中四块弧形夹紧板配合能将不同大小的烫金纸卷支撑住,又通过调整可调限位卡块的位置能对滑动支撑座带动烫金纸卷向左移动的距离进行调整,从而使得旋转刀片能够对不同大小和厚度的烫金纸卷进行切割操作;在使用时可以根据烫金纸卷需要进行切割的等分点对六块旋转刀片的位置进行调整,既能满足不同烫金纸卷切割等份的长度需求,又能同时将烫金纸卷切割成多段,更大程度地提高了烫金纸卷等份量切割的效率。
附图说明
图1为本发明的第一种立体结构示意图。
图2为本发明的第二种立体结构示意图。
图3为本发明传动机构的第一种局部立体结构示意图。
图4为本发明a处的放大立体结构示意图。
图5为本发明传动机构的第二种局部立体结构示意图。
图6为本发明的第一种局部立体结构示意图。
图7为本发明夹紧机构的第一种局部立体结构示意图。
图8为本发明夹紧机构的第二种局部立体结构示意图。
图9为本发明的第二种局部立体结构示意图。
附图中各零部件的标记如下:1、支撑底板,2、l形支撑架,3、传动机构,3-1、步进电机,3-2、条块传动轴,3-3、第一斜齿轮,3-4、第二斜齿轮,3-5、第三斜齿轮,3-6、八边形传动轴,3-7、第四斜齿轮,3-8、缺口圆盘,3-9、第一卡柱,3-10、第一传动轴,3-11、缺齿圆盘,3-12、凸轮,3-13、第二传动轴,3-14、第五斜齿轮,3-15、圆形卡块,4、比例调节机构,4-1、长条状夹紧板,4-2、双头螺柱,4-3、固定支撑架,4-4、摆动板,4-5、第二卡柱,4-6、刀片支撑架,5、切割机构,5-1、旋转刀片,5-2、滑动支撑座,5-3、牵引弹簧,5-4、可调限位卡块,6、夹紧机构,6-1、带导向板圆筒,6-2、支撑弹簧,6-3、滑块,6-4、弧形槽板,6-5、弧形夹紧板,7、刀片限位柱,8-1、簧片,8-2、三角条块。
具体实施方式
下面结合附图,对本发明的具体实施方式进行详细描述,但应当理解本发明的保护范围并不受具体实施方式的限制。
除非另有其它明确表示,否则在整个说明书和权利要求书中,术语“包括”或其变换如“包含”或“包括有”等等将被理解为包括所陈述的元件或组成部分,而并未排除其它元件或其它组成部分。
实施例:一种可自由调节长度的烫金纸多段切割机,如图1-9所示,包括有支撑底板1、l形支撑架2、传动机构3、比例调节机构4、切割机构5和夹紧机构6,l形支撑架2固定设于支撑底板1的上侧,传动机构3设于l形支撑架2的上部,用于对烫金纸卷等量切割长度进行调整的比例调节机构4设于l形支撑架2上,用于对烫金纸卷进行等量切割操作的切割机构5设于l形支撑架2的底侧且与传动机构3连接,用于放置不同大小烫金纸卷的夹紧机构6设于切割机构5上。
进一步地,传动机构3包括步进电机3-1、条块传动轴3-2、第一斜齿轮3-3、第二斜齿轮3-4、第三斜齿轮3-5、八边形传动轴3-6、第四斜齿轮3-7、缺口圆盘3-8、第一卡柱3-9、第一传动轴3-10、缺齿圆盘3-11、凸轮3-12、第二传动轴3-13、第五斜齿轮3-14和圆形卡块3-15,步进电机3-1固定设于l形支撑架2的上侧,条块传动轴3-2通过轴承设于l形支撑架2上且条块传动轴3-2的一端与步进电机3-1的输出轴固接,第一斜齿轮3-3滑动式设于条块传动轴3-2上远离步进电机3-1的一端,第二斜齿轮3-4固定设于条块传动轴3-2与步进电机3-1接近的一端,第三斜齿轮3-5通过轴承和转轴设于l形支撑架2上且与第二斜齿轮3-4啮合,八边形传动轴3-6通过轴承设于l形支撑架2的上部,第四斜齿轮3-7固定设于八边形传动轴3-6上且与第三斜齿轮3-5啮合,缺口圆盘3-8固定设于八边形传动轴3-6的上端,第四斜齿轮3-7的上侧固定设有两第一卡柱3-9,第一传动轴3-10通过轴承设于l形支撑架2上,缺齿圆盘3-11固定设于第一传动轴3-10上且与缺口圆盘3-8和两第一卡柱3-9接触,凸轮3-12固定设于第一传动轴3-10的上端且位于缺齿圆盘3-11的上方,第二传动轴3-13设于切割机构5上,l形支撑架2的上部开设有一滑槽且第二传动轴3-13位于l形支撑架2上的滑槽内,第五斜齿轮3-14固定设于第二传动轴3-13上且与第一斜齿轮3-3啮合,圆形卡块3-15固定设于第二传动轴3-13的上端且与凸轮3-12接触,凸轮3-12与圆形卡块3-15配合能使第二传动轴3-1向右移动。
进一步地,比例调节机构4包括长条状夹紧板4-1、双头螺柱4-2、固定支撑架4-3、摆动板4-4、第二卡柱4-5和刀片支撑架4-6,双头螺柱4-2通过螺纹螺接于l形支撑架2与步进电机3-1接近的一侧,双头螺柱4-2上螺接有两长条状夹紧板4-1,固定支撑架4-3固定设于l形支撑架2上,l形支撑架2上滑动式设有六个刀片支撑架4-6且相邻两刀片支撑架4-6的距离相等,六个刀片支撑架4-6的一端和固定支撑架4-3的一侧都铰接有摆动板4-4且相邻两摆动板4-4的两端转动式连接,其中一刀片支撑架4-6的一端固定设有第二卡柱4-5且第二卡柱4-5与摆动板4-4转动式连接,第二卡柱4-5与摆动板4-4配合能对六个刀片支撑架4-6之间的距离进行调整。
切割机构5包括旋转刀片5-1、滑动支撑座5-2、牵引弹簧5-3和可调限位卡块5-4,刀片支撑架4-6上转动式设有旋转刀片5-1且旋转刀片5-1与八边形传动轴3-6滑动式连接,在八边形传动轴3-6的带动下旋转刀片5-1能对烫金纸卷进行等量切割操作,滑动支撑座5-2滑动式设于l形支撑架2的底侧且第二传动轴3-13通过轴承设于滑动支撑座5-2上,滑动支撑座5-2的一侧与l形支撑架2之间设有两牵引弹簧5-3,l形支撑架2的两侧都开设有四个卡槽且卡槽内设有可调限位卡块5-4,对可调限位卡块5-4与滑动支撑座5-2之间的距离进行调整就能对烫金纸卷和旋转刀片5-1之间的距离做出调整。
夹紧机构6设于滑动支撑座5-2上,夹紧机构6包括带导向板圆筒6-1、支撑弹簧6-2、滑块6-3、弧形槽板6-4、弧形夹紧板6-5,带导向板圆筒6-1固定设于第二传动轴3-13的下端,带导向板圆筒6-1内滑动式设有四块滑块6-3,滑块6-3与带导向板圆筒6-1之间设有支撑弹簧6-2,弧形槽板6-4转动式设于带导向板圆筒6-1的下端且弧形槽板6-4上开设有四个弧形槽,滑块6-3上固定设有弧形夹紧板6-5且弧形夹紧板6-5的上端滑动式位于弧形槽板6-4的弧形槽内,转动弧形槽板6-4可使四块弧形夹紧板6-5移动接近或远离,第二传动轴3-13通过夹紧机构6能带动烫金纸卷转动。
工作过程:先转动弧形槽板6-4使得四块弧形夹紧板6-5向内接近,支撑弹簧6-2压缩,然后工人将烫金纸卷套装到四块弧形夹紧板6-5上,接着松开弧形槽板6-4使得四块弧形夹紧板6-5向外移动,支撑弹簧6-2复位,能将烫金纸卷支撑住,然后工人根据烫金纸卷的大小对烫金纸卷与旋转刀片5-1之间的距离进行调整,工人可以通过调整可调限位卡块5-4的位置来调整滑动支撑座5-2向左移动的距离,从而能对烫金纸卷向左移动至与旋转刀片5-1接触的距离做出调整,使得旋转刀片5-1能更好地对不同大小的烫金纸卷进行切割操作。
在进行切割之前,工人还可以根据烫金纸卷切割等份的实际需求对六块旋转刀片5-1的位置进行调整,使得每块旋转刀片5-1都能对准烫金纸卷需要进行切割的等分点,由此,可同时对烫金纸卷进行多等分切割操作,利用提高烫金纸卷的切割效率。工人通过按压第二卡柱4-5向下移动,第二卡柱4-5通过摆动板4-4会带动刀片支撑架4-6和旋转刀片5-1向下移动,并且烫金纸卷要切割的等份越少,刀片支撑架4-6和旋转刀片5-1就要向下移动越大的距离。
准备工作做好后,工人启动步进电机3-1逆时针转动,步进电机3-1通过条块传动轴3-2会带动第一斜齿轮3-3和第二斜齿轮3-4逆时针转动,第二斜齿轮3-4通过第三斜齿轮3-5和第四斜齿轮3-7会带动八边形传动轴3-6和缺口圆盘3-8逆时针转动,八边形传动轴3-6会带动旋转刀片5-1顺时针转动;缺口圆盘3-8通过缺齿圆盘3-11会带动第一传动轴3-10和凸轮3-12顺时针转动,且在两第一卡柱3-9的作用下,缺口圆盘3-8转动一圈会带动缺齿圆盘3-11转动一个齿,所以凸轮3-12在顺时针转动的过程中会与圆形卡块3-15缓慢分离。
第一斜齿轮3-3通过第五斜齿轮3-14会带动第二传动轴3-13顺时针转动,第二传动轴3-13会带动夹紧机构6和烫金纸卷顺时针转动,由于凸轮3-12不再挤压圆形卡块3-15,所以牵引弹簧5-3会带动滑动支撑座5-2向左移动,滑动支撑座5-2会通过第二传动轴3-13会带动夹紧机构6和烫金纸卷向左移动,烫金纸卷能移动至与旋转刀片5-1接触,此时,旋转刀片5-1能对烫金纸卷进行等份切割操作。烫金纸卷在进行切割时还会缓慢向左移动,所以旋转刀片5-1能对缠绕在一起的多层烫金纸进行切割,由于事先已经对烫金纸卷的移动距离进行了调整,所以当旋转刀片5-1对烫金纸卷完成切割操作后也不会将卷筒切断,防止切割好的烫金纸卷出现直接掉落的情况。
烫金纸卷完成等量切割操作后,凸轮3-12会再次挤压圆形卡块3-15,滑动支撑座5-2会带动第二传动轴3-13、夹紧机构6和烫金纸卷向右移动复位,烫金纸卷会与旋转刀片5-1分离。完成复位后,工人将步进电机3-1关闭,然后转动弧形槽板6-4使得四块弧形夹紧板6-5能向内与卷筒分离,此时,工人可以将切割好的烫金纸卷取下。
还包括有刀片限位柱7,刀片限位柱7固定设于支撑底板1上且与八边形传动轴3-6的下端转动式连接。
刀片限位柱7可以对不用进行切割操作的旋转刀片5-1起到限位的作用,避免八边形传动轴3-6在转动过程中带动多余的旋转刀片5-1转动,从而可以降低机械的损耗程度。
还包括有簧片8-1和三角条块8-2,簧片8-1固定设于其中一刀片支撑架4-6的一侧,其中一长条状夹紧板4-1的一侧固定设有四块三角条块8-2。
三角条块8-2是为了便于工人在对刀片支撑架4-6和旋转刀片5-1的位置进行调整时能更好地确定第一个刀片支撑架4-6和旋转刀片5-1的位置,并且簧片8-1与三角条块8-2配合能第一个刀片支撑架4-6起到限位的作用。
前述对本发明的具体示例性实施方案的描述是为了说明和例证的目的。这些描述并非想将本发明限定为所公开的精确形式,并且很显然,根据上述教导,可以进行很多改变和变化。对示例性实施例进行选择和描述的目的在于解释本发明的特定原理及其实际应用,从而使得本领域的技术人员能够实现并利用本发明的各种不同的示例性实施方案以及各种不同的选择和改变。本发明的范围意在由权利要求书及其等同形式所限定。
技术特征:
1.一种可自由调节长度的烫金纸多段切割机,其特征是:包括有支撑底板(1)、l形支撑架(2)、传动机构(3)、比例调节机构(4)、切割机构(5)和夹紧机构(6),l形支撑架(2)固定设于支撑底板(1)的上侧,传动机构(3)设于l形支撑架(2)的上部,比例调节机构(4)设于l形支撑架(2)上,切割机构(5)设于l形支撑架(2)的底侧且与传动机构(3)连接,夹紧机构(6)设于切割机构(5)上。
2.根据权利要求1所述的一种可自由调节长度的烫金纸多段切割机,其特征是:传动机构(3)包括步进电机(3-1)、条块传动轴(3-2)、第一斜齿轮(3-3)、第二斜齿轮(3-4)、第三斜齿轮(3-5)、八边形传动轴(3-6)、第四斜齿轮(3-7)、缺口圆盘(3-8)、第一卡柱(3-9)、第一传动轴(3-10)、缺齿圆盘(3-11)、凸轮(3-12)、第二传动轴(3-13)、第五斜齿轮(3-14)和圆形卡块(3-15),步进电机(3-1)固定设于l形支撑架(2)的上侧,条块传动轴(3-2)通过轴承设于l形支撑架(2)上且条块传动轴(3-2)的一端与步进电机(3-1)的输出轴固接,第一斜齿轮(3-3)滑动式设于条块传动轴(3-2)的另一端,第二斜齿轮(3-4)固定设于条块传动轴(3-2)的一端,第三斜齿轮(3-5)通过轴承和转轴设于l形支撑架(2)上且与第二斜齿轮(3-4)啮合,八边形传动轴(3-6)通过轴承设于l形支撑架(2)的上部,第四斜齿轮(3-7)固定设于八边形传动轴(3-6)上且与第三斜齿轮(3-5)啮合,缺口圆盘(3-8)固定设于八边形传动轴(3-6)的上端,第四斜齿轮(3-7)的上侧固定设有两第一卡柱(3-9),第一传动轴(3-10)通过轴承设于l形支撑架(2)上,缺齿圆盘(3-11)固定设于第一传动轴(3-10)上且与缺口圆盘(3-8)和两第一卡柱(3-9)接触,凸轮(3-12)固定设于第一传动轴(3-10)的上端,第二传动轴(3-13)设于切割机构(5)上,l形支撑架(2)的上部开设有一滑槽且第二传动轴(3-13)位于l形支撑架(2)上的滑槽内,第五斜齿轮(3-14)固定设于第二传动轴(3-13)上且与第一斜齿轮(3-3)啮合,圆形卡块(3-15)固定设于第二传动轴(3-13)的上端且与凸轮(3-12)接触。
3.根据权利要求2所述的一种可自由调节长度的烫金纸多段切割机,其特征是:比例调节机构(4)包括长条状夹紧板(4-1)、双头螺柱(4-2)、固定支撑架(4-3)、摆动板(4-4)、第二卡柱(4-5)和刀片支撑架(4-6),双头螺柱(4-2)通过螺纹螺接于l形支撑架(2)的一侧,双头螺柱(4-2)上螺接有两长条状夹紧板(4-1),固定支撑架(4-3)固定设于l形支撑架(2)上,l形支撑架(2)上滑动式设有若干刀片支撑架(4-6),若干刀片支撑架(4-6)的一端和固定支撑架(4-3)的一侧都铰接有摆动板(4-4)且相邻两摆动板(4-4)的两端转动式连接,其中一刀片支撑架(4-6)的一端固定设有第二卡柱(4-5)且第二卡柱(4-5)与摆动板(4-4)转动式连接。
4.根据权利要求3所述的一种可自由调节长度的烫金纸多段切割机,其特征是:切割机构(5)包括旋转刀片(5-1)、滑动支撑座(5-2)、牵引弹簧(5-3)和可调限位卡块(5-4),刀片支撑架(4-6)上转动式设有旋转刀片(5-1)且旋转刀片(5-1)与八边形传动轴(3-6)滑动式连接,滑动支撑座(5-2)滑动式设于l形支撑架(2)的底侧且第二传动轴(3-13)通过轴承设于滑动支撑座(5-2)上,滑动支撑座(5-2)的一侧与l形支撑架(2)之间设有两牵引弹簧(5-3),l形支撑架(2)的两侧都开设有若干卡槽且卡槽内设有可调限位卡块(5-4)。
5.根据权利要求4所述的一种可自由调节长度的烫金纸多段切割机,其特征是:夹紧机构(6)设于滑动支撑座(5-2)上,夹紧机构(6)包括带导向板圆筒(6-1)、支撑弹簧(6-2)、滑块(6-3)、弧形槽板(6-4)、弧形夹紧板(6-5),带导向板圆筒(6-1)固定设于第二传动轴(3-13)的下端,带导向板圆筒(6-1)内滑动式设有若干滑块(6-3),滑块(6-3)与带导向板圆筒(6-1)之间设有支撑弹簧(6-2),弧形槽板(6-4)转动式设于带导向板圆筒(6-1)的下端且弧形槽板(6-4)上开设有若干弧形槽,滑块(6-3)上固定设有弧形夹紧板(6-5)且弧形夹紧板(6-5)的上端滑动式位于弧形槽板(6-4)的弧形槽内。
6.根据权利要求5所述的一种可自由调节长度的烫金纸多段切割机,其特征是:还包括有刀片限位柱(7),刀片限位柱(7)固定设于支撑底板(1)上且与八边形传动轴(3-6)的下端转动式连接。
7.根据权利要求6所述的一种可自由调节长度的烫金纸多段切割机,其特征是:还包括有簧片(8-1)和三角条块(8-2),簧片(8-1)固定设于其中一刀片支撑架(4-6)的一侧,其中一长条状夹紧板(4-1)的一侧固定设有若干三角条块(8-2)。
技术总结
本发明涉及烫金纸加工设备,更具体地是一种可自由调节长度的烫金纸多段切割机,包括有支撑底板、L形支撑架、传动机构、比例调节机构和切割机构等;L形支撑架固定设于支撑底板的上侧,传动机构设于L形支撑架的上部,比例调节机构设于L形支撑架上,切割机构设于L形支撑架的底侧且与传动机构连接。本发明能够根据烫金纸的实际使用需求对烫金纸的等量切割长度进行调整,并且能一次性地完成对烫金纸的等量切割操作,更大程度了提高了切割效率,同时还能对不同大小的烫金纸进行切割操作,能更好地满足烫金纸卷的等量切割需求。
技术研发人员:刘江华
受保护的技术使用者:刘江华
技术研发日:2020.12.18
技术公布日:2021.05.11