
本实用新型涉及一种烫金纸切割机。
背景技术:
在印刷生产中对产品进行烫金印刷时要用到烫金纸,烫金纸为卷筒纸,根据实际生产的情况,需要不同尺寸的烫金纸,此时需要用分切机对卷筒烫金纸进行分切处理以符合所需要宽度的产品。
技术实现要素:
有鉴于此,针对上述的不足之处,本实用新型提供一种烫金纸切割机以解决上述问题。
为了实现以上目的,本实用新型采用这样一种烫金纸切割机,其包括底座,所述底座的两侧设置有第一支撑架与第二支撑架,所述第一支撑架与第二支撑架之间的上端设置有刻度尺以及转轴,所述第一支撑架的一侧还设置有驱动罩,所述驱动罩内设置有驱动机构,所述驱动机构与转轴之间通过设置卡档盘联动连接,所述刻度尺设置在转轴的上方,所述第一支撑架与第二支撑架的下端之间设置有第一滑移杆、第二滑移杆、第一螺杆以及第二螺杆,所述第一滑移杆、第二滑移杆、第一螺杆以及第二螺杆上连接有移动块,所述移动块上设置有切割刀,所述第二支撑架的一端还设置有弹性伸缩顶杆。
本实用新型进一步设置所述第一滑移杆、第二滑移杆、第一螺杆以及第二螺杆均平行设置。
本实用新型进一步设置所述驱动机构包括驱动电机、驱动轴、第一皮带轮、第二皮带轮,所述第一皮带轮和第二皮带轮之间设置有传送皮带,所述第二皮带轮设置在转轴一端。
本实用新型进一步设置所述第一螺杆以及第二螺杆设置在第一滑移杆和第二滑移杆之间,所述第一螺杆靠近第一滑移杆设置,所述第二螺杆靠近第二滑移杆设置。
本实用新型进一步设置所述移动块上形成第一圆孔、第二圆孔、第一螺孔以及第二螺孔,所述第一圆孔中有第一滑移杆通过,所述第二圆孔内有第二滑移杆通过,所述第一螺孔内有第一螺杆通过,所述第二螺孔内有第二螺杆通过,所述第一螺孔以及第二螺孔设置在第一圆孔和第二圆孔之间,所述第一螺孔靠近第一圆孔设置,所述第二螺孔靠近第二圆孔设置。
本实用新型进一步设置所述第一滑移杆、第二滑移杆、第一螺杆以及第二螺杆间隔设置,即所述第一螺杆设置在第一滑移杆和第二滑移杆之间,所述第二螺杆设置在第二滑移杆远离第一螺杆的一侧。
本实用新型进一步设置所述移动块上形成第一圆孔、第二圆孔、第一螺孔以及第二螺孔,所述第一圆孔中有第一滑移杆通过,所述第二圆孔内有第二滑移杆通过,所述第一螺孔内有第一螺杆通过,所述第二螺孔内有第二螺杆通过,所述第一螺孔设置在第一圆孔和第二圆孔之间,所述第二螺孔靠近第二圆孔远离第一圆孔一侧设置。
本实用新型的有益效果:在使用时,首先将转轴向设置有弹性伸缩顶杆一侧移动将弹性伸缩顶杆顶开,将转轴取下,然后将烫金纸卷筒纸套入转轴,再将转轴复位,使其与卡档盘连接固定,然后通过设置在转轴上方的刻度尺进行量取说所需的尺寸,移动移动块,从而将其切割刀移动到所需的位置,启动驱动电机,通过皮带带动转轴的转动,然后实现切割,操作方便,而且设置的刻度尺能够精准的读取所需的长度,切割效率高。
附图说明
图1为本实用新型实施例的主视图。
图2为本实用新型第一种实施例的俯视图。
图3为本实用新型第一种实施例移动块的示意图。
图4为本实用新型第二种实施例的俯视图。
图5为本实用新型第二种实施例移动块的示意图。
具体实施方式
为使本实用新型实施例的目的、技术方案和优点更加清楚,下面将结合附图对本实用新型的技术方案进行清楚、完整地描述,显然,所描述的实施例是本实用新型一部分实施例,而不是全部的实施例。基于本实用新型中的实施例,本领域普通技术人员在没有做出创造性劳动前提下所获得的所有其他实施例,都属于本实用新型保护的范围。
如图1-3所示,为本实用新型第一种实施方式。
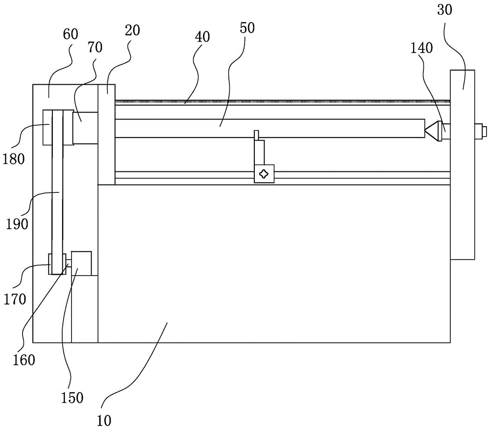
本实用新型为一种烫金纸切割机,包括底座10,所述底座的两侧设置有第一支撑架20与第二支撑架30,所述第一支撑架20与第二支撑架30之间的上端设置有刻度尺40以及转轴50,所述第一支撑架20的一侧还设置有驱动罩60,所述驱动罩60内设置有驱动机构,所述驱动机构与转轴50之间通过设置卡档盘70联动连接,所述刻度尺40设置在转轴50的上方,所述第一支撑架20与第二支撑架30的下端之间设置有第一滑移杆80、第二滑移杆90、第一螺杆100以及第二螺杆110,所述第一滑移杆80、第二滑移杆90、第一螺杆100以及第二螺杆110上连接有移动块120,所述移动块120上设置有切割刀130,所述第二支撑架30的一端还设置有弹性伸缩顶杆140。所述第一滑移杆80、第二滑移杆90、第一螺杆100以及第二螺杆110均平行设置。所述驱动机构包括驱动电机150、驱动轴160、第一皮带轮170、第二皮带轮180,所述第一皮带轮170和第二皮带轮180之间设置有传送皮带190,所述第二皮带轮180设置在转轴50一端,所述第一螺杆100以及第二螺杆110设置在第一滑移杆80和第二滑移杆90之间,所述第一螺杆100靠近第一滑移杆80设置,所述第二螺杆110靠近第二滑移杆90设置,所述移动块120上形成第一圆孔120a、第二圆孔120b以及第一螺孔120c以及第二螺孔120d,所述第一圆孔120a中有第一滑移杆80通过,所述第二圆孔120b内有第二滑移杆90通过,所述第一螺孔120c内有第一螺杆100通过,所述第二螺孔120d内有第二螺杆110通过,所述第一螺孔120c以及第二螺孔120d设置在第一圆孔120a和第二圆孔120b之间,所述第一螺孔120c靠近第一圆孔120a设置,所述第二螺孔120d靠近第二圆孔120b设置。
本实用新型在使用时,首先将转轴向设置有弹性伸缩顶杆一侧移动将弹性伸缩顶杆顶开,将转轴取下,然后将烫金纸卷筒纸套入转轴,再将转轴复位,使其与卡档盘连接固定,然后通过设置在转轴上方的刻度尺进行量取说所需的尺寸,移动移动块,从而将其切割刀移动到所需的位置,启动驱动电机,通过皮带带动转轴的转动,然后实现切割,操作方便,而且设置的刻度尺能够精准的读取所需的长度,切割效率高。
如图1、图4、图5所示为本实用新型第二种实施方式。
本实用新型为一种烫金纸切割机,包括底座10,所述底座的两侧设置有第一支撑架20与第二支撑架30,所述第一支撑架20与第二支撑架30之间的上端设置有刻度尺40以及转轴50,所述第一支撑架20的一侧还设置有驱动罩60,所述驱动罩60内设置有驱动机构,所述驱动机构与转轴50之间通过设置卡档盘70联动连接,所述刻度尺40设置在转轴50的上方,所述第一支撑架20与第二支撑架30的下端之间设置有第一滑移杆80、第二滑移杆90、第一螺杆100以及第二螺杆110,所述第一滑移杆80、第二滑移杆90、第一螺杆100以及第二螺杆110上连接有移动块120,所述移动块120上设置有切割刀130,所述第二支撑架30的一端还设置有弹性伸缩顶杆140。所述第一滑移杆80、第二滑移杆90、第一螺杆100以及第二螺杆110均平行设置。所述驱动机构包括驱动电机150、驱动轴160、第一皮带轮170、第二皮带轮180,所述第一皮带轮170和第二皮带轮180之间设置有传送皮带190,所述第二皮带轮180设置在转轴50一端,所述第一滑移杆80、第二滑移杆90、第一螺杆100以及第二螺杆110间隔设置,即所述第一螺杆100设置在第一滑移杆80和第二滑移杆90之间,所述第二螺杆110设置在第二滑移杆90远离第一螺杆100的一侧。移动块120上形成第一圆孔120a、第二圆孔120b、第一螺孔120c以及第二螺孔120d,所述第一圆孔120a中有第一滑移杆80通过,所述第二圆孔120b内有第二滑移杆90通过,所述第一螺孔120c内有第一螺杆100通过,所述第二螺孔120d内有第二螺杆110通过,所述第一螺孔120c设置在第一圆孔120a和第二圆孔120b之间,所述第二螺孔120d靠近第二圆孔120b远离第一圆孔120a一侧设置。
另外,在本实用新型实施例的描述中,除非另有明确的规定和限定,术语“安装”、“相连”、“连接”应做广义理解,例如,可以是固定连接,也可以是可拆卸连接,或一体地连接;可以是机械连接,也可以是电连接;可以是直接相连,也可以通过中间媒介间接相连,可以是两个元件内部的连通。对于本领域的普通技术人员而言,可以具体情况理解上述术语在本实用新型中的具体含义。
在本实用新型的描述中,需要说明的是,术语“第一”、“第二”、 “第三”仅用于描述目的,而不能理解为指示或暗示相对重要性。
最后应说明的是:以上所述实施例,仅为本实用新型的具体实施方式,用以说明本实用新型技术方案,而非对其限制,本实用新型的保护范围并不局限于此,尽管参照前述实施例对本实用新型进行了详细的说明,本领域的普通技术人员应当理解:任何熟悉本技术领域的技术人员 在本实用新型揭露的技术范围内,其依然可以对前述实施例所记载的技术方案进行修改或可轻易想到变化,或者对其中部分技术特征进行等同替换;而这些修改、变化或者替换,并不使相应技术方案的本质脱离本实用新型实施例技术方案的精神和范围,都应涵盖在本实用新型的保护范围之内。因此,本实用新型的保护范围应所述以权利要求的保护范围为准。
技术特征:
1.一种烫金纸切割机,其特征在于:包括底座,所述底座的两侧设置有第一支撑架与第二支撑架,所述第一支撑架与第二支撑架之间的上端设置有刻度尺以及转轴,所述第一支撑架的一侧还设置有驱动罩,所述驱动罩内设置有驱动机构,所述驱动机构与转轴之间通过设置卡档盘联动连接,所述刻度尺设置在转轴的上方,所述第一支撑架与第二支撑架的下端之间设置有第一滑移杆、第二滑移杆、第一螺杆以及第二螺杆,所述第一滑移杆、第二滑移杆、第一螺杆以及第二螺杆上连接有移动块,所述移动块上设置有切割刀,所述第二支撑架的一端还设置有弹性伸缩顶杆。
2.根据权利要求1所述的烫金纸切割机,其特征在于:所述第一滑移杆、第二滑移杆、第一螺杆以及第二螺杆均平行设置。
3.根据权利要求1或2所述的烫金纸切割机,其特征在于:所述驱动机构包括驱动电机、驱动轴、第一皮带轮、第二皮带轮,所述第一皮带轮和第二皮带轮之间设置有传送皮带,所述第二皮带轮设置在转轴一端。
4.根据权利要求3所述的烫金纸切割机,其特征在于:所述第一螺杆以及第二螺杆设置在第一滑移杆和第二滑移杆之间,所述第一螺杆靠近第一滑移杆设置,所述第二螺杆靠近第二滑移杆设置。
5.根据权利要求4所述的烫金纸切割机,其特征在于:所述移动块上形成第一圆孔、第二圆孔、第一螺孔以及第二螺孔,所述第一圆孔中有第一滑移杆通过,所述第二圆孔内有第二滑移杆通过,所述第一螺孔内有第一螺杆通过,所述第二螺孔内有第二螺杆通过,所述第一螺孔以及第二螺孔设置在第一圆孔和第二圆孔之间,所述第一螺孔靠近第一圆孔设置,所述第二螺孔靠近第二圆孔设置。
6.根据权利要求3所述的烫金纸切割机,其特征在于:所述第一滑移杆、第二滑移杆、第一螺杆以及第二螺杆间隔设置,即所述第一螺杆设置在第一滑移杆和第二滑移杆之间,所述第二螺杆设置在第二滑移杆远离第一螺杆的一侧。
7.根据权利要求6所述的烫金纸切割机,其特征在于:所述移动块上形成第一圆孔、第二圆孔、第一螺孔以及第二螺孔,所述第一圆孔中有第一滑移杆通过,所述第二圆孔内有第二滑移杆通过,所述第一螺孔内有第一螺杆通过,所述第二螺孔内有第二螺杆通过,所述第一螺孔设置在第一圆孔和第二圆孔之间,所述第二螺孔靠近第二圆孔远离第一圆孔一侧设置。
技术总结
本实用新型涉及一种烫金纸切割机,其包括底座,所述底座的两侧设置有第一支撑架与第二支撑架,所述第一支撑架与第二支撑架之间的上端设置有刻度尺以及转轴,所述第一支撑架的一侧还设置有驱动罩,所述驱动罩内设置有驱动机构,所述驱动机构与转轴之间通过设置卡档盘联动连接,所述刻度尺设置在转轴的上方,所述第一支撑架与第二支撑架的下端之间设置有第一滑移杆、第二滑移杆、第一螺杆以及第二螺杆,所述第一滑移杆、第二滑移杆、第一螺杆以及第二螺杆上连接有移动块,所述移动块上设置有切割刀,所述第二支撑架的一端还设置有弹性伸缩顶杆。本实用新型切割效率高,切割精准。
技术研发人员:沈朱伟
受保护的技术使用者:苍南县星宇烫金材料有限公司
技术研发日:2018.10.19
技术公布日:2019.05.31