
本实用新型属于印刷包装技术领域,具体涉及一种复合材料包装膜分切机。
背景技术:
现有的分切机在将包装膜分切好之后,需要人工将一卷卷分切好的包装膜从分切机的收卷辊中取下,再搬运走;现有的分切机采用通常采用单辊收卷,在卸辊时,需要停机换上新的纸芯筒继续卷绕,工作效率低;同时纸芯筒在卷绕之前,需要先将薄膜的膜接头固定在纸芯筒上,否则膜接头处容易脱落,影响包覆,传统的做法是人工采用胶带进行粘接,在撕扯胶带时,往往采用剪刀或牙齿将其撕断,操作过程不卫生也比较复杂,现有分切机通常采用卸卷架或升降小车来帮助卸卷,这种卸卷方式整个过程耗时很长,效率低,人力成本高。
技术实现要素:
本实用新型的目的是为了克服上述现有技术存在的不足之处,而提供一种收卷及卸卷过程操作较为简便的复合材料包装膜分切机,其工作效率高,人力成本低,同时解决了薄膜接头在收卷缠绕过程中容易脱落,人工粘接较为复杂的技术问题。
为了解决背景技术所存在的问题,本实用新型采用如下技术方案:一种复合材料包装膜分切机,包括收卷架,收卷架上平行设置两个收卷辊,收卷辊的两端设有翻转支架,所述翻转支架通过翻转架转轴转动设置在所述收卷架上,翻转支架的下方设置一膜卷托盘,收卷架的一侧设有翻转电机,所述翻转电机通过传动机构与翻转架转轴传动连接,所述翻转支架包括固定在翻转架转轴上的左侧板和右侧板,左侧板的上下两端各设置一驱动轴,驱动轴的一端开设轴孔,轴孔内设置花键齿,驱动轴的另一端与设置在左侧板上的收卷电机传动连接,右侧板上固定设置一导向筒,导向筒中导向设置一支撑轴,支撑轴的一端开设锥度孔,所述驱动轴的轴线与支撑轴的轴线共线,所述右侧板上还设有一伸缩气缸,伸缩气缸的活动端与支撑轴的外周面固定连接,所述收卷辊包括轴本体,轴本体的一侧设置带有花键槽的圆柱端头,该花键槽与驱动轴中的花键齿相齿形配合,轴本体另一侧设置有与所述锥度孔相配合的圆锥端头,轴本体上套设有两个限位块,两限位块对向设置在轴本体的左右两端,所述限位块包括限位座及固定在限位座一侧的插接块,插接块的外径与纸芯筒的内径大小相适配,限位座上设有用于顶紧轴本体的调节螺栓,收卷辊安装在驱动轴与支撑轴之间。
收卷辊上套置有纸芯筒,纸芯筒的外周面粘接一双面胶带,双面胶带的内面贴粘接在所述纸芯筒上,内面贴上覆盖一外面贴,外面贴的其中一侧设有粘接翼。
当翻转支架上端的收卷辊进行卷膜操作时,翻转支架下端的收卷辊恰位于托盘的上端,通过伸缩气缸便于完成卸卷操作,效率高,人力成本低,操作方便,收卷辊上的两个插接块能够将折弯或压扁的纸芯筒牢固定位在两限位块之间的轴本体上,避免了被压的纸芯筒的浪费,同时在纸芯筒的外表面上粘接有双面胶带,解决了薄膜接头在缠绕时容易脱落,人工粘接较为复杂的技术问题,本实用新型通过翻转支架及设置在翻转支架上下两端的收卷辊,能够轻松实现膜卷的收卷及卸卷操作,利于企业的推广应用。
附图说明:
图1是本实用新型的结构示意图;
图2是收卷辊的结构示意图。
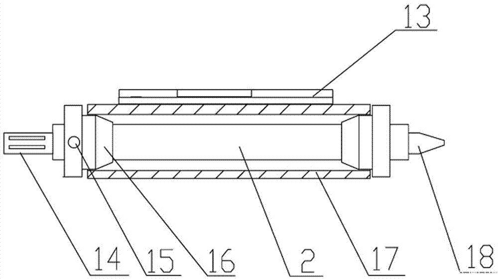
图中:1.收卷架,2.收卷辊,3.翻转架转轴,4.传动机构,5.翻转电机,6.收卷电机,7.翻转支架,8.驱动轴,9.支撑轴,10.伸缩气缸,11.导向筒,12.膜卷,13.双面胶带,14.花键槽,15.调节螺栓,16.限位块,17.纸芯筒,18.圆锥端头,19.膜卷托盘。
具体实施方式:
参照图1-2,一种复合材料包装膜分切机,包括收卷架1,收卷架1上平行设置两个收卷辊2,收卷辊2的两端设有翻转支架7,所述翻转支架7通过翻转架转轴3转动设置在所述收卷架1上,翻转支架的下方设置一膜卷托盘19,收卷架1的一侧设有翻转电机5,所述翻转电机5通过传动机构4与翻转架转轴3传动连接,所述翻转支架7包括固定在翻转架转轴3上的左侧板和右侧板,左侧板的上下两端各设置一驱动轴8,驱动轴8的一端开设轴孔,轴孔内设置花键齿,驱动轴8的另一端与设置在左侧板上的收卷电机6传动连接,右侧板上固定设置一导向筒11,导向筒11中导向设置一支撑轴9,支撑轴9的一端开设锥度孔,所述驱动轴8的轴线与支撑轴9的轴线共线,所述右侧板上还设有一伸缩气缸10,伸缩气缸10的活动端与支撑轴9的的外周面固定连接,所述收卷辊2包括轴本体,轴本体的一侧设置带有花键槽14的圆柱端头,该花键槽14与驱动轴中的花键齿相齿形配合,轴本体另一侧设置有与所述锥度孔相配合的圆锥端头18,轴本体上套设有两个限位块16,两限位块16对向设置在轴本体的左右两端,所述限位块16包括限位座及固定在限位座一侧的插接块,插接块的外径与纸芯筒17的内径大小相适配,插接块的内径与轴本体的外径大小相适配,限位座上设有用于顶紧轴本体的调节螺栓15,收卷辊2安装在驱动轴8与支撑轴9之间。
收卷辊2上套置有纸芯筒17,纸芯筒17的外周面粘接一双面胶带13,双面胶带13的内面贴粘接在所述纸芯筒17上,内面贴上覆盖一外面贴,外面贴的其中一侧设有粘接翼。使用时将纸芯筒套设在轴本体上插接块上,能够将折弯或压扁的纸芯筒牢固放置在两限位块之间的轴本体上,纸芯筒17上设置双面胶带,使用时通过粘接翼将外面贴撕去,然后将薄膜或包装膜粘接在纸芯筒上即可,解决了薄膜接头在缠绕时容易脱落,人工粘接较为复杂的技术问题。
工作时,薄膜缠绕在纸芯筒17上并形成膜卷12,然后通过翻转电机5的旋转,将上端形成膜卷12的收卷辊2翻转到下端,伸缩气缸10驱动支撑轴9向右侧移动,取出收卷辊2右端的限位块,从而使成型的膜卷下落至所述膜卷托盘19上,轻松实现整个卷绕及卸卷过程,操作方便,而翻转至上端的收卷辊2与此同时通过收卷电机6及纸芯筒17继续卷绕,保证了薄膜卷绕的稳定,提高了工作效率。
技术特征:
1.一种复合材料包装膜分切机,包括收卷架(1),收卷架(1)上平行设置两个收卷辊(2),收卷辊(2)的两端设有翻转支架(7),所述翻转支架(7)通过翻转架转轴(3)转动设置在所述收卷架(1)上,翻转支架的下方设置一膜卷托盘(19),收卷架(1)的一侧设有翻转电机(5),翻转电机(5)通过传动机构(4)与翻转架转轴(3)传动连接,其特征在于:所述翻转支架(7)包括固定在翻转架转轴(3)上的左侧板和右侧板,左侧板的上下两端各设置一驱动轴(8),驱动轴(8)的一端开设轴孔,轴孔内设置花键齿,驱动轴(8)的另一端与设置在左侧板上的收卷电机(6)传动连接,右侧板上固定设置一导向筒(11),导向筒(11)中导向设置一支撑轴(9),支撑轴(9)的一端开设锥度孔,所述驱动轴(8)的轴线与支撑轴(9)的轴线共线,所述右侧板上还设有一伸缩气缸(10),伸缩气缸(10)的活动端与支撑轴(9)的外周面固定连接,所述收卷辊(2)包括轴本体,轴本体的一侧设置带有花键槽(14)的圆柱端头,轴本体另一侧设置有与所述锥度孔相配合的圆锥端头(18),轴本体上套设有两个限位块(16),两限位块对向设置在轴本体的左右两端,限位块包括限位座及固定在限位座一侧的插接块,插接块的外径与纸芯筒(17)的内径大小相适配,限位座上设有用于顶紧轴本体的调节螺栓(15),收卷辊(2)安装在驱动轴(8)与支撑轴(9)之间。
2.根据权利要求1所述的复合材料包装膜分切机,其特征在于:收卷辊(2)上套置有纸芯筒(17),纸芯筒(17)的外周面粘接一双面胶带(13),双面胶带(13)的内面贴粘接在纸芯筒(17)上,内面贴上覆盖一外面贴,外面贴的其中一侧设有粘接翼。
技术总结
一种复合材料包装膜分切机,包括收卷架,收卷架上平行设置两个收卷辊,收卷辊的两端设有翻转支架,所述翻转支架通过翻转架转轴转动设置在所述收卷架上,翻转支架的下方设置一膜卷托盘,收卷架的一侧设有翻转电机,所述翻转电机通过传动机构与翻转架转轴传动连接,收卷辊上套置有纸芯筒,纸芯筒的外周面粘接一双面胶带,当翻转支架上端的收卷辊进行卷膜操作时,翻转支架下端的收卷辊恰位于托盘的上端,通过伸缩气缸便于完成卸卷操作,效率高,人力成本低,操作方便,同时在纸芯筒的外表面上粘接有双面胶带,解决了薄膜接头在缠绕时容易脱落,人工粘接较为复杂的技术问题。
技术研发人员:高勇
受保护的技术使用者:泗水勇嘉包装印刷有限公司
文档号码:201621471384
技术研发日:2016.12.30
技术公布日:2017.07.18