
本技术属于纸张分切机,尤其涉及一种可除静电的纸张分切机。
背景技术:
1、纸张分切机是一种将宽幅纸张或薄膜分切成多条窄幅材料的机械设备,常用于造纸机械及印刷包装机械,纸张分切机的传统控制方案是利用一台大电机来驱动收放卷的轴,在收放卷轴上加有磁粉离合器,通过调节磁粉离合器的电流来控制其所产生的阻力,以控制材料表面的张力。
2、现有的纸张分切机一般采用除静电设备直接进行静电处理,在纸张分切机内部或接触纸张的位置安装除静电器件,如静电消除棒、静电消除风枪等,这些器件能够通过产生负离子或喷射气流等方式,有效地去除纸张表面的静电,但在长期的使用过程中,除静电设备容易出现损坏,但拆卸除静电设备的过程繁琐,同时由于无法定期清理纸张分切机内部和接触纸张的部件,如切刀,长时间使用的切刀由于钝口,会与纸张产生摩擦,会出现静电的产生和积累,从而使纸张分切机上的纸张由于静电原因吸附在设备上,导致设备故障的问题。
技术实现思路
1、针对现有技术存在的问题,本实用新型提供了一种可除静电的纸张分切机,具备除静电设备便于拆卸维护和刀片便于拆卸更换的优点,解决了现有的纸张分切机不方便对除静电设备和刀片进行更换维修的问题。
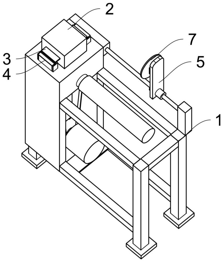
2、本实用新型是这样实现的,一种可除静电的纸张分切机,包括纸张分切本体和刀片和除静电设备本体,所述纸张分切本体上表面设置有把手,所述把手一端设置有固定组件,所述刀片一端设置有定位杆,所述定位杆一端设置在固定组件内,所述纸张分切本体上表面两侧均设置有安装组件,所述除静电设备本体两侧均固定安装有连接板,所述连接板一端分别设置在安装组件内,所述定位杆表面两端均开设有卡扣槽。
3、作为本实用新型优选的,所述安装组件包括安装框和夹持板,所述安装框一端固定安装在纸张分切本体上表面,所述夹持板一端固定安装在有第一活动座,所述第一活动座内活动安装有活动杆,所述活动杆一端活动安装有第二活动座。
4、作为本实用新型优选的,所述第二活动座一端固定安装有滑块,所述安装框内壁开设有滑槽,所述滑块一端滑动安装在滑槽内。
5、作为本实用新型优选的,所述滑块一端弹性连接有第一回力弹簧,所述第一回力弹簧一端固定安装在滑槽内一端。
6、作为本实用新型优选的,所述固定组件包括固定框,所述固定框一端固定安装在把手一端,所述固定框两端均开设有安装孔,所述安装孔内固定安装有活动套。
7、作为本实用新型优选的,所述活动套内活动安装有固定杆,所述固定杆一端固定安装有拉板,所述固定杆另一端固定安装有定位板,所述定位板设置在固定框内。
8、作为本实用新型优选的,所述定位板一端弹性连接有第二回力弹簧,所述第二回力弹簧一端固定安装在固定框内一端,所述定位板另一端固定安装有卡扣杆,所述卡扣杆一端设置在卡扣槽内。
9、与现有技术相比,本实用新型的有益效果如下:
10、1、本实用新型通过纸张分切本体、除静电设备本体、连接板、安装组件、把手、固定组件、刀片和定位杆的设计,通过工作人员将连接板向纸张分切本体上的安装组件内插入并固定在安装组件内,就会使除静电设备本体安装在纸张分切本体上,在需要将除静电设备本体拆卸维护时,通过将连接板从安装组件内拔出,就会使除静电设备本体从纸张分切本体取下,达到了便于除静电设备本体维护的作用,通过工作人员拉动把手一端的固定组件,随后将定位杆向固定组件内插入,定位杆在固定组件内插入完成后,通过工作人员放松固定组件,使固定组件对定位杆固定,就会使刀片安装在纸张分切本体上,在需要对纸张分切本体上的纸张分切时,通过转动把手从而带动刀片转动,使刀片对纸张分切本体上的纸张分切,在需要将刀片更换时,通过工作人员重新将固定组件拉动,从而使定位杆从固定组件内取出,就会使刀片从纸张分切本体上取下,对刀片进行更换,达到了便于将刀片更换的作用;
11、2、本实用新型通过安装框、夹持板、第一活动座、活动杆和第二活动座的设计,通过连接板在向安装框被插入时,夹持板会受到挤压的压力,从而使活动杆在第一活动座和第二活动座之间活动并进行折叠,使夹持板被受到挤压的压力时,位置不会跑偏;
12、3、本实用新型通过滑块的设计,通过活动杆在进行折叠时,第二活动座会受到活动杆的压力,从而会使滑块在滑槽内滑动,让夹持板继续进行内缩,达到了连接板便于向安装槽内插入的作用;
13、4、本实用新型通过第一回力弹簧的设计,通过滑块在滑槽内进行滑动时,会带动第一回力弹簧进行压缩,连接板在安装框内插入完成后,第一回力弹簧会进行回弹,从而使夹持板对连接板夹持,使连接板被固定在安装框内;
14、5、本实用新型通过固定框和活动套的设计,通过固定框两端均开设有安装孔,安装孔内固定安装有活动套,使活动套有着被固定的作用;
15、6、本实用新型通过固定杆、拉板和定位板的设计,通过工作人员拉动拉板带动固定杆在活动套内进行拉动,通过活动套的设计使固定杆能够被进行拉动,通过固定杆被拉动带动定位板进行拉动,达到了带动定位板拉动的作用;
16、7、本实用新型通过第二回力弹簧和卡扣杆的设计,通过定位板被拉动带动第二回力弹簧进行压缩和带动卡扣杆拉动,使定位杆向安装框内插入,定位杆在安装框内插入完成后,通过工作将拉板缓缓放松,就会使第二回力弹簧进行回弹,让卡扣杆一端插入到卡扣槽内,对定位杆定位,在需要将刀片更换时,通过重新拉动板拉动,就会使卡扣杆从卡扣槽内移出,让定位杆从安装框内取出,就会使刀片从纸张分切本体上取下,对刀片进行更换。
技术特征:
1.一种可除静电的纸张分切机,包括纸张分切本体(1)和刀片(7)和除静电设备本体(2),其特征在于:所述纸张分切本体(1)上表面设置有把手(5),所述把手(5)一端设置有固定组件(6),所述刀片(7)一端设置有定位杆(8),所述定位杆(8)一端设置在固定组件(6)内,所述纸张分切本体(1)上表面两侧均设置有安装组件(4),所述除静电设备本体(2)两侧均固定安装有连接板(3),所述连接板(3)一端分别设置在安装组件(4)内,所述定位杆(8)表面两端均开设有卡扣槽。
2.如权利要求1所述的一种可除静电的纸张分切机,其特征在于:所述安装组件(4)包括安装框(401)和夹持板(402),所述安装框(401)一端固定安装在纸张分切本体(1)上表面,所述夹持板(402)一端固定安装在有第一活动座(403),所述第一活动座(403)内活动安装有活动杆(404),所述活动杆(404)一端活动安装有第二活动座(405)。
3.如权利要求2所述的一种可除静电的纸张分切机,其特征在于:所述第二活动座(405)一端固定安装有滑块(406),所述安装框(401)内壁开设有滑槽,所述滑块(406)一端滑动安装在滑槽内。
4.如权利要求3所述的一种可除静电的纸张分切机,其特征在于:所述滑块(406)一端弹性连接有第一回力弹簧(407),所述第一回力弹簧(407)一端固定安装在滑槽内一端。
5.如权利要求1所述的一种可除静电的纸张分切机,其特征在于:所述固定组件(6)包括固定框(601),所述固定框(601)一端固定安装在把手(5)一端,所述固定框(601)两端均开设有安装孔,所述安装孔内固定安装有活动套(602)。
6.如权利要求5所述的一种可除静电的纸张分切机,其特征在于:所述活动套(602)内活动安装有固定杆(603),所述固定杆(603)一端固定安装有拉板(604),所述固定杆(603)另一端固定安装有定位板(605),所述定位板(605)设置在固定框(601)内。
7.如权利要求6所述的一种可除静电的纸张分切机,其特征在于:所述定位板(605)一端弹性连接有第二回力弹簧(606),所述第二回力弹簧(606)一端固定安装在固定框(601)内一端,所述定位板(605)另一端固定安装有卡扣杆(607),所述卡扣杆(607)一端设置在卡扣槽内。
技术总结
本技术公开了一种可除静电的纸张分切机,包括纸张分切本体和刀片和除静电设备本体,所述纸张分切本体上表面设置有把手,所述把手一端设置有固定组件,所述纸张分切本体上表面两侧均设置有安装组件,所述除静电设备本体两侧均固定安装有连接板,本技术具备通过将连接板从安装组件内拔出,就会使除静电设备本体从纸张分切本体取下,通过工作人员放松固定组件,使固定组件对定位杆固定,就会使刀片安装在纸张分切本体上,通过工作人员重新将固定组件拉动,从而使定位杆从固定组件内取出,就会使刀片从纸张分切本体上取下,对刀片进行更换的优点,解决了现有的纸张分切机不方便对除静电设备和刀片进行更换维修的问题。
技术研发人员:屈源俊
受保护的技术使用者:深圳市盛福源包装材料有限公司
技术研发日:20230728
技术公布日:2024/3/11