
本实用新型涉及分切机技术领域,具体涉及一种分切机自动纠偏装置。
背景技术:
分切机是一种将宽幅纸张、云母带或薄膜分切成多条窄幅材料的机械设备,常用于造纸机械、电线电缆云母带及印刷包装机械。分切机主要的运用于:无纺布;云母带、纸张、绝缘材料及各种薄膜材料分切、特别适宜于窄带(无纺布,纸张,绝缘材料、云母带、薄膜等等)的分切。
DXO-440H分切机属于大分切工段,前工段为制膜工段。制膜工段生产成品膜卷的直经最大1200mm,宽度为4400mm,长度达到18000m。因为制膜工段在生产过程中,由于各种生产因素的不断变化,特别是制膜收卷部份设备的运行情况、收卷张力、张力锥度等,如发生微秒的变化都会影响到膜卷的收卷质量,就会造成膜卷端面的不齐。DXO-440H分机原纠偏系统为人工点动操作,只有大膜卷端面偏差较大时才能进行使用,反应速度太慢,根本适应不了设备的高速运行。所以有时造成断边停机、断膜停机、薄膜跑偏等质量问题,影响到分切机的工作效率,从而影响到分切机的收卷质量。
技术实现要素:
本实用新型的目的在于针对现有技术的缺陷和不足,提供一种分切机自动纠偏装置,它采用在放卷站底座上设置滚轮沿道轨滚动运行方式,代替分切机原梯型道轨沿直线轴承运行的方式,它具有操作方便,结构合理,提高分切机的纠偏能力,提高了分切机的工作效率。
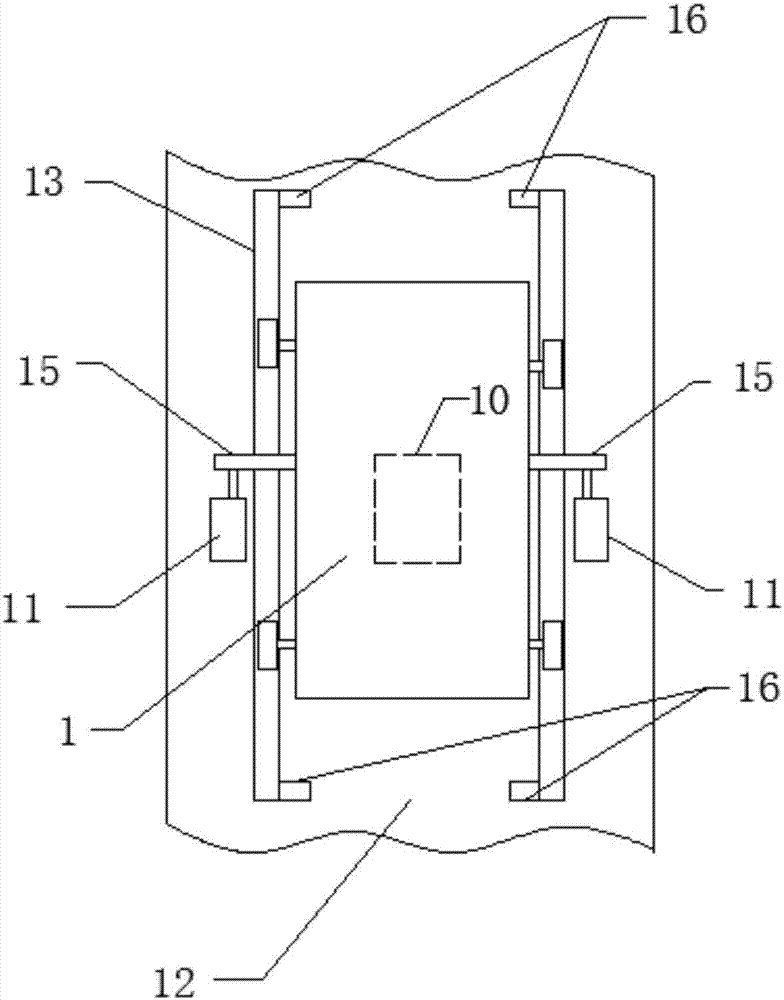
本实用新型所述的一种分切机自动纠偏装置,它包括自动纠偏装置本体,该自动纠偏装置本体包括放卷站底座,该放卷站底座的两侧面上安装有四个滚轮,放卷站底座通过其四个滚轮安装在设备表面的轨道上;所述放卷站底座的两侧面中部设置有外凸板;所述设备的轨道的两侧对应设置有驱动器,该驱动器为伸缩气缸,伸缩气缸的缸轴与外凸板的左侧面中部相连;所述放卷站底座内安装有控制器;所述放卷站底座表面两侧对应设置左凸座和右凸座,左凸座上设置有水平轴孔一,水平轴孔上设置有可调节轴头,右凸座上设置有水平轴孔二,水平轴孔二中设置有固定轴头,可调节轴头和固定轴头之间安装有水平滚筒,水平滚筒的两侧面上设置有轴槽;所述可调节轴头和固定轴头置于水平滚筒两侧的轴槽内;所述水平滚筒上设置有薄膜母卷;所述放卷站底座表面左侧的凸座上设置有伸缩式支架,伸缩式支架上安装有光电眼;所述控制器通过导线与驱动器和光电眼相连。
进一步地,所述轨道的两端对应设置有限位块。
进一步地,所述限位块的内侧面上设置有减震橡胶块。
进一步地,所述控制器10为EPC-A10型伺服纠偏控制器。
采用上述结构后,本实用新型有益效果为:本实用新型所述的一种分切机自动纠偏装置,它采用在放卷站底座上设置滚轮沿道轨滚动运行方式,代替分切机原梯型道轨沿直线轴承运行的方式,它具有操作方便,结构合理,提高分切机的纠偏能力,提高了分切机的工作效率。
【附图说明】
此处所说明的附图是用来提供对本实用新型的进一步理解,构成本申请的一部分,但并不构成对本实用新型的不当限定,在附图中:
图1是本实用新型结构示意图;
图2是本实用新型的放卷站底座的俯视结构示意图。
附图标记说明:
1、放卷站底座;2、固定轴头;3、右凸座;4、水平滚筒;5、薄膜母卷;6、光电眼;7、伸缩式支架;8、可调节轴头;9、左凸座;10、控制器;11、驱动器;12、设备;13、轨道;14、滚轮;15、外凸板;16、限位块。
【具体实施方式】
下面将结合附图以及具体实施例来详细说明本实用新型,其中的示意性实施例以及说明仅用来解释本实用新型,但并不作为对本实用新型的限定。
如图1-图2所示,本具体实施方式所述的一种分切机自动纠偏装置,它包括自动纠偏装置本体,该自动纠偏装置本体包括放卷站底座1,该放卷站底座1的两侧面上安装有四个滚轮14,放卷站底座1通过其四个滚轮14安装在设备12表面的轨道13上;所述放卷站底座1的两侧面中部设置有外凸板15;所述设备12的轨道13的两侧对应设置有驱动器11,该驱动器11为伸缩气缸,伸缩气缸的缸轴与外凸板15的左侧面中部相连;所述放卷站底座1内安装有控制器10;所述放卷站底座1表面两侧对应设置左凸座9和右凸座3,左凸座9上设置有水平轴孔一,水平轴孔上设置有可调节轴头8,右凸座3上设置有水平轴孔二,水平轴孔二中设置有固定轴头2,可调节轴头8和固定轴头2之间安装有水平滚筒4,水平滚筒4的两侧面上设置有轴槽;所述可调节轴头8和固定轴头2置于水平滚筒两侧的轴槽内;所述水平滚筒4上设置有薄膜母卷5;所述放卷站底座1表面左侧的凸座上设置有伸缩式支架7,伸缩式支架7上安装有光电眼6;所述控制器10通过导线与驱动器11和光电眼6相连。
作为本实用新型的一种优选,所述轨道12的两端对应设置有限位块16。
作为本实用新型的一种优选,所述限位块16的内侧面上设置有减震橡胶块。
作为本实用新型的一种优选,所述控制器10为市场有售的EPC-A10型伺服纠偏控制器。
本实用新型的工作原理如下:
本设计中,放卷站底座1两侧面前后端设置有四个滚轮,光电眼6发出信号给控制器10,控制器10来控制伸缩气缸动作,利用伸缩气缸的缸轴伸出和回缩来带动放卷站底座1在轨道上进行左右微动,进行调节。本设计中的设备12是指分切机。
本设计中,设备在调校时,薄膜母卷5边缘对准光电眼6的中心(0点)位置。当薄膜母卷在向前运行过程中,薄膜母卷边缘位置发生左右偏移时,光电眼6立即检测到,并快速转化为电流信号传到控制器10,控制器10接收到光电眼6发出的信号后,识别薄膜母卷向左偏移或向右偏移,并再转化为电流信号传到驱动器11,命令驱动器11左右伸缩移动,带动放卷站底座1左右移动,从而带动薄膜母卷左右摆动,以达到纠偏的目的。
本设计中,轨道的两端对应设置有限位块,限位块16的内侧面上设置有减震橡胶块,起保护和限位放卷站底座1的作用。
本实用新型的优点如下:
1)纠偏效果大大提高,分切机运行非常平稳,提高了分切机的自动化情度,减少了断膜停机、断边停机、薄膜跑偏等故障,有效提高了分切机的工作效率,提高了收卷质量。
2)减轻了工人的劳动强度,也提高了分切机的经济效益。
本实用新型所述的一种分切机自动纠偏装置,它采用在放卷站底座上设置滚轮沿道轨滚动运行方式,代替分切机原梯型道轨沿直线轴承运行的方式,它具有操作方便,结构合理,提高分切机的纠偏能力,提高了分切机的工作效率。
以上所述仅是本实用新型的较佳实施方式,故凡依本实用新型专利申请范围所述的构造、特征及原理所做的等效变化或修饰,均包括于本实用新型专利申请范围内。
技术特征:
1.一种分切机自动纠偏装置,其特征在于:它包括自动纠偏装置本体,该自动纠偏装置本体包括放卷站底座,该放卷站底座的两侧面上安装有四个滚轮,放卷站底座通过其四个滚轮安装在设备表面的轨道上;所述放卷站底座的两侧面中部设置有外凸板;所述设备的轨道的两侧对应设置有驱动器,该驱动器为伸缩气缸,伸缩气缸的缸轴与外凸板的左侧面中部相连;所述放卷站底座内安装有控制器;所述放卷站底座表面两侧对应设置左凸座和右凸座,左凸座上设置有水平轴孔一,水平轴孔上设置有可调节轴头,右凸座上设置有水平轴孔二,水平轴孔二中设置有固定轴头,可调节轴头和固定轴头之间安装有水平滚筒,水平滚筒的两侧面上设置有轴槽;所述可调节轴头和固定轴头置于水平滚筒两侧的轴槽内;所述水平滚筒上设置有薄膜母卷;所述放卷站底座表面左侧的凸座上设置有伸缩式支架,伸缩式支架上安装有光电眼;所述控制器通过导线与驱动器和光电眼相连。
2.根据权利要求1所述的一种分切机自动纠偏装置,其特征在于:所述轨道的两端对应设置有限位块。
3.根据权利要求2所述的一种分切机自动纠偏装置,其特征在于:所述限位块的内侧面上设置有减震橡胶块。
4.根据权利要求1所述的一种分切机自动纠偏装置,其特征在于:所述控制器为EPC-A10型伺服纠偏控制器。
技术总结
本实用新型涉及分切机技术领域,具体涉及一种分切机自动纠偏装置,它包括自动纠偏装置本体,该自动纠偏装置本体包括放卷站底座,该放卷站底座的两侧面上安装有四个滚轮,放卷站底座通过其四个滚轮安装在设备表面的轨道上;所述放卷站底座的两侧面中部设置有外凸板;所述设备的轨道的两侧对应设置有驱动器,该驱动器为伸缩气缸,伸缩气缸的缸轴与外凸板的左侧面中部相连;所述放卷站底座内安装有控制器;它采用在放卷站底座上设置滚轮沿道轨滚动运行方式,代替分切机原梯型道轨沿直线轴承运行的方式,它具有操作方便,结构合理,提高分切机的纠偏能力,提高了分切机的工作效率。
技术研发人员:刘水轩;陈炜岩;杨泽志;黄永丘
受保护的技术使用者:湛江包装材料企业有限公司
文档号码:201721584427
技术研发日:2017.11.23
技术公布日:2018.04.20