
本实用新型涉及纸管开槽打孔技术领域,具体为一种纸管开槽打孔装置。
背景技术:
纸管根据使用需要,要在纸管的壁上打孔,而且在打孔的过程中不能破坏纸管。有的纸管不仅要打孔而且还要开槽,传统的开槽机和打孔机是两台设备,纸管先在开槽机上开槽,开槽完之后再放置在打孔机上打孔,打孔的位置要与开槽的位置完全重合,才能保证打孔合格,不损坏或降低纸管的性能。但是,开槽之后的纸管上的槽口很难控制跟打孔刀口对准,难以控制纸管的打孔质量。现需要一种能够同时对纸管开槽和打孔的设备。
技术实现要素:
本实用新型的目的在于提供一种纸管开槽打孔装置,具备能够同时对纸管开槽和打孔的设备的优点,解决了之前开槽完之后再放置在打孔机上打孔,打孔的位置要与开槽的位置不能够完全重合的问题。
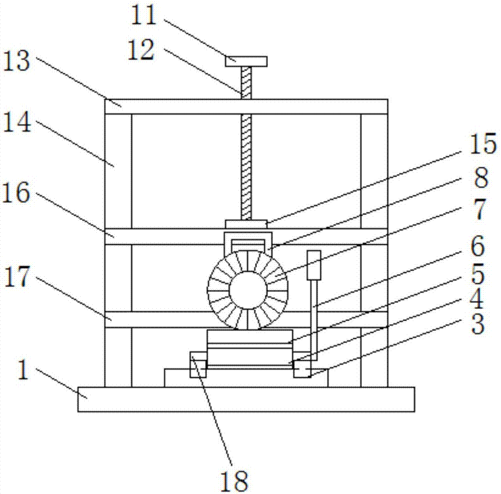
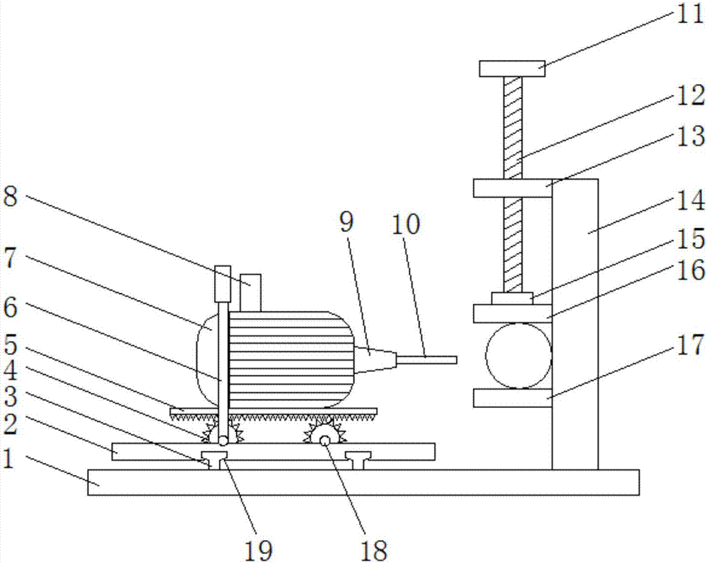
为实现上述目的,本实用新型提供如下技术方案:一种纸管开槽打孔装置,包括底座、支撑杆、电机、螺杆和支撑柱,所述底座上端焊接有滑轨,所述滑轨通过滑槽滑动安装有支撑杆,所述支撑杆上端活动安装有滚轴,所述滚轴一端固定有摇杆,所述滚轴外侧套接有齿轮,所述齿轮上端轮齿连接有齿条,所述齿条上端固定有电机,所述电机一端安装有钻头夹,所述电机通过钻头夹活动安装有钻头,所述底座另一端焊接有支撑柱,所述支撑柱下端一侧焊接有第二固定块,所述支撑柱上端一侧焊接有第一固定块,所述第一固定块中间处通过螺纹安装有螺杆,所述螺杆的上端安装有转盘,所述转盘的下端安装有轴承,所述轴承下端焊接有活动块。
优选的,所述支撑杆下端开设有与滑轨相适配的滑槽,且滑轨和滑槽各设有两个。
优选的,所述滚轴共设有两个,且分别安装在支撑杆上端开设的凹槽里。
优选的,所述电机上端安装有扶手。
优选的,所述支撑柱共设有两个,且分别焊接在底座的两侧。
与现有技术相比,本实用新型的有益效果如下:
1、本实用新型通过设置支撑杆和滑轨,能够实现电机在滑轨上滑动,达到了纸管开槽的效果,将支撑杆下端开设的滑槽与滑轨滑动安装,且通过扶手推动电机在滑轨上滑动,能够实现对纸管的开槽。
2、本实用新型通过设置齿轮和齿条,能够实现齿轮带动齿条的运动,达到了为纸管打孔的效果,齿轮中间滚轴的一侧固定有摇杆,通过对摇杆的摇动,使齿轮带动齿条运动,齿条上的电机能够实现前后移动,使钻头进行打孔,也可以通过电机的前后运动,可对纸管开槽的深浅进行调整。
3、本实用新型通过设置螺杆和活动块,可实现在对纸管开槽打孔时,对纸管进行固定的效果,在使用时可将纸管放置在第二固定块上,同时通过转动转盘使螺杆向下旋转,可将活动块对纸管进行固定作用,且通过手动旋转能够使活动块对纸管的固定进行调节作用,避免了固定过松不牢固或过紧纸管变形的缺陷。
附图说明
图1为本实用新型的主视结构示意图;
图2为本实用新型的侧视结构示意图;
图3为本实用新型的俯视结构示意图。
图中:1-底座;2-支撑杆;3-滑轨;4-齿轮;5-齿条;6-摇杆;7-电机;8-扶手;9-钻头夹;10-钻头;11-转盘;12-螺杆;13-第一固定块;14-支撑柱;15-轴承;16-活动块;17-第二固定块;18-滚轴;19-滑槽。
具体实施方式
下面将结合本实用新型实施例中的附图,对本实用新型实施例中的技术方案进行清楚、完整地描述,显然,所描述的实施例仅仅是本实用新型一部分实施例,而不是全部的实施例。基于本实用新型中的实施例,本领域普通技术人员在没有做出创造性劳动前提下所获得的所有其他实施例,都属于本实用新型保护的范围。
请参阅图1至3,本实用新型提供的一种实施例:一种纸管开槽打孔装置,包括底座1、支撑杆2、电机7、螺杆12和支撑柱14,底座1上端焊接有滑轨3,滑轨3通过滑槽19滑动安装有支撑杆2,支撑杆2下端开设有与滑轨3相适配的滑槽19,且滑轨3和滑槽19各设有两个,通过支撑杆2和滑轨3的配合使用,通过扶手8推动电机7在滑轨3上滑动,能够实现对纸管的开槽,支撑杆2上端活动安装有滚轴18,滚轴18共设有两个,且分别安装在支撑杆2上端开设的凹槽里,能够使滚轴18平稳的在凹槽里转动,滚轴18一端固定有摇杆6,滚轴18外侧套接有齿轮4,相应的齿轮4也设有两个,有利于电机7和齿条5在齿轮上平稳的运动,齿轮4上端轮齿连接有齿条5,齿条5上端固定有电机7,本实用新型使用电机型号Y90L-2,达到低能耗作业的目的,电机7上端安装有扶手8,通过对摇杆6的摇动,使齿轮4带动齿条5运动,齿条5上的电机7能够实现前后移动,使钻头10进行打孔,也可以通过电机7的前后运动,可对纸管开槽的深浅进行调整,电机7一端安装有钻头夹9,电机7通过钻头夹9活动安装有钻头10,通过电机7接通电源带动钻头10转动,且纸管的开槽和打孔,均可以通过钻头10的转动来完成,底座1另一端焊接有支撑柱14,支撑柱14能够对放置纸管起到支撑作用,支撑柱14下端一侧焊接有第二固定块17,支撑柱14上端一侧焊接有第一固定块13,支撑柱14共设有两个,且分别焊接在底座1的两侧,第一固定块13中间处通过螺纹安装有螺杆12,螺杆12的上端安装有转盘11,转盘11的下端安装有轴承15,轴承15下端焊接有活动块16,通过转动转盘11使螺杆12向下旋转,可使活动块16对纸管进行固定作用。
工作原理:本实用新型工作中,在使用时将需要开槽打孔的纸管放置在第二固定块17上,通过转动转盘11使螺杆12向下旋转,可使活动块16对纸管进行固定作用,将电机7接通电源,通过支撑杆2和滑轨3的配合使用,通过扶手8推动电机7在滑轨3上滑动,能够实现对纸管的开槽,通过对摇杆6的摇动,使齿轮4带动齿条5运动,齿条5上的电机7能够实现前后移动,使钻头10进行打孔,也可以通过电机7的前后运动,对纸管开槽的深浅进行调整。
对于本领域技术人员而言,显然本实用新型不限于上述示范性实施例的细节,而且在不背离本实用新型的精神或基本特征的情况下,能够以其他的具体形式实现本实用新型。因此,无论从哪一点来看,均应将实施例看作是示范性的,而且是非限制性的,本实用新型的范围由所附权利要求而不是上述说明限定,因此旨在将落在权利要求的等同要件的含义和范围内的所有变化囊括在本实用新型内。不应将权利要求中的任何附图标记视为限制所涉及的权利要求。

技术特征:
1.一种纸管开槽打孔装置,包括底座(1)、支撑杆(2)、电机(7)、螺杆(12)和支撑柱(14),其特征在于:所述底座(1)上端焊接有滑轨(3),所述滑轨(3)通过滑槽(19)滑动安装有支撑杆(2),所述支撑杆(2)上端活动安装有滚轴(18),所述滚轴(18)一端固定有摇杆(6),所述滚轴(18)外侧套接有齿轮(4),所述齿轮(4)上端轮齿连接有齿条(5),所述齿条(5)上端固定有电机(7),所述电机(7)一端安装有钻头夹(9),所述电机(7)通过钻头夹(9)活动安装有钻头(10),所述底座(1)另一端焊接有支撑柱(14),所述支撑柱(14)下端一侧焊接有第二固定块(17),所述支撑柱(14)上端一侧焊接有第一固定块(13),所述第一固定块(13)中间处通过螺纹安装有螺杆(12),所述螺杆(12)的上端安装有转盘(11),所述转盘(11)的下端安装有轴承(15),所述轴承(15)下端焊接有活动块(16)。
2.根据权利要求1所述的一种纸管开槽打孔装置,其特征在于:所述支撑杆(2)下端开设有与滑轨(3)相适配的滑槽(19),且滑轨(3)和滑槽(19)各设有两个。
3.根据权利要求1所述的一种纸管开槽打孔装置,其特征在于:所述滚轴(18)共设有两个,且分别安装在支撑杆(2)上端开设的凹槽里。
4.根据权利要求1所述的一种纸管开槽打孔装置,其特征在于:所述电机(7)上端安装有扶手(8)。
5.根据权利要求1所述的一种纸管开槽打孔装置,其特征在于:所述支撑柱(14)共设有两个,且分别焊接在底座(1)的两侧。
技术总结
本实用新型公开了一种纸管开槽打孔装置,包括底座、支撑杆、电机、螺杆和支撑柱,所述底座上端焊接有滑轨,所述滑轨通过滑槽滑动安装有支撑杆,所述支撑杆上端活动安装有滚轴,所述滚轴一端固定有摇杆,所述滚轴外侧套接有齿轮,所述齿轮上端轮齿连接有齿条,所述齿条上端固定有电机,所述电机一端安装有钻头夹,所述电机通过钻头夹活动安装有钻头,所述底座另一端焊接有支撑柱,所述支撑柱下端一侧焊接有第二固定块,所述支撑柱上端一侧焊接有第一固定块,所述第一固定块中间处通过螺纹安装有螺杆,所述螺杆的上端安装有转盘,所述转盘的下端安装有轴承,所述轴承下端焊接有活动块。本实用新型解决了之前纸管开槽和打孔不在同一设备上的问题。
技术研发人员:李建慧
受保护的技术使用者:长兴同和纸管厂
技术研发日:2017.10.26
技术公布日:2018.06.26

一台优秀的冲孔机已不再是简单的“打孔”工具,其真正的竞争力,正牢牢根植于三大核心技术的完美融合:极限的速度、微米的精度与磐石般的稳定性。

纸管冲孔机的出现,彻底颠覆了传统的加工模式,以其“一键实现高效精准冲孔”的卓越性能,正成为行业升级换代的核心利器。

一场由全自动纸管冲孔机引领的“效率与精度”革命,正悄然改变着这一局面,成为驱动现代制造业高速发展的隐形引擎。