
本实用新型属于无纺布手提袋技术领域,具体涉及一种环保无纺布分切机。
背景技术:
无纺布手提袋故名思议就是用材料为无纺布做成的手提袋,是一种绿色产品,坚韧耐用、造型美观,透气性好,可重复使用、可洗涤,可丝印广告、唛头、使用期长,适宜任何公司、任何行业作为广告宣传、赠品以及作为外包装之用。消费者在购物的同时又得到了一个精美的无纺布袋子,而商家以得到了无形的广告宣传,两全其美,所以无纺布在市场上越来越受欢迎。产品以无纺布为原料,它是新一代环保材料,具有防潮、透气、柔韧、质轻、不助燃、容易分解、无毒无刺激性、色彩丰富、价格低廉、可循环再用等特点。该材料置于室外90天可自然分解,置于室内使用寿命长达5年,燃烧时无毒、无味、且无任何遗留物质,从而不污染环境,被国际公认为保护地球生态的环保产品。无纺布袋:曾经作为“减少塑料袋联盟”的成员,在向政府相关部门提出减少塑料袋的使用中曾经提已使用无纺布袋,政府正式颁布了“禁塑令”无纺布袋迅速推广普及,但使用状况发现了不少问题。无纺布袋一般是采用丝网印刷工艺,也就是人们常说的“丝印”,这一直也是很多厂家比较常用的印刷工艺。一般都人工印,所以工艺上的颜色控制不好控制,所以涌现出许多新的无纺布印刷方式。
现有的环保无纺布分切机在不使用时刀轴依旧暴露在外,而由于刀轴上的刀片较为锋利,从而导致易损伤工作人员,且现有的环保无纺布分切机在使用时,收卷的环保无纺布易发生偏跑的问题,为此我们提出一种环保无纺布分切机。
技术实现要素:
本实用新型的目的在于提供一种环保无纺布分切机,以解决上述背景技术中提出现有的环保无纺布分切机在不使用时刀轴依旧暴露在外,而由于刀轴上的刀片较为锋利,从而导致易损伤工作人员,且现有的环保无纺布分切机在使用时,收卷的环保无纺布易发生偏跑的问题。
为实现上述目的,本实用新型提供如下技术方案:一种环保无纺布分切机,包括分切机总支架,所述分切机总支架的上表面通过螺栓固定设置有总驱动电机,所述总驱动电机的上方设置有无纺布收卷轴,所述无纺布收卷轴的上方均匀设置有若干个无纺布限位挡板,所述无纺布限位挡板的上表面通过螺纹卡合连接有限位挡板固定螺栓,所述分切机总支架的内侧设置有刀轴保护壳,所述刀轴保护壳包裹设置有分切机旋转刀轴,所述分切机旋转刀轴的两端通过焊接固定连接有保护壳固定轮,所述分切机旋转刀轴的两端上方均设置有刀轴调节栓,所述分切机总支架的一侧通过螺栓固定连接有转轴保护外壳,所述分切机总支架的另一侧通过螺栓固定设置有控制台机体外壳,所述控制台机体外壳的上表面通过孔洞卡合连接有分切机控制按钮。
优选的,所述无纺布限位挡板的剖面形状为圆环形,且无纺布限位挡板的上表面设置有圆形孔洞,孔洞内壁设置有螺纹凹槽。
优选的,所述保护壳固定轮的外表面设置有矩形凹槽。
优选的,所述刀轴保护壳的两端内壁均设置有矩形凸起。
优选的,所述限位挡板固定螺栓的一端外表面设置有螺纹凹槽。
与现有技术相比,本实用新型的有益效果是:
(1)通过设计了可包裹住分切机旋转刀轴的刀轴保护壳便于保护分切机旋转刀轴上的刀片,解决了现有的环保无纺布分切机在不使用时刀片暴露在外,易损伤工作人员的问题。
(2)通过设计了安装在无纺布收卷轴上的无纺布限位挡板便于对已分切的环保无纺布进行限位,解决了现有的环保无纺布分切机在使用中,已分切的环保无纺布在收卷时易跑偏的问题。
附图说明
图1为本实用新型的结构示意图;
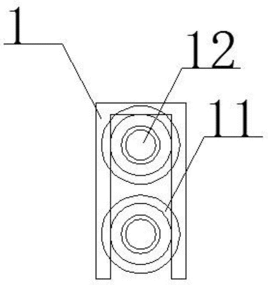
图2为本实用新型的刀轴保护壳部分侧面剖视结构示意图;
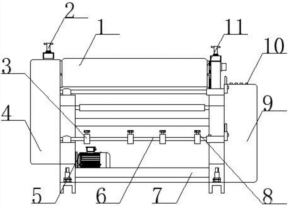
图中:1-刀轴保护壳、2-刀轴调节栓、3-无纺布限位挡板、4-转轴保护外壳、5-总驱动电机、6-无纺布收卷轴、7-分切机总支架、8-限位挡板固定螺栓、9-控制台机体外壳、10-分切机控制按钮、11-保护壳固定轮、12-分切机旋转刀轴。
具体实施方式
下面将结合本实用新型实施例中的附图,对本实用新型实施例中的技术方案进行清楚、完整地描述,显然,所描述的实施例仅仅是本实用新型一部分实施例,而不是全部的实施例。基于本实用新型中的实施例,本领域普通技术人员在没有做出创造性劳动前提下所获得的所有其他实施例,都属于本实用新型保护的范围。
请参阅图1和图2,本实用新型提供一种技术方案:一种环保无纺布分切机,包括分切机总支架7,分切机总支架7的上表面通过螺栓固定设置有总驱动电机5,总驱动电机5的上方设置有无纺布收卷轴6,无纺布收卷轴6的上方均匀设置有若干个无纺布限位挡板3,无纺布限位挡板3的上表面通过螺纹卡合连接有限位挡板固定螺栓8,分切机总支架7的内侧设置有刀轴保护壳1,刀轴保护壳1包裹设置有分切机旋转刀轴12,分切机旋转刀轴12的两端通过焊接固定连接有保护壳固定轮11,分切机旋转刀轴12的两端上方均设置有刀轴调节栓2,分切机总支架7的一侧通过螺栓固定连接有转轴保护外壳4,分切机总支架7的另一侧通过螺栓固定设置有控制台机体外壳9,控制台机体外壳9的上表面通过孔洞卡合连接有分切机控制按钮10。
为了便于无纺布限位挡板3在无纺布收卷轴6上移动和为了便于限位挡板固定螺栓8在无纺布限位挡板3上移动,本实施例中,优选的,无纺布限位挡板3的剖面形状为圆环形,且无纺布限位挡板3的上表面设置有圆形孔洞,孔洞内壁设置有螺纹凹槽。
为了便于刀轴保护壳1卡合,本实施例中,优选的,保护壳固定轮11的外表面设置有矩形凹槽。
为了便于卡合在保护壳固定轮11上,本实施例中,优选的,刀轴保护壳1的两端内壁均设置有矩形凸起。
为了便于在无纺布限位挡板3上移动,本实施例中,优选的,限位挡板固定螺栓8的一端外表面设置有螺纹凹槽。
本实用新型的工作原理及使用流程:该装置安装完成后,移动无纺布收卷轴6上的无纺布限位挡板3来调节无纺布限位挡板3与无纺布限位挡板3之间的位置,直至调节到可卡合住分切后的无纺布为止,然后旋转限位挡板固定螺栓8,使得无纺布限位挡板3固定在无纺布收卷轴6上,然后将无纺布置于分切机旋转刀轴12之间,再通过分切机控制按钮10开启机器,再将已分切完成的无纺布的一端固定在无纺布限位挡板3与无纺布限位挡板3之间即可,当机器不使用时,通过保护壳固定轮11外表面的矩形凹槽插入刀轴保护壳1,并保证刀轴保护壳1能包裹住分切机旋转刀轴12即可。
尽管已经示出和描述了本实用新型的实施例,对于本领域的普通技术人员而言,可以理解在不脱离本实用新型的原理和精神的情况下可以对这些实施例进行多种变化、修改、替换和变型,本实用新型的范围由所附权利要求及其等同物限定。

技术特征:
1.一种环保无纺布分切机,包括分切机总支架(7),其特征在于:所述分切机总支架(7)的上表面通过螺栓固定设置有总驱动电机(5),所述总驱动电机(5)的上方设置有无纺布收卷轴(6),所述无纺布收卷轴(6)的上方均匀设置有若干个无纺布限位挡板(3),所述无纺布限位挡板(3)的上表面通过螺纹卡合连接有限位挡板固定螺栓(8),所述分切机总支架(7)的内侧设置有刀轴保护壳(1),所述刀轴保护壳(1)包裹设置有分切机旋转刀轴(12),所述分切机旋转刀轴(12)的两端通过焊接固定连接有保护壳固定轮(11),所述分切机旋转刀轴(12)的两端上方均设置有刀轴调节栓(2),所述分切机总支架(7)的一侧通过螺栓固定连接有转轴保护外壳(4),所述分切机总支架(7)的另一侧通过螺栓固定设置有控制台机体外壳(9),所述控制台机体外壳(9)的上表面通过孔洞卡合连接有分切机控制按钮(10)。
2.根据权利要求1所述的一种环保无纺布分切机,其特征在于:所述无纺布限位挡板(3)的剖面形状为圆环形,且无纺布限位挡板(3)的上表面设置有圆形孔洞,孔洞内壁设置有螺纹凹槽。
3.根据权利要求1所述的一种环保无纺布分切机,其特征在于:所述保护壳固定轮(11)的外表面设置有矩形凹槽。
4.根据权利要求1所述的一种环保无纺布分切机,其特征在于:所述刀轴保护壳(1)的两端内壁均设置有矩形凸起。
5.根据权利要求1所述的一种环保无纺布分切机,其特征在于:所述限位挡板固定螺栓(8)的一端外表面设置有螺纹凹槽。
技术总结
本实用新型公开了一种环保无纺布分切机,包括分切机总支架,所述分切机总支架的上表面通过螺栓固定设置有总驱动电机,所述总驱动电机的上方设置有无纺布收卷轴,所述无纺布收卷轴的上方均匀设置有若干个无纺布限位挡板,所述无纺布限位挡板的上表面通过螺纹卡合连接有限位挡板固定螺栓,所述分切机总支架的内侧设置有刀轴保护壳,所述刀轴保护壳包裹设置有分切机旋转刀轴,所述分切机旋转刀轴的两端通过焊接固定连接有保护壳固定轮;通过设计了可包裹住分切机旋转刀轴的刀轴保护壳便于保护分切机旋转刀轴上的刀片,解决了现有的环保无纺布分切机在不使用时刀片暴露在外,易损伤工作人员的问题。
技术研发人员:高彬;张成龙;冯君才;孙越;李强;许文君
受保护的技术使用者:山东彩汇包装科技有限公司
技术研发日:2017.11.28
技术公布日:2018.06.12