
bopp薄膜生产用分切机
技术领域
1.本实用新型涉及薄膜加工设备的技术领域,特别是涉及一种bopp薄膜生产用分切机。
背景技术:
2.bopp薄膜是双向拉伸聚丙烯薄膜的简称,bopp薄膜的生产是将高分子聚丙烯的熔体首先通过狭长机头制成片材或厚膜,然后在专用的拉伸机内,在一定的温度和设定的速度下,同时或分步在垂直的两个方向上进行的拉伸,并经过适当的冷却或热处理或特殊的加工制成的薄膜。
3.在bopp薄膜生产加工过程中,还会根据生产要求,通过分切主机将母卷加工成满足规格要求的子卷,也就是最终的成品卷,母卷薄膜经过分切加工成规定尺寸的子卷薄膜,然后缠绕在收卷轴上,通过收卷电机带动收卷轴转动,从而形成多个成品卷,工作人员在分切完成后,可将成品卷从收卷轴上取下,但是现有分切机上的收卷轴,不便于进行拆装,影响工作效率,导致使用局限性较高。
技术实现要素:
4.为解决上述技术问题,本实用新型提供一种能够使收卷轴拆装更加便捷,有效提高工作效率,降低使用局限性的bopp薄膜生产用分切机。
5.本实用新型的一种bopp薄膜生产用分切机,包括机台、收卷电机、左转盘、右转盘、两组顶紧轴和收卷轴,机台上设置有分切主机,收卷电机固定安装在分切主机上,左转盘和右转盘上均设置有连接轴,左转盘通过连接轴与收卷电机输出端的连接转动安装在分切主机内侧左端,右转盘通过连接轴转动安装在分切主机内侧右端,并且左转盘与右转盘同轴,左转盘和右转盘的内部均设置有滑动腔,两组滑动腔内均设置有弹簧,左转盘的右端和右转盘的左端分别与滑动腔连通的设置有滑孔,两组顶紧轴通过与滑孔的配合分别滑动安装在左转盘和右转盘上,两组顶紧轴上均设置有限位盘,两组限位盘分别与两组弹簧固定连接,收卷轴的两端均设置有插孔,收卷轴通过插孔与顶紧轴的配合可拆卸的安装在左转盘和右转盘上,机台的底端螺装的转动设置有四组调节地脚,四组调节地脚上均螺装套设有锁母,并且四组锁母的顶端均与机台的底端贴紧。
6.本实用新型的一种bopp薄膜生产用分切机,还包括两组固定座、左围栏、右围栏和磁铁片,两组固定座前后对称的固定安装在机台顶端,左围栏和右围栏通过与固定座的配合对称的转动安装在机台上,右围栏上设置有两组铁片,两组磁铁片通过与铁片的配合固定安装在左围栏上。
7.本实用新型的一种bopp薄膜生产用分切机,所述左围栏和右围栏上均连接设置有把手。
8.本实用新型的一种bopp薄膜生产用分切机,所述左转盘和右转盘上均设置有缓冲垫。
9.本实用新型的一种bopp薄膜生产用分切机,所述两组滑孔上均设置有滑套。
10.本实用新型的一种bopp薄膜生产用分切机,还包括四组万向轮,四组万向轮均固定安装在机台的底端。
11.本实用新型的一种bopp薄膜生产用分切机,还包括手推把,手推把固定安装在机台的左端。
12.本实用新型的一种bopp薄膜生产用分切机,还包括防滑把套,防滑把套固定套装在手推把的圆周外壁上。
13.与现有技术相比本实用新型的有益效果为:首先在拆卸收卷轴时,收卷轴的左右两端与左转盘和右转盘的表面还留有距离,工作人员可通过挤压顶紧轴,使顶紧轴通过收卷轴挤压弹簧,使弹簧压缩,从而将顶紧轴从插孔脱离处理,即可将收卷轴拆卸下来,安装时,先将左转盘上的顶紧轴插入插孔内并挤压,使右转盘上的顶紧轴插入另一端的插孔内,弹簧在受到压缩时提供弹力,使顶紧轴将收卷轴顶紧,即可完成安装,从而能够使收卷轴拆装更加便捷,有效提高工作效率,降低使用局限性。
附图说明
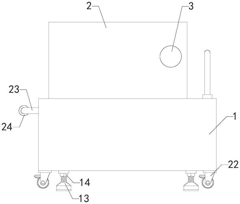
14.图1是本实用新型的前侧结构示意图;
15.图2是本实用新型的右侧局部结构示意图;
16.图3是本实用新型中顶紧轴安装的剖面结构结构示意图;
17.图4是本实用新型中左、右围栏安装的右侧示意图;
18.附图中标记:1、机台;2、分切主机;3、收卷电机;4、左转盘;5、右转盘;6、连接轴;7、滑动腔;8、弹簧;9、滑孔;10、顶紧轴;11、限位盘;12、收卷轴;13、调节地脚;14、锁母;15、固定座;16、左围栏;17、右围栏;18、磁铁片;19、把手;20、缓冲垫;21、滑套;22、万向轮;23、手推把;24、防滑把套。
具体实施方式
19.下面结合附图和实施例,对本实用新型的具体实施方式作进一步详细描述。以下实施例用于说明本实用新型,但不用来限制本实用新型的范围。
20.如图1至图4所示,本实用新型的一种bopp薄膜生产用分切机,包括机台1、收卷电机3、左转盘4、右转盘5、两组顶紧轴10和收卷轴12,机台1上设置有分切主机2,收卷电机3固定安装在分切主机2上,左转盘4和右转盘5上均设置有连接轴6,左转盘4通过连接轴6与收卷电机3输出端的连接转动安装在分切主机2内侧左端,右转盘5通过连接轴6转动安装在分切主机2内侧右端,并且左转盘4与右转盘5同轴,左转盘4和右转盘5的内部均设置有滑动腔7,两组滑动腔7内均设置有弹簧8,左转盘4的右端和右转盘5的左端分别与滑动腔7连通的设置有滑孔9,两组顶紧轴10通过与滑孔9的配合分别滑动安装在左转盘4和右转盘5上,两组顶紧轴10上均设置有限位盘11,两组限位盘11分别与两组弹簧8固定连接,收卷轴12的两端均设置有插孔,收卷轴12通过插孔与顶紧轴10的配合可拆卸的安装在左转盘4和右转盘5上,机台1的底端螺装的转动设置有四组调节地脚13,四组调节地脚13上均螺装套设有锁母14,并且四组锁母14的顶端均与机台1的底端贴紧;首先在拆卸收卷轴12时,收卷轴12的左右两端与左转盘4和右转盘5的表面还留有距离,工作人员可通过挤压顶紧轴10,使顶紧轴
10通过收卷轴12挤压弹簧8,使弹簧8压缩,从而将顶紧轴10从插孔脱离处理,即可将收卷轴12拆卸下来,安装时,先将左转盘4上的顶紧轴10插入插孔内并挤压,使右转盘5上的顶紧轴10插入另一端的插孔内,弹簧在受到压缩时提供弹力,使顶紧轴10将收卷轴12顶紧,即可完成安装,从而能够使收卷轴拆装更加便捷,有效提高工作效率,降低使用局限性。
21.本实用新型的一种bopp薄膜生产用分切机,还包括两组固定座15、左围栏16、右围栏17和磁铁片18,两组固定座15前后对称的固定安装在机台1顶端,左围栏16和右围栏17通过与固定座15的配合对称的转动安装在机台1上,右围栏17上设置有两组铁片,两组磁铁片18通过与铁片的配合固定安装在左围栏16上;通过设置左围栏16和右围栏17,能够在设备运行时,将左围栏16和右围栏17闭合,避免因收卷轴12的转动对工作人员造成损伤,提高设备使用的安全性。
22.本实用新型的一种bopp薄膜生产用分切机,所述左围栏16和右围栏17上均连接设置有把手19;通过设置把手19,能够使左围栏16和右围栏17的开闭更加的便捷,降低使用局限性。
23.本实用新型的一种bopp薄膜生产用分切机,所述左转盘4和右转盘5上均设置有缓冲垫20;通过设置缓冲垫20,能够有效防止在收卷轴12拆装过程中与左转盘4和右转盘5发生碰撞,提高使用可靠性。
24.本实用新型的一种bopp薄膜生产用分切机,所述两组滑孔9上均设置有滑套21;通过设置滑套21,能够使顶紧轴10的滑动更加的顺畅,减少顶紧轴10的磨损,提高使用可靠性。
25.本实用新型的一种bopp薄膜生产用分切机,还包括四组万向轮22,四组万向轮22均固定安装在机台1的底端;通过设置万向轮22,能够在调低调节地脚13时,使万向轮22与地面接触,从而能够使设备的移动和调整更加的省力便捷,降低使用局限性。
26.本实用新型的一种bopp薄膜生产用分切机,还包括手推把23,手推把23固定安装在机台1的左端;通过设置手推把23,能够便于推动设备进行移动和调整,降低使用局限性。
27.本实用新型的一种bopp薄膜生产用分切机,还包括防滑把套24,防滑把套24固定套装在手推把23的圆周外壁上;通过设置防滑把套24,能够有效防止在推动时,手部出现打滑脱手的情况,提高使用可靠性。
28.本实用新型的一种bopp薄膜生产用分切机,其在工作时,首先在拆卸收卷轴12时,收卷轴12的左右两端与左转盘4和右转盘5的表面还留有距离,工作人员可通过挤压顶紧轴10,使顶紧轴10通过收卷轴12挤压弹簧8,使弹簧8压缩,从而将顶紧轴10从插孔脱离处理,即可将收卷轴12拆卸下来,安装时,先将左转盘4上的顶紧轴10插入插孔内并挤压,使右转盘5上的顶紧轴10插入另一端的插孔内,弹簧在受到压缩时提供弹力,使顶紧轴10将收卷轴12顶紧,即可完成安装。
29.本实用新型的一种bopp薄膜生产用分切机,其安装方式、连接方式或设置方式均为常见机械方式,只要能够达成其有益效果的均可进行实施;本行业内技术人员只需按照其附带的使用说明书进行安装和操作即可。
30.以上所述仅是本实用新型的优选实施方式,应当指出,对于本技术领域的普通技术人员来说,在不脱离本实用新型技术原理的前提下,还可以做出若干改进和变型,这些改进和变型也应视为本实用新型的保护范围。
技术特征:
1.一种bopp薄膜生产用分切机,其特征在于,包括机台(1)、收卷电机(3)、左转盘(4)、右转盘(5)、两组顶紧轴(10)和收卷轴(12),机台(1)上设置有分切主机(2),收卷电机(3)固定安装在分切主机(2)上,左转盘(4)和右转盘(5)上均设置有连接轴(6),左转盘(4)通过连接轴(6)与收卷电机(3)输出端的连接转动安装在分切主机(2)内侧左端,右转盘(5)通过连接轴(6)转动安装在分切主机(2)内侧右端,并且左转盘(4)与右转盘(5)同轴,左转盘(4)和右转盘(5)的内部均设置有滑动腔(7),两组滑动腔(7)内均设置有弹簧(8),左转盘(4)的右端和右转盘(5)的左端分别与滑动腔(7)连通的设置有滑孔(9),两组顶紧轴(10)通过与滑孔(9)的配合分别滑动安装在左转盘(4)和右转盘(5)上,两组顶紧轴(10)上均设置有限位盘(11),两组限位盘(11)分别与两组弹簧(8)固定连接,收卷轴(12)的两端均设置有插孔,收卷轴(12)通过插孔与顶紧轴(10)的配合可拆卸的安装在左转盘(4)和右转盘(5)上,机台(1)的底端螺装的转动设置有四组调节地脚(13),四组调节地脚(13)上均螺装套设有锁母(14),并且四组锁母(14)的顶端均与机台(1)的底端贴紧。2.如权利要求1所述的一种bopp薄膜生产用分切机,其特征在于,还包括两组固定座(15)、左围栏(16)、右围栏(17)和磁铁片(18),两组固定座(15)前后对称的固定安装在机台(1)顶端,左围栏(16)和右围栏(17)通过与固定座(15)的配合对称的转动安装在机台(1)上,右围栏(17)上设置有两组铁片,两组磁铁片(18)通过与铁片的配合固定安装在左围栏(16)上。3.如权利要求2所述的一种bopp薄膜生产用分切机,其特征在于,所述左围栏(16)和右围栏(17)上均连接设置有把手(19)。4.如权利要求3所述的一种bopp薄膜生产用分切机,其特征在于,所述左转盘(4)和右转盘(5)上均设置有缓冲垫(20)。5.如权利要求4所述的一种bopp薄膜生产用分切机,其特征在于,所述两组滑孔(9)上均设置有滑套(21)。6.如权利要求5所述的一种bopp薄膜生产用分切机,其特征在于,还包括四组万向轮(22),四组万向轮(22)均固定安装在机台(1)的底端。7.如权利要求6所述的一种bopp薄膜生产用分切机,其特征在于,还包括手推把(23),手推把(23)固定安装在机台(1)的左端。8.如权利要求7所述的一种bopp薄膜生产用分切机,其特征在于,还包括防滑把套(24),防滑把套(24)固定套装在手推把(23)的圆周外壁上。
技术总结
本实用新型涉及薄膜加工设备的技术领域,特别是涉及一种BOPP薄膜生产用分切机,其能够使收卷轴拆装更加便捷,有效提高工作效率,降低使用局限性;包括机台、收卷电机、左转盘、右转盘、两组顶紧轴和收卷轴,机台上设置有分切主机,收卷电机固定安装在分切主机上,左转盘和右转盘上均设置有连接轴,左转盘通过连接轴与收卷电机输出端的连接转动安装在分切主机内侧左端,右转盘通过连接轴转动安装在分切主机内侧右端,收卷轴的两端均设置有插孔,收卷轴通过插孔与顶紧轴的配合可拆卸的安装在左转盘和右转盘上,机台的底端螺装的转动设置有四组调节地脚,四组调节地脚上均螺装套设有锁母,并且四组锁母的顶端均与机台的底端贴紧。并且四组锁母的顶端均与机台的底端贴紧。并且四组锁母的顶端均与机台的底端贴紧。
技术研发人员:曾爱娟
受保护的技术使用者:上海翰册塑料科技有限公司
技术研发日:2021.12.01
技术公布日:2022/4/8