
本实用新型涉及一种切割刀装置,特别是一种分切机用切割刀位置调节装置。
背景技术:
现有的分切机,一台分切机上只固定设置一个分切机构,且分切机构的切割刀数量和位置固定,不仅只能生产同一种尺寸的薄膜,当生产不同尺寸的材料时,需要不同的设备,资源得不到有效的利用,而且切割刀与刀轴固定,切割刀进行固定式的长时间切割工作,工作压力大,容易受损,使用寿命较短,需要经常进行更换,更换时需要将整个刀片刀轴一起从机架上取下来,安装更换麻烦费时,影响分切机的工作进度,降低薄膜的生产效率。
因此,现有的分切机用切割刀,存在分切尺寸有限、安装更换麻烦、生产效率降低的问题。
技术实现要素:
本实用新型的目的在于,提供一种分切机用切割刀位置调节装置。本实用新型具有分切尺寸多样、安装更换简单、生产效率提高的特点。
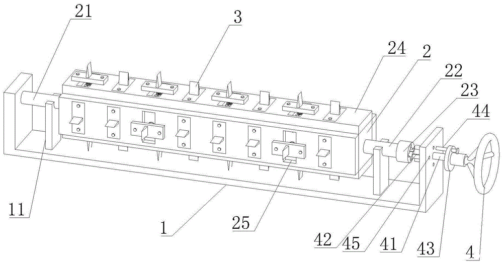
本实用新型的技术方案:一种分切机用切割刀位置调节装置,包括支架,支架上设有截面为正方形的切割刀架,切割刀架的四个侧面上均设有切割组件,切割刀架的一端通过第一连接轴与支架的一侧转动连接,切割刀架的另一端设有第二连接轴,第二连接轴的外端设有齿轮套;所述支架的另一侧设有手轮,手轮上设有贯穿支架的固定轴,固定轴的外端设有与齿轮套相匹配的固定齿轮,固定轴的内端设有限位板,限位板上设有定位件。
前述的一种分切机用切割刀位置调节装置中,所述切割组件包括固定板,固定板与切割刀架可拆卸连接,固定板上设有若干切割刀。
述的一种分切机用切割刀位置调节装置中,所述切割刀包括刀座和设置在刀座上的切割刃,固定板上设有若干与刀座的形状相匹配的定位槽,定位槽内转动连接有转盘,转盘的顶面与刀座的底面之间设有压缩弹簧,刀座通过螺栓与固定板连接。
述的一种分切机用切割刀位置调节装置中,所述固定板上位于定位槽的外侧设有与螺栓配合连接的第一螺纹孔,定位槽内设有与螺栓配合连接的第二螺纹孔。
述的一种分切机用切割刀位置调节装置中,所述支架上还设有分别承托第一连接轴和第二连接轴的托架。
述的一种分切机用切割刀位置调节装置中,所述支架的侧部以固定轴的中心为圆心均匀设有四个定位孔,所述定位件为定位轴,定位轴贯穿限位板与定位孔配合连接。
与现有技术相比,本实用新型中在切割刀架的四个侧面上均设有切割组件,每个切割组件可以设置呈不同的切割规格,通过固定齿轮与齿轮套连接,转动手轮即可带动切割刀架转动,改变切割刀架的实际工作的切割组件,使得不同规格的切割组件进行切割,从而得到不同规格的材料,分切尺寸多样,且其中切割组件的调整方便、快速,节省调整时间,使得分切机可以快速启动工作,提高生产效率,并通过定位件固定,稳定性好。
当需要进行更换切割刀时,仅仅更换切割刀架上的切割组件即可,省时省力,无需花费大量的时间和成本进行替换,分切机停工时间短,生产效率提高;当需要更换整个切割刀架时,仅需将定位件的定位去除,然后移动手轮,将固定齿轮与齿轮套分离即可,操作简单。
因此,本实用新型具有分切尺寸多样、安装更换简单、生产效率提高的特点。
附图说明
图1是本实用新型的结构示意图;
图2是切割刀与固定板的连接结构示意图;
图3是齿轮套与固定齿轮的连接结构示意图。
附图中的标记为:1、支架;11、托架;2、切割刀架;21、第一连接轴;22、第二连接轴;23、齿轮套;24、固定板;25、定位槽;26、转盘;27、压缩弹簧;28、螺栓;3、切割刀;31、刀座;32、切割刃;4、手轮;41、固定轴;42、固定齿轮;43、限位板;44、定位轴;45、定位孔。
具体实施方式
下面结合附图和实施例对本实用新型作进一步的说明,但并不作为对本实用新型限制的依据。
实施例。
如图1-3所示,一种分切机用切割刀位置调节装置,包括支架1,支架1上设有截面为正方形的切割刀架2,切割刀架2的四个侧面上均设有切割组件,切割刀架2的一端通过第一连接轴21与支架1的一侧转动连接,切割刀架2的另一端设有第二连接轴22,第二连接轴22的外端设有齿轮套23;所述支架1的另一侧设有手轮4,手轮4上设有贯穿支架1的固定轴41,固定轴41的外端设有与齿轮套23相匹配的固定齿轮42,固定轴41的内端设有限位板43,限位板43上设有定位件。
需要说明的是,固定轴41可在支架1上来回移动,从而实现固定齿轮42与齿轮套的连接或者脱离。
所述切割组件包括固定板24,固定板24与切割刀架2可拆卸连接,固定板24上设有若干切割刀3。固定板24与切割刀架2可以是螺钉连接、弹簧片固定或者卡接形式连接。
所述切割刀3包括刀座31和设置在刀座31上的切割刃32,固定板24上设有若干与刀座31的形状相匹配的定位槽25,定位槽25内转动连接有转盘26,转盘26的顶面与刀座31的底面之间设有压缩弹簧27,刀座31通过螺栓28与固定板24连接。定位槽为多边形的形状,例如长方形、三角形、五边形等。
所述固定板24上位于定位槽25的外侧设有与螺栓28配合连接的第一螺纹孔,定位槽25内设有与螺栓28配合连接的第二螺纹孔。
所述支架1上还设有分别承托第一连接轴21和第二连接轴22的托架11。进一步提高稳定性。
所述支架1的侧部以固定轴41的中心为圆心均匀设有四个定位孔45,所述定位件为定位轴44,定位轴44贯穿限位板43与定位孔45配合连接。
工作原理:
分切机工作时,移动手轮4,使得固定齿轮42嵌入到齿轮套23内,通过转动手轮4来带动切割刀架2转动,从而将符合切割规格的切割组件转动至工作位置进行切割工作,并将定位轴44与对应的定位孔45连接进行固定,得到满足要求的材料。切割刀架2的四个侧面的位置定位,恰好对应四个定位孔45与定位轴44的连接,定位准确。
其中,切割刀3不工作时,刀座31隐藏在定位槽25内,螺栓28与第二螺纹孔连接,压缩弹簧27呈压缩状态,切割刃32不与材料接触切割;当需要对应的切割刀3工作时,拧松螺栓28,刀座31在压缩弹簧27的回复弹力作用下向上移动,使得刀座31脱离定位槽25,然后旋转刀座31,使得刀座31与定位槽25不匹配,置于定位槽25的外部,再通过螺栓28与第一螺纹孔连接,从而固定刀座31,切割刃32进行切割工作;
根据实际需求,选择将不同侧面上的切割组件中的不同位置处的刀座31隐藏在定位槽25内或者脱离定位槽25,就可以改变了切割组件的实际工作样式,从而改变切割规格,不用定制不同规格的切割装置,降低了制造成本,也减轻了切割压力,减少分切刀的磨损,延长使用寿命;而且通过螺栓28固定,切割刀3工作稳定性好,更换时仅仅将切割刀3替换即可,更换简单,其中的调整方式也较为方便、快捷,节省更换切割刀3、转变切割规格的时间,提高生产效率。
技术特征:
1.一种分切机用切割刀位置调节装置,其特征在于:包括支架(1),支架(1)上设有截面为正方形的切割刀架(2),切割刀架(2)的四个侧面上均设有切割组件,切割刀架(2)的一端通过第一连接轴(21)与支架(1)的一侧转动连接,切割刀架(2)的另一端设有第二连接轴(22),第二连接轴(22)的外端设有齿轮套(23);所述支架(1)的另一侧设有手轮(4),手轮(4)上设有贯穿支架(1)的固定轴(41),固定轴(41)的外端设有与齿轮套(23)相匹配的固定齿轮(42),固定轴(41)的内端设有限位板(43),限位板(43)上设有定位件。
2.根据权利要求1所述的一种分切机用切割刀位置调节装置,其特征在于:所述切割组件包括固定板(24),固定板(24)与切割刀架(2)可拆卸连接,固定板(24)上设有若干切割刀(3)。
3.根据权利要求2所述的一种分切机用切割刀位置调节装置,其特征在于:所述切割刀(3)包括刀座(31)和设置在刀座(31)上的切割刃(32),固定板(24)上设有若干与刀座(31)的形状相匹配的定位槽(25),定位槽(25)内转动连接有转盘(26),转盘(26)的顶面与刀座(31)的底面之间设有压缩弹簧(27),刀座(31)通过螺栓(28)与固定板(24)连接。
4.根据权利要求3所述的一种分切机用切割刀位置调节装置,其特征在于:所述固定板(24)上位于定位槽(25)的外侧设有与螺栓(28)配合连接的第一螺纹孔,定位槽(25)内设有与螺栓(28)配合连接的第二螺纹孔。
5.根据权利要求1所述的一种分切机用切割刀位置调节装置,其特征在于:所述支架(1)上还设有分别承托第一连接轴(21)和第二连接轴(22)的托架(11)。
6.根据权利要求1所述的一种分切机用切割刀位置调节装置,其特征在于:所述支架(1)的侧部以固定轴(41)的中心为圆心均匀设有四个定位孔(45),所述定位件为定位轴(44),定位轴(44)贯穿限位板(43)与定位孔(45)配合连接。
技术总结
本实用新型公开了一种分切机用切割刀位置调节装置,包括支架(1),支架(1)上设有截面为正方形的切割刀架(2),切割刀架(2)的四个侧面上均设有切割组件,切割刀架(2)的一端通过第一连接轴(21)与支架(1)的一侧转动连接,切割刀架(2)的另一端设有第二连接轴(22),第二连接轴(22)的外端设有齿轮套(23);所述支架(1)的另一侧设有手轮(4),手轮(4)上设有贯穿支架(1)的固定轴(41),固定轴(41)的外端设有与齿轮套(23)相匹配的固定齿轮(42),固定轴(41)的内端设有限位板(43),限位板(43)上设有定位件。本实用新型具有分切尺寸多样、安装更换简单、生产效率提高的特点。
技术研发人员:付杰;张辉;顾兴辉
受保护的技术使用者:金华威派包装有限公司
技术研发日:2020.04.23
技术公布日:2020.11.17