
本实用新型属于金属加工设备领域,具体涉及一种电池箔分切机润滑剪切装置。
背景技术:
目前在电池铝箔行业内,分切机剪切装置伺服圆刀在切边时润滑效果欠佳,出现端部毛刺,影响产品质量,由于用润滑油润滑会导致边部发黄,遂会考虑酒精的润滑,但现有的酒精润滑均为手动,无法做到精确控制润滑量。
技术实现要素:
因此,为了克服上述现有技术的缺点,本实用新型提供一种电池箔分切机润滑剪切装置,以提高精度,可满足更高端的产品需求。
为了实现上述目的,提供一种电池箔分切机润滑剪切装置,包括:
电池箔分切机润滑剪切装置本体;
设置于所述分切机本体上的刀槽辊;
刀架,所述刀架设置于所述刀槽辊的一侧,所述刀架能够相对于所述刀槽辊左右移动;
圆刀,所述圆刀设置于所述刀架上,且所述刀槽辊上设置有与所述圆刀配合的刀槽;
蠕动泵和润滑剂传送管道,所述润滑剂传送管道包括第一端以及与所述第一端相对的第二端,所述润滑剂传送管道的第一端与所述蠕动泵连接,所述润滑剂传送管道的第二端与所述圆刀连接,从而将蠕动泵泵送的润滑剂施加于所述圆刀上。
进一步地,还包括相互连接的传感装置和控制装置,所述传感装置监控施加于所述圆刀表面的润滑剂,并将传感信号发送至所述控制装置,所述控制装置控制所述蠕动泵的润滑剂泵送速度。
进一步地,还包括润滑剂施加装置,所述润滑剂施加装置与所述润滑剂传送管道的第二端连通,且与所述圆刀接触,用于对所述圆刀施加润滑剂。
进一步地,还包括润滑剂存储装置,所述润滑剂存储装置与所述蠕动泵连通。
进一步地,所述润滑剂施加装置包括海绵。
进一步地,润滑剂存储装置包括润滑剂存储容器和容器卡槽,所述润滑剂存储容器卡接于所述容器卡槽内。
进一步地,还包括刀架导轨,所述刀架设置于所述刀架导轨上,能够沿所述刀架导轨往复移动。
进一步地,还包括放卷机构、张力辊和收卷机构,电池箔经放卷机构开卷后通过张力辊导入分切机构进行分切,完成分切的电池箔最终通过收卷机构进行卷取。
进一步地,所述润滑剂包括酒精。
与现有技术相比,本实用新型利用润滑剂对伺服圆刀润滑,润滑剂通过蠕动泵,输送到伺服刀架上方的润滑剂施加装置,润滑剂在润滑剂施加装置上吸附,然后对刀片进行润滑,蠕动泵可控制润滑剂的滴落速度,可达到精确控制润滑的效果,能够较好地实现润滑效果。且成本低,有利于实现批量化作业生产。
附图说明
图1为本实用新型一个实施例中的电池箔分切机润滑剪切装置的示意图。
具体实施方式
为使本实用新型的目的、技术方案和优点更加清楚明白,以下结合具体实施例,并参照附图,对本实用新型进一步详细说明。
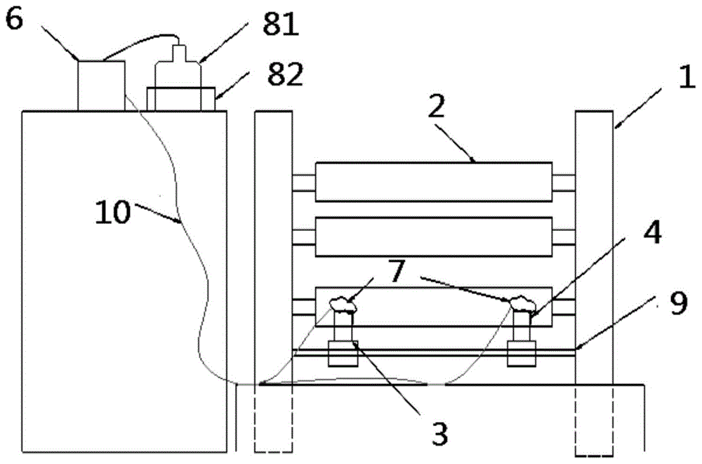
在本实用新型的一个实施例中,如图1所示,一种电池箔分切机润滑剪切装置,包括电池箔分切机润滑剪切装置本体1;
设置于所述分切机本体1上的刀槽辊2;
刀架3,所述刀架3设置于所述刀槽辊2的一侧,所述刀架3能够相对于所述刀槽辊2左右移动;
圆刀4,所述圆刀4设置于所述刀架3上,且所述刀槽辊2上设置有与所述圆刀4配合的刀槽5;
蠕动泵6和润滑剂传送管道10,所述润滑剂传送管道10包括第一端以及与所述第一端相对的第二端,所述润滑剂传送管道10的第一端与所述蠕动泵6连接,所述润滑剂传送管道10的第二端与所述圆刀4连接,从而将蠕动泵6泵送的润滑剂施加于所述圆刀4上。
在一个实施例中,还包括相互连接的传感装置和控制装置,所述传感装置监控施加于所述圆刀4表面的润滑剂,并将传感信号发送至所述控制装置,所述控制装置控制所述蠕动泵6的润滑剂泵送速度。
在一个实施例中,还包括润滑剂施加装置7,所述润滑剂施加装置7与所述润滑剂传送管道10的第二端连通,且与所述圆刀4接触,用于对所述圆刀4施加润滑剂。
在一个实施例中,还包括润滑剂存储装置8,所述润滑剂存储装置8与所述蠕动泵6连通。
在一个实施例中,所述润滑剂施加装置7包括海绵。
在一个实施例中,润滑剂存储装置8包括润滑剂存储容器81和容器卡槽82,所述润滑剂存储容器81卡接于所述容器卡槽82内。
在一个实施例中,还包括刀架导轨9,所述刀架3设置于所述刀架导轨9上,能够沿所述刀架导轨9往复移动。
在一个实施例中,还包括放卷机构、张力辊和收卷机构,电池箔经放卷机构开卷后通过张力辊导入分切机构进行分切,完成分切的电池箔最终通过收卷机构进行卷取。
在一个实施例中,所述润滑剂包括酒精。
以上所述仅为本实用新型的较佳实施例而已,并不用以限制本实用新型,凡在本实用新型的精神和原则之内所作的任何修改、等同替换和改进等,均应包含在本实用新型的保护范围之内。以上所述仅是本实用新型的优选实施方式,应当指出,对于本技术领域的普通技术人员来说,在不脱离本实用新型技术原理的前提下,还可以做出若干改进和变型,这些改进和变型也应视为本实用新型的保护范围。
技术特征:
1.一种电池箔分切机润滑剪切装置,其特征在于,包括电池箔分切机润滑剪切装置本体;设置于所述分切机本体上的刀槽辊;刀架,所述刀架设置于所述刀槽辊的一侧,所述刀架能够相对于所述刀槽辊左右移动;圆刀,所述圆刀设置于所述刀架上,且所述刀槽辊上设置有与所述圆刀配合的刀槽;蠕动泵和润滑剂传送管道,所述润滑剂传送管道包括第一端以及与所述第一端相对的第二端,所述润滑剂传送管道的第一端与所述蠕动泵连接,所述润滑剂传送管道的第二端与所述圆刀连接,从而将蠕动泵泵送的润滑剂施加于所述圆刀上。
2.如权利要求1所述的电池箔分切机润滑剪切装置,其特征在于,还包括相互连接的传感装置和控制装置,所述传感装置监控施加于所述圆刀表面的润滑剂,并将传感信号发送至所述控制装置,所述控制装置控制所述蠕动泵的润滑剂泵送速度。
3.如权利要求1所述的电池箔分切机润滑剪切装置,其特征在于,还包括润滑剂施加装置,所述润滑剂施加装置与所述润滑剂传送管道的第二端连通,且与所述圆刀接触,用于对所述圆刀施加润滑剂。
4.如权利要求1所述的电池箔分切机润滑剪切装置,其特征在于,还包括润滑剂存储装置,所述润滑剂存储装置与所述蠕动泵连通。
5.如权利要求3所述的电池箔分切机润滑剪切装置,其特征在于,所述润滑剂施加装置包括海绵。
6.如权利要求4所述的电池箔分切机润滑剪切装置,其特征在于,润滑剂存储装置包括润滑剂存储容器和容器卡槽,所述润滑剂存储容器卡接于所述容器卡槽内。
7.如权利要求1所述的电池箔分切机润滑剪切装置,其特征在于,还包括刀架导轨,所述刀架设置于所述刀架导轨上,能够沿所述刀架导轨往复移动。
8.如权利要求1所述的电池箔分切机润滑剪切装置,其特征在于,还包括放卷机构、张力辊和收卷机构,电池箔经放卷机构开卷后通过张力辊导入分切机构进行分切,完成分切的电池箔最终通过收卷机构进行卷取。
9.如权利要求1所述的电池箔分切机润滑剪切装置,其特征在于,所述润滑剂包括酒精。
技术总结
本实用新型提供一种电池箔分切机润滑剪切装置,包括电池箔分切机润滑剪切装置本体;设置于所述分切机本体上的刀槽辊;刀架,所述刀架设置于所述刀槽辊的一侧,所述刀架能够相对于所述刀槽辊左右移动;圆刀,所述圆刀设置于所述刀架上,且所述刀槽辊上设置有与所述圆刀配合的刀槽;蠕动泵和润滑剂传送管道,所述润滑剂传送管道包括第一端以及与所述第一端相对的第二端,所述润滑剂传送管道的第一端与所述蠕动泵连接,所述润滑剂传送管道的第二端与所述圆刀连接,从而将蠕动泵泵送的润滑剂施加于所述圆刀上。本实用新型润滑剂通过蠕动泵,输送到伺服刀架上方的润滑剂施加装置,润滑剂在润滑剂施加装置上吸附,然后对刀片进行润滑。
技术研发人员:樊文忠;胡志远;侯永林;张雄星;江辉;曾杰江
受保护的技术使用者:杭州五星铝业有限公司
技术研发日:2019.12.28
技术公布日:2020.10.20