
本实用新型涉及一种定位装置,具体为一种agm隔板加工用全自动数控纸管精切机定位装置,属于定位装置应用技术领域。
背景技术:
agm隔板,即超细玻璃棉隔板,通常是由直径为0.5~3μm的玻璃微纤维通过类似造纸的湿法成型工艺而制得的质地均匀的薄片状柔性材料。agm隔板与阀控式密封铅酸蓄电池密切联系着,有阀控式密封铅酸蓄电池“第三极”之称谓,其主要作用是防止电池内正负极板之间的短路,吸附电池充放电时正负极板发生化学反应所需的电解液,提供电池化学反应时生成的氧气可以渗透到负极的通道,氧气可透过隔板在负极上再化合成水,实现免维护或少维护。
对比文件cn208744986u公开了一种agm隔板切刀防护及隔板分盘装置,包括切割刀防护板、切刀、滑块、滑轨、产品、分盘装置、安装螺栓,切割刀防护板安装在切刀的外包围,切割刀防护板前置板的中心位置螺栓定位安装有滑轨,滑块与滑轨对应设置定位安装,分盘装置通过安装螺栓定位安装在滑块上,切刀与产品的位置关系呈垂直设置安装,一种agm隔板切刀防护及隔板分盘装置,该技术方案工作原理:产品分切正常情况下落下切刀防护罩使其罩住整个切刀装置,分盘装置收缩进防护罩内;当产品分切不充分时,分盘装置通过滑轨至待分切产品顶部,伸长装置使半椭圆体触到纸面并给予一定的力使其分开,该装置可根据分盘情况确定分盘装置数量随时装卸。
但在该专利中,其设置的agm隔板加工用全自动数控纸管精切机定位装置稳固性不够,没有设置缓冲弹簧使得该定位装置对agm隔板的夹持定位更加稳固安全,使得定位操作不够精确高效,使得加工生产的agm隔板不够完整美观。
为了解决上述技术问题,本实用新型提供如下技术方案。
技术实现要素:
本实用新型的目的就在于为了解决现有的agm隔板加工用全自动数控纸管精切机定位装置稳固性不够,没有设置缓冲弹簧使得该定位装置对agm隔板的夹持定位更加稳固安全,使得定位操作不够精确高效,使得加工生产的agm隔板不够完整美观的技术问题,而提出一种agm隔板加工用全自动数控纸管精切机定位装置,将待加工的agm隔板移动至定位台上,再将该加工用定位装置的定位台连接在全自动数控纸管精切机放置台上,启动移槽上端的电机控制移杆在移槽中移动,调整移杆到agm隔板的放置位置,从而可以更加方便迅捷的进行夹持定位操作,再启动定位台上侧前后设置的两个固定板上的第一气泵,推动第一连杆和第一挡板对agm隔板前后端进行固定,固定板内部设置的缓冲弹簧使得下移的第一挡板对agm隔板的夹持定位更加稳固,从而提升了agm隔板的安全性,通过设置在定位台下侧的第二气泵推动竖杆,使得套设在横槽中的竖杆带动第二挡板对放置的agm隔板前后进行夹持定位,缓冲弹簧将两根竖杆下端连接,提升了该定位装置的稳固性,使得该定位装置的定位操作更加精确高效。
本实用新型的目的可以通过以下技术方案实现:
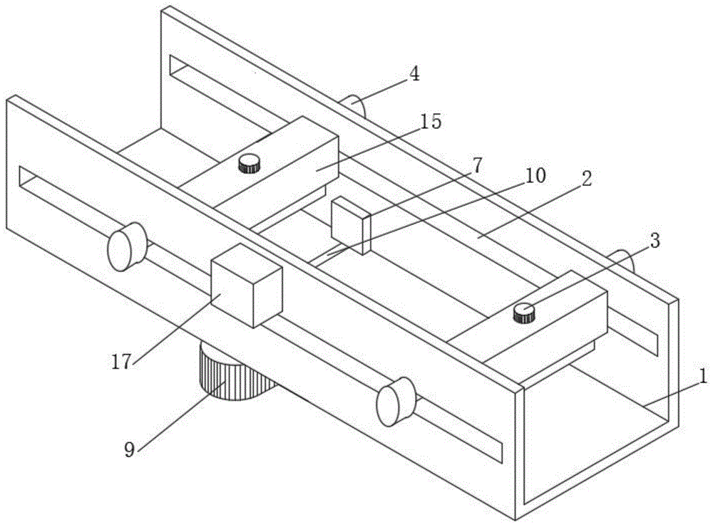
一种agm隔板加工用全自动数控纸管精切机定位装置,包括定位台、第一挡板、第二挡板和放置槽;
所述定位台两侧垂直对称设有竖板,所述竖板两侧对称设有移槽,所述移槽内活动套接有移杆,所述移杆中部活动套接有固定板,所述固定板上端贯穿设有第一气泵,所述第一气泵下端连接有第一连杆,所述第一连杆下端连接有第一挡板,所述移杆两端设有固定块;
所述定位台底面垂直设有横槽,所述定位台底面下侧设有放置槽,所述放置槽两端对称设有第二气泵,所述第二气泵内侧垂直连接有第二连杆,所述第二连杆一端活动连接有推板。
优选的,所述推板一侧设有竖杆,所述竖杆上端连接有第二挡板,所述竖杆活动设置在横槽中。
优选的,所述第一挡板上侧活动连接有若干个缓冲弹簧,所述缓冲弹簧与固定板内侧通过点焊固定连接。
优选的,两根所述竖杆下部垂直设有缓冲弹簧,所述竖杆与缓冲弹簧通过点焊固定连接。
优选的,所述固定板下侧设有凹槽,所述第一挡板活动设置在凹槽中。
优选的,所述移槽上侧固定连接有电机,所述电机与固定块相连接。
与现有技术相比,本实用新型的有益效果是:
1、该agm隔板加工用定位装置的定位台连接设置在全自动数控纸管精切机放置台上,将待加工的agm隔板移动至定位台上,通过前后设置的两个固定板上的第一气泵推动第一连杆和第一挡板对agm隔板前后端进行固定,固定板内部设置的缓冲弹簧使得下移的第一挡板对agm隔板的夹持定位更加稳固,从而提升了agm隔板的安全性。
2、通过设置在定位台下侧的第二气泵推动竖杆,使得套设在横槽中的竖杆带动第二挡板对放置的agm隔板前后进行夹持定位,缓冲弹簧将两根竖杆下端连接,提升了该定位装置的稳固性;通过移槽上端的电机控制移杆,使得移杆可以在移槽中移动到agm隔板的放置位置,从而更加方便迅捷的进行夹持定位操作,使得该定位装置的定位操作更加精确高效,使得加工生产的agm隔板更加完整美观。
附图说明
为了便于本领域技术人员理解,下面结合附图对本实用新型作进一步的说明。
图1为本实用新型的整体结构示意图。
图2为本实用新型固定板的内部结构剖视图。
图3为本实用新型放置槽的内部结构剖视图。
图中:1、定位台;2、移槽;3、第一气泵;4、固定块;5、固定板;6、第一挡板;7、第二挡板;8、推板;9、第二气泵;10、横槽;11、缓冲弹簧;12、第一连杆;13、第二连杆;14、放置槽;15、移杆;16、竖杆;17、电机。
具体实施方式
下面将结合实施例对本实用新型的技术方案进行清楚、完整地描述,显然,所描述的实施例仅仅是本实用新型一部分实施例,而不是全部的实施例。基于本实用新型中的实施例,本领域普通技术人员在没有作出创造性劳动前提下所获得的所有其它实施例,都属于本实用新型保护的范围。
请参阅图1-3所示,一种agm隔板加工用全自动数控纸管精切机定位装置,包括定位台1、第一挡板6、第二挡板7和放置槽14;
定位台1两侧垂直对称设有竖板,竖板两侧对称设有移槽2,移槽2内活动套接有移杆15,移杆15中部活动套接有固定板5,固定板5上端贯穿设有第一气泵3,第一气泵3下端连接有第一连杆12,第一连杆12下端连接有第一挡板6,移杆15两端设有固定块4,将待加工的agm隔板移动至定位台1上,再将该加工用定位装置的定位台1连接在全自动数控纸管精切机放置台上;
定位台1底面垂直设有横槽10,定位台1底面下侧设有放置槽14,放置槽14两端对称设有第二气泵9,第二气泵9内侧垂直连接有第二连杆13,第二连杆13一端活动连接有推板8。
其中,推板8一侧设有竖杆16,竖杆16上端连接有第二挡板7,竖杆16活动设置在横槽10中。
其中,第一挡板6上侧活动连接有若干个缓冲弹簧11,缓冲弹簧11与固定板5内侧通过点焊固定连接,固定板5内部设置的缓冲弹簧11使得下移的第一挡板6对agm隔板的夹持定位更加稳固,从而提升了agm隔板的安全性。
其中,两根竖杆16下部垂直设有缓冲弹簧11,竖杆16与缓冲弹簧11通过点焊固定连接,通过设置在定位台1下侧的第二气泵9推动竖杆16,使得套设在横槽10中的竖杆16带动第二挡板7对放置的agm隔板前后进行夹持定位,缓冲弹簧11将两根竖杆16下端连接,提升了该定位装置的稳固性,使得该定位装置的定位操作更加精确高效。
其中,固定板5下侧设有凹槽,第一挡板6活动设置在凹槽中。
其中,移槽2上侧固定连接有电机17,电机17与固定块4相连接,启动移槽2上端的电机17控制移杆15在移槽2中移动,调整移杆15到agm隔板的放置位置,从而可以更加方便迅捷的进行夹持定位操作,再启动定位台1上侧前后设置的两个固定板5上的第一气泵3,推动第一连杆12和第一挡板6对agm隔板前后端进行固定。
本实用新型在使用时,工作人员先将待加工的agm隔板移动至定位台1上,再将该加工用定位装置的定位台1连接在全自动数控纸管精切机放置台上,启动移槽2上端的电机17控制移杆15在移槽2中移动,调整移杆15到agm隔板的放置位置,从而可以更加方便迅捷的进行夹持定位操作,再启动定位台1上侧前后设置的两个固定板5上的第一气泵3,推动第一连杆12和第一挡板6对agm隔板前后端进行固定,固定板5内部设置的缓冲弹簧11使得下移的第一挡板6对agm隔板的夹持定位更加稳固,从而提升了agm隔板的安全性,通过设置在定位台1下侧的第二气泵9推动竖杆16,使得套设在横槽10中的竖杆16带动第二挡板7对放置的agm隔板前后进行夹持定位,缓冲弹簧11将两根竖杆16下端连接,提升了该定位装置的稳固性,使得该定位装置的定位操作更加精确高效。
以上公开的本实用新型优选实施例只是用于帮助阐述本实用新型。优选实施例并没有详尽叙述所有的细节,也不限制该实用新型仅为的具体实施方式。显然,根据本说明书的内容,可作很多的修改和变化。本说明书选取并具体描述这些实施例,是为了更好地解释本实用新型的原理和实际应用,从而使所属技术领域技术人员能很好地理解和利用本实用新型。本实用新型仅受权利要求书及其全部范围和等效物的限制。
技术特征:
1.一种agm隔板加工用全自动数控纸管精切机定位装置,包括定位台(1)、第一挡板(6)、第二挡板(7)和放置槽(14),其特征在于,所述定位台(1)两侧垂直对称设有竖板,所述竖板两侧对称设有移槽(2),所述移槽(2)内活动套接有移杆(15),所述移杆(15)中部活动套接有固定板(5),所述固定板(5)上端贯穿设有第一气泵(3),所述第一气泵(3)下端连接有第一连杆(12),所述第一连杆(12)下端连接有第一挡板(6),所述移杆(15)两端设有固定块(4);
所述定位台(1)底面垂直设有横槽(10),所述定位台(1)底面下侧设有放置槽(14),所述放置槽(14)两端对称设有第二气泵(9),所述第二气泵(9)内侧垂直连接有第二连杆(13),所述第二连杆(13)一端活动连接有推板(8)。
2.根据权利要求1所述的一种agm隔板加工用全自动数控纸管精切机定位装置,其特征在于,所述推板(8)一侧设有竖杆(16),所述竖杆(16)上端连接有第二挡板(7),所述竖杆(16)活动设置在横槽(10)中。
3.根据权利要求1所述的一种agm隔板加工用全自动数控纸管精切机定位装置,其特征在于,所述第一挡板(6)上侧活动连接有若干个缓冲弹簧(11),所述缓冲弹簧(11)与固定板(5)内侧通过点焊固定连接。
4.根据权利要求2所述的一种agm隔板加工用全自动数控纸管精切机定位装置,其特征在于,两根所述竖杆(16)下部垂直设有缓冲弹簧(11),所述竖杆(16)与缓冲弹簧(11)通过点焊固定连接。
5.根据权利要求1所述的一种agm隔板加工用全自动数控纸管精切机定位装置,其特征在于,所述固定板(5)下侧设有凹槽,所述第一挡板(6)活动设置在凹槽中。
6.根据权利要求1所述的一种agm隔板加工用全自动数控纸管精切机定位装置,其特征在于,所述移槽(2)上侧固定连接有电机(17),所述电机(17)与固定块(4)相连接。
技术总结
本实用新型公开了一种AGM隔板加工用全自动数控纸管精切机定位装置,包括定位台、第一挡板、第二挡板和放置槽;所述定位台两侧垂直对称设有竖板,所述竖板两侧对称设有移槽,所述移槽内活动套接有移杆,所述移杆中部活动套接有固定板,所述固定板上端贯穿设有第一气泵;启动定位台上侧前后设置的两个固定板上的第一气泵,推动第一连杆和第一挡板对AGM隔板前后端进行固定,从而提升了AGM隔板的安全性,通过设置在定位台下侧的第二气泵推动竖杆,使得套设在横槽中的竖杆带动第二挡板对放置的AGM隔板前后进行夹持定位,缓冲弹簧将两根竖杆下端连接,提升了该定位装置的稳固性,使得该定位装置的定位操作更加精确高效。
技术研发人员:朱保红;王振伟
受保护的技术使用者:安徽宝鸿新材料科技有限公司
技术研发日:2019.12.20
技术公布日:2020.08.11

一台优秀的冲孔机已不再是简单的“打孔”工具,其真正的竞争力,正牢牢根植于三大核心技术的完美融合:极限的速度、微米的精度与磐石般的稳定性。

纸管冲孔机的出现,彻底颠覆了传统的加工模式,以其“一键实现高效精准冲孔”的卓越性能,正成为行业升级换代的核心利器。

一场由全自动纸管冲孔机引领的“效率与精度”革命,正悄然改变着这一局面,成为驱动现代制造业高速发展的隐形引擎。