
本实用新型涉及一种分条机,主要用于标签纸的分条。
背景技术:
标签纸生产完成之后,需要切割分条时,一般采用分条机进行分条。在现有技术中,一般在分切辊上设置多把环形分切到对产品进行分切,但是上述结构存在以下不足:由于分切辊为转动分切,容易将分切好的条状产品复卷于分切辊上,不仅影响分条质量,还容易损坏设备。
技术实现要素:
本实用新型目的是提供一种分条机,通过使用该结构,提高了分条效率及分条合格率,同时也提高了收卷质量。
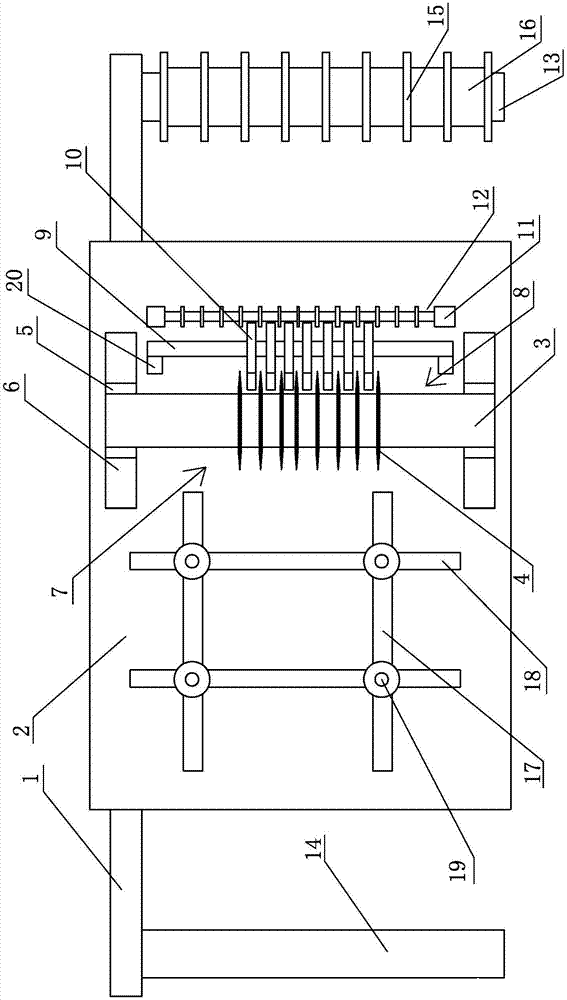
为达到上述目的,本实用新型采用的技术方案是:一种分条机,包括机架及设置于机架上的分切平台,所述分切平台上设有分切辊,所述分切辊的外缘面上设有复数片环形分切刀;所述分切辊的两端分别设有一支撑板,每块所述支撑板上设有一连接机构,所述分切辊的两端分别与所述连接机构相连;所述分切辊的左侧为进料端,右侧为出料端,所述出料端处设有一横杆,所述横杆的两端经支撑块安装于所述分切平台上,且所述横杆平行于所述分切辊设置;所述横杆上安装有复数块挡片,每块所述挡片分别插于相邻所述环形分切刀之间,且所述挡片与所述环形分切刀之间设有间隙;所述横杆的右侧还设有一限位传动棍,所述限位传动棍平行于所述横杆设置,所述限位传动棍的外缘面上设有复数条环形凹槽,每条所述环形凹槽正对一块挡片设置,且所述挡片对应插设于一条环形凹槽内。
上述技术方案中,所述分切辊的左侧还设有两根卡位条,所述卡位条垂直于所述分切辊设置,且所述卡位条下方的分切平台上还设有滑动槽,所述滑动槽平行于所述分切辊设置,所述卡位条经螺栓滑动安装于所述滑动槽内。
上述技术方案中,所述环形凹槽的宽度大于所述挡片的厚度。
上述技术方案中,所述挡片的底面与所述分切平台相互平行设置,每块所述挡片的前端分别插于相邻所述环形滚刀片之间;所述挡片的前端与所述 分切辊的外缘面之间设有2mm~5mm的间距,所述挡片前端的顶面呈倾斜面。
上述技术方案中,所述机架的右侧下部设有收卷辊,所述机架的左侧下部设有放卷辊,所述收卷辊及放卷辊平行于所述分切辊设置。
上述技术方案中,所述收卷棍上均布有复数块环形挡片,相邻环形挡片之间的距离大于相邻环形分切刀之间的距离。
上述技术方案中,相邻所述环形挡片之间的收卷棍上分别设有一卷筒,所述卷筒套设于所述收卷棍上,所述环形挡片套设于所述收卷棍上。
由于上述技术方案运用,本实用新型与现有技术相比具有下列优点:
1.本实用新型中通过在分切棍的出料端处设置横杆,并在横杆上安装挡片,挡片插设到相邻环形分切到之间,这样在分切使用时,挡片能够挡住分切好的产品,这样能够防止产品被卷绕到分切棍上,保证分切质量及分切效率,同时在横杆的旁侧设置限位传动棍,利用限位传动棍的设置,能够对分切好的产品进行压紧传动,进一步提高分切质量;
2.本实用新型中在收卷棍上设置多块环形挡片,这样在收卷时,能够对产品进行单独的收卷,便于产品的收集。
附图说明
图1是本实用新型实施例一中的结构示意图;
图2是本实用新型实施例一中挡片的立体结构示意图。
其中:1、机架;2、分切平台;3、分切辊;4、环形分切刀;5、支撑板;6、连接机构;7、进料端;8、出料端;9、横杆;10、挡片;11、限位传动棍;12、环形凹槽;13、收卷辊;14、放卷辊;15、环形挡片;16、卷筒;17、卡位条;18、滑动槽;19、螺栓;20、支撑块。
具体实施方式
下面结合附图及实施例对本实用新型作进一步描述:
实施例一:参见图1、2所示,一种分条机,包括机架1及设置于机架1上的分切平台2,所述分切平台2上设有分切辊3,所述分切辊3的外缘面上设有复数片环形分切刀4;所述分切辊3的两端分别设有一支撑板5,每块所述支撑板5上设有一连接机构6,所述分切辊3的两端分别与所述连接机构6相连;所述分切辊3的左侧为进料端7,右侧为出料端8,所述出料端8处设有一横杆9,所述横杆9的两端经支撑块20安装于所述分切平台2 上,且所述横杆9平行于所述分切辊3设置;所述横杆9上安装有复数块挡片10,每块所述挡片10分别插于相邻所述环形分切刀4之间,且所述挡片10与所述环形分切刀4之间设有间隙;所述横杆9的右侧还设有一限位传动棍11,所述限位传动棍11平行于所述横杆9设置,所述限位传动棍11的外缘面上设有复数条环形凹槽12,每条所述环形凹槽正对一块挡片设置,且所述挡片对应插设于一条环形凹槽内。
参见图1所示,所述机架1的右侧下部设有收卷辊13,所述机架1的左侧下部设有放卷辊14,所述收卷辊13及放卷辊14平行于所述分切辊3设置。
在本实施例中,在使用时,将宽度较大的标签原材料放置到收卷棍上,然后将原材料拉动到分切平台上,通过分切棍的下方,利用环形分切刀对原材料进行分条,每根分条之后的产品会被挡片挡住,这样能够放置产品被复卷到收卷棍上,然后再通过限位传动棍的环形凹槽对产品压住传动,这样不仅能够防止产品被复卷到收卷棍上,还能够对产品进行传动导向,而且还能够利用环形凹槽的侧壁对产品进行限位,这样能够防止产品跑偏,便于后续的收卷。
参见图1所示,所述收卷棍13上均布有复数块环形挡片15,相邻环形挡片之间的距离大于相邻环形分切刀之间的距离。相邻所述环形挡片之间的收卷棍上分别设有一卷筒16,所述卷筒套设于所述收卷棍上,所述环形挡片套设于所述收卷棍上。
在本实施例中,在分条好的产品进行收卷时,通过环形挡片的设置,这样能够将各组分条好的产品区分开,同时通过卷筒的设置,这样每组产品都能够被复卷到卷筒上面,这样便于将复卷好的产品从收卷棍上取下,也便于收纳及后续的分切工序。
参见图1所示,所述分切辊3的左侧还设有两根卡位条17,所述卡位条17垂直于所述分切辊3设置,且所述卡位条17下方的分切平台2上还设有滑动槽18,所述滑动槽18平行于所述分切辊设置,所述卡位条17经螺栓19滑动安装于所述滑动槽18内。
在本实施例中,通过卡位条及滑动槽的设置,这样在使用时,能够调节两根卡位条之间的距离,这样能够对不同宽度的产品进行限位,保证分条质量,防止不均匀的问题出现。
所述环形凹槽的宽度大于所述挡片的厚度。
所述挡片的底面与所述分切平台相互平行设置,每块所述挡片的前端分别插于相邻所述环形滚刀片之间;所述挡片的前端与所述分切辊的外缘面之间设有2mm~5mm的间距,所述挡片前端的顶面呈倾斜面。

技术特征:
1.一种分条机,其特征在于:包括机架及设置于机架上的分切平台,所述分切平台上设有分切辊,所述分切辊的外缘面上设有复数片环形分切刀;所述分切辊的两端分别设有一支撑板,每块所述支撑板上设有一连接机构,所述分切辊的两端分别与所述连接机构相连;所述分切辊的左侧为进料端,右侧为出料端,所述出料端处设有一横杆,所述横杆的两端经支撑块安装于所述分切平台上,且所述横杆平行于所述分切辊设置;所述横杆上安装有复数块挡片,每块所述挡片分别插于相邻所述环形分切刀之间,且所述挡片与所述环形分切刀之间设有间隙;所述横杆的右侧还设有一限位传动棍,所述限位传动棍平行于所述横杆设置,所述限位传动棍的外缘面上设有复数条环形凹槽,每条所述环形凹槽正对一块挡片设置,且所述挡片对应插设于一条环形凹槽内。
2.根据权利要求1所述的分条机,其特征在于:所述分切辊的左侧还设有两根卡位条,所述卡位条垂直于所述分切辊设置,且所述卡位条下方的分切平台上还设有滑动槽,所述滑动槽平行于所述分切辊设置,所述卡位条经螺栓滑动安装于所述滑动槽内。
3.根据权利要求1所述的分条机,其特征在于:所述环形凹槽的宽度大于所述挡片的厚度。
4.根据权利要求1所述的分条机,其特征在于:所述挡片的底面与所述分切平台相互平行设置,每块所述挡片的前端分别插于相邻所述环形滚刀片之间;所述挡片的前端与所述分切辊的外缘面之间设有2mm ~5mm 的间距,所述挡片前端的顶面呈倾斜面。
5.根据权利要求1所述的分条机,其特征在于:所述机架的右侧下部设有收卷辊,所述机架的左侧下部设有放卷辊,所述收卷辊及放卷辊平行于所述分切辊设置。
6.根据权利要求5所述的分条机,其特征在于:所述收卷棍上均布有复数块环形挡片,相邻环形挡片之间的距离大于相邻环形分切刀之间的距离。
7.根据权利要求6所述的分条机,其特征在于:相邻所述环形挡片之间的收卷棍上分别设有一卷筒,所述卷筒套设于所述收卷棍上,所述环形挡片套设于所述收卷棍上。
技术总结
本实用新型公开了一种分条机,其特征在于:包括机架及设置于机架上的分切平台,所述分切平台上设有分切辊,分切辊的外缘面上设有复数片环形分切刀;分切辊的左侧为进料端,右侧为出料端,所述出料端处设有一横杆,所述横杆的两端经支撑块安装于所述分切平台上,且所述横杆平行于所述分切辊设置;所述横杆上安装有复数块挡片,每块所述挡片分别插于相邻所述环形分切刀之间,且所述挡片与所述环形分切刀之间设有间隙;所述横杆的右侧还设有一限位传动棍,所述限位传动棍平行于所述横杆设置,所述限位传动棍的外缘面上设有复数条环形凹槽,每条所述环形凹槽正对一块挡片设置,且所述挡片对应插设于一条环形凹槽内。本实用新型提高了标签的分条质量。
技术研发人员:窦伟强;朱杰;闵博飞;徐孝平
受保护的技术使用者:开普洛克(苏州)材料科技有限公司
文档号码:201721302079
技术研发日:2017.10.11
技术公布日:2018.05.01

自创立以来,米兰体育官方正版下载地址始终致力于打造全球领先的分切设备,以创新技术、优质产品和专业服务赢得了广泛赞誉。

本实用新型涉及一种熔喷无纺布加工领域,特别涉及一种医用熔喷无纺布检测分切机。背景技术:1)目前通过对加入驻极体的熔喷无纺布进行静电处理,可用于口罩,呼吸机等空气过滤产品。其原理主要是物理过滤大颗粒物质

本实用新型涉及一种分切机母卷上料装置。背景技术:目前薄膜生产线在薄膜输送过程中需要将薄膜从母卷上放置在分切机上,然后进行分切操作。传统的母卷需要人工搬运到分切机上,这样分切效率下降,而且人工搬运十分辛