
本实用新型涉及bopp生产设备技术领域,尤其是涉及一种bopp分切机除静电装置。
背景技术:
bopp薄膜是一种非常重要的软包装材料,无色、无嗅、无味、无毒,具有高拉伸强度、高冲击强度、刚性、强韧性和良好的透明性。由于其表面能低,经电晕处理后,具有良好的印刷适应性,可以套色印刷而得到精美的外观效果,因而常用作复合薄膜的面层材料。
由于bopp薄膜是极性的电绝缘材料,因而在其分切过程中,由于摩擦、剪切等作用产生的电荷无法传走,从而在膜体表面积累形成静电。现有bopp分切机中虽设有除静电装置,但由于其设置位置不合理,导致制卷后膜体表面的静电水平仍较高,从而影响成品膜后续的开卷、印刷等使用。
技术实现要素:
针对上述情况,为克服现有技术的缺陷,本实用新型提供一种bopp分切机除静电装置,解决了现有bopp分切机制卷后,膜间仍存在静电而影响成品膜使用的技术问题。
为实现上述目的,本实用新型提供如下技术方案:
bopp分切机除静电装置,包括:固定架,对称设置、固定于bopp分切机机床两侧;定向框,活动固定于固定架底部;离子风棒,活动固定于定向框中;除静电毛刷,活动固定于定向框中;其中,定向框套装于bopp分切机导向辊外侧,以固定架底部连线为中轴转动;离子风棒和除静电毛刷均平行于导向辊辊轴,除静电毛刷底部刷毛与导向辊外壁相接触。
通过固定架在现有bopp分切机制卷前最末端的导向辊处增设除静电装置,以辅助bopp分切机内原有除静电装置,显著降低成卷前bopp膜体表面静电水平。固定架底部连接有可转动的、套装于导向辊外侧的定向框,增设的除静电装置活动固定于该定向框中。定向框可根据导向辊出膜方向调整角度,从而使增设的除静电装置充分作用于bopp膜体。
进一步地,固定架包括至少两根由可固定的铰接结构连接的杆体。通过可固定的铰接结构改变并保持固定架的构型,使其适用于多种bopp分切机机床、且为定向框提供适合的转动位点。
进一步地,定向框包括:转动杆,对称设置于导向辊两端外侧、与固定架底部通过可固定的铰接结构连接;调节杆,两端通过可固定滑动结构与转动杆连接;其中,调节杆沿转动杆间滑动,控制两调节杆的间距;转动杆以固定架底部连线为轴线,带动调节杆旋转。
进一步地,离子风棒固定于调节杆处。离子风棒可跟随调节杆沿转动杆滑动,以便根据导向辊工作情况调整至合适工作位点。
进一步地,除静电毛刷两端通过可固定滑动结构与转动杆连接。除静电毛刷可沿转动杆滑动,以便根据导向辊外径进行调整,使其刷毛与导向辊外壁接触。
进一步地,离子风棒和除静电毛刷的长度不小于导向辊的长度。保证离子风棒和除静电毛刷充分作用于整个bopp膜体,达到去除静电的效果。
进一步地,转动杆外壁处标有刻度。便于调节杆和除静电毛刷的位置调整,并使上述两者始终保持与辊轴的平行关系。
本实用新型通过固定架在现有bopp分切机制卷前最末端的导向辊处增设除静电装置,以辅助bopp分切机内原有除静电装置,显著降低成卷前bopp膜体表面静电水平。固定架底部连接有可转动的、套装于导向辊外侧的定向框,增设的除静电装置活动固定于该定向框中。定向框可根据导向辊出膜方向调整角度,从而使增设的除静电装置充分作用于bopp膜体。
附图说明
为了更清楚地说明本申请实施例技术方案,下面将对实施例描述中所需要使用的附图作简单地介绍,显而易见地,下面描述中的附图仅仅是本申请的一些实施例,对于本领域普通技术人员来讲,在不付出创造性劳动的前提下,还可以根据这些附图获得其他的附图。
图1为本实用新型申请一实施例中的应用结构示意图。
图2为本实用新型申请一实施例中固定架的结构示意图。
图3为本实用新型申请一实施例中定向框处的结构示意图。
图4为本实用新型申请一实施例中除静电毛刷与转动杆的连接结构示意图。
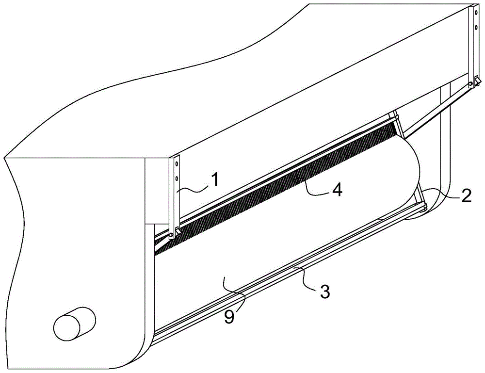
附图标记:1.固定架,2.定向框,21.转动杆,22.调节杆,3.离子风棒,4.除静电毛刷,9.bopp分切机最末端导向辊。
具体实施方式
在下文中,仅简单地描述了某些示例性实施例。正如本领域技术人员可认识到的那样,在不脱离本实用新型申请实施例的精神或范围的情况下,可通过各种不同方式修改所描述的实施例。因此,附图和描述被认为本质上是示例性的而非限制性的。
在本实用新型申请实施例的描述中,需要理解的是,术语“长度”、“上”、“下”、“左”、“右”、“顶”、“底”、“内”、“外”等指示的方位或位置关系为基于附图所示的方位或位置关系,仅是为了便于描述本实用新型申请实施例和简化描述,而不是指示或暗示所指的装置或元件必须具有特定的方位、以特定的方位构造和操作,因此不能理解为对本实用新型申请实施例的限制。
在本实用新型申请实施例中,除非另有明确的规定和限定,术语“安装”、“相连”、“连接”、“固定”等术语应做广义理解,例如,可以是固定连接,也可以是可拆卸连接,或成一体;可以是机械连接,也可以是电连接,还可以是通信;可以是直接相连,也可以通过中间媒介间接相连,可以是两个元件内部的连通或两个元件的相互作用关系。对于本领域的普通技术人员而言,可以根据具体情况理解上述术语在本实用新型申请实施例中的具体含义。
在本实用新型申请实施例中,除非另有明确的规定和限定,第一特征在第二特征之“上”或之“下”可以包括第一和第二特征直接接触,也可以包括第一和第二特征不是直接接触而是通过它们之间的另外的特征接触。而且,第一特征在第二特征“之上”、“上方”和“上面”包括第一特征在第二特征正上方和斜上方,或仅仅表示第一特征水平高度高于第二特征。第一特征在第二特征“之下”、“下方”和“下面”包括第一特征在第二特征正上方和斜上方,或仅仅表示第一特征水平高度小于第二特征。
下文的公开提供了许多不同的实施方式或例子用来实现本实用新型申请实施例的不同结构。为了简化本实用新型申请实施例的公开,下文中对特定例子的部件和设置进行描述。当然,它们仅仅为示例,并且目的不在于限制本实用新型申请实施例。此外,本实用新型申请实施例可以在不同例子中重复参考数字和/或参考字母,这种重复是为了简化和清楚的目的,其本身不指示所讨论各种实施方式和/或设置之间的关系。
下面结合附图对本实用新型的实施例进行详细说明。
实施例
如图1所示,本实用新型申请实施例提供了一种bopp分切机除静电装置,其包括:固定架1、定向框2、离子风棒3和除静电毛刷4。其中,定向框2套装于bopp分切机导向辊9外侧,以固定架1底部连线为中轴转动;离子风棒3和除静电毛刷4均平行于导向辊9的辊轴,除静电毛刷4底部刷毛与导向辊9外壁相接触。
如图2所示,本实施例中,固定架1由2根通过可固定的铰接结构(如采用螺栓作为铰接轴,通过螺母紧固固定)连接的杆体构成,顶部杆体固定于bopp分切机末端导向辊9所处机床顶壁处,底部杆体设置于导向辊两侧、且其底部与导向辊辊轴相接近。
如图3所示,本实施例中,定向框2的转动杆21通过可固定的铰接结构5活动固定于固定架1底部杆体的底部,使定向框2的调节杆22平行悬设于导向辊9的外侧。调节杆22内侧固定有离子风棒3。
根据导向辊9对bopp膜的导向,通过转动杆21的旋转调整调节杆22的位置;根据导向辊9的外径,通过可固定的滑动结构(如带有紧固螺钉的套筒),调整调节杆22带动离子风棒3至与导向辊9保持合适的距离。
如图4所示,除静电毛刷4两端通过可固定的滑动结构与转动杆21连接,以便根据导向辊9的外径调整其位置,使除静电毛刷4底部刷毛与导向辊9外壁接触,即在制卷过程中,与bopp膜体直接接触。
调节杆22和除静电毛刷4的调整均需于两端进行,可参照转动杆21处的刻度进行,以便使调节后的调节杆22和除静电毛刷4,仍能与导向辊9保持平行。
技术特征:
1.bopp分切机除静电装置,其特征在于,包括:
固定架,对称设置、固定于bopp分切机机床两侧;
定向框,活动固定于固定架底部;
离子风棒,活动固定于定向框中;
除静电毛刷,活动固定于定向框中;
其中,定向框套装于bopp分切机导向辊外侧,以固定架底部连线为中轴转动;离子风棒和除静电毛刷均平行于导向辊辊轴,除静电毛刷底部刷毛与导向辊外壁相接触。
2.根据权利要求1所述的除静电装置,其特征在于,固定架包括至少两根由可固定的铰接结构连接的杆体。
3.根据权利要求1所述的除静电装置,其特征在于,定向框包括:
转动杆,对称设置于导向辊两端外侧、与固定架底部通过可固定的铰接结构连接;
调节杆,两端通过可固定滑动结构与转动杆连接;
其中,调节杆沿转动杆间滑动,控制两调节杆的间距;转动杆以固定架底部连线为轴线,带动调节杆旋转。
4.根据权利要求3所述的除静电装置,其特征在于,离子风棒固定于调节杆处。
5.根据权利要求3所述的除静电装置,其特征在于,除静电毛刷两端通过可固定滑动结构与转动杆连接。
6.根据权利要求1所述的除静电装置,其特征在于,离子风棒和除静电毛刷的长度不小于导向辊的长度。
7.根据权利要求1所述的除静电装置,其特征在于,转动杆外壁处标有刻度。
技术总结
本实用新型提供了一种BOPP分切机除静电装置,目的是解决现有BOPP分切机制卷后,膜间仍存在静电而影响成品膜使用的技术问题。该除静电装置包括固定架、定向框、离子风棒和除静电毛刷。固定架定位定向框,离子风棒和除静电毛刷均平行于导向辊辊轴,除静电毛刷底部刷毛与导向辊外壁相接触。本实用新型通过固定架在现有BOPP分切机制卷前最末端的导向辊处增设除静电装置,辅助BOPP分切机内原有除静电装置,显著降低成卷前BOPP膜体表面静电水平。固定架底部连接有可转动的、套装于导向辊外侧的定向框,增设的除静电装置活动固定于该定向框中。定向框可根据导向辊出膜方向调整角度,从而使增设的除静电装置充分作用于BOPP膜体。
技术研发人员:易强;邓从军;方斌;谢伟
受保护的技术使用者:红塔塑胶(成都)有限公司
技术研发日:2019.08.29
技术公布日:2020.06.19