
1.本实用新型涉及一种传输机构,具体是一种纸管分切机的传输机构。
背景技术:
2.纸管分切机是纸管加工过程中的常用设备,其通过将纸管固定于定位辊之上,利用切割刀片对其进行分切。随着社会时代的快速发展,纸管分切机的发展也跟着日新月异,在纸管分切机的工作过程中,其传输装置是非常重要的一部分,传输装置影响着纸管分切机的工作效率,现有技术中的纸管分切机,纸管在传输过程采用纸管两端固定的方式,其加工效率低。在纸管传输过程中难以对齐,导致进入分切机时需要装置将纸管对齐,增加成本。因此,本实用新型提供了一种纸管分切机的传输机构,以解决上述背景技术中提出的问题。
技术实现要素:
3.本实用新型的目的在于提供一种纸管分切机的传输机构,以解决上述背景技术中提出的问题。
4.为实现上述目的,本实用新型提供如下技术方案:
5.一种纸管分切机的传输机构,包括传输车床、支撑腿、侧挡板、螺纹传输辊和传输分拨器,所述传输车床下表面对称安装有支撑腿,传输车床上表面左右对称安装侧挡板,侧挡板之间贯穿有若干个转动轴,转动轴上安装螺纹传输辊;
6.转动轴的右端安装有传动齿轮,传动齿轮上套有传动链,传输车床的一侧安装支撑板,支撑板上设有伺服电机,伺服电机与一个转动轴驱动连接。
7.作为本实用新型进一步的方案,所述传输分拨器安装于侧挡板上,传输分拨器由中转轴、十字支撑架、转动杆、分拨筒、卡合槽、支撑座、从动齿轮、拨动轴、驱动齿轮和传动盘组成。
8.作为本实用新型再进一步的方案,所述中转轴贯穿侧挡板,且中转轴与侧挡板转动连接。
9.作为本实用新型再进一步的方案,所述中转轴上安装有若干个十字支撑架,十字支撑架的前端贯穿有转动杆,转动杆上套有分拨筒。
10.作为本实用新型再进一步的方案,所述驱动齿轮固定安装于转动轴的一端,支撑座固定安装于侧挡板上。
11.作为本实用新型再进一步的方案,所述支撑座内转动安装从动齿轮,从动齿轮与驱动齿轮啮合。
12.作为本实用新型再进一步的方案,所述从动齿轮上安装有拨动轴,转动杆的一端安装有传动盘,传动盘开设有四个卡合槽。
13.与现有技术相比,本实用新型的有益效果是:
14.1、本实用新型通过螺纹传输辊传输纸筒,既起到传输的作用又可以使纸管对齐,
减少分切机的工作结构和时间成本,提高分切效率。
15.2、本实用新型设有分拨装置,在传输过程中,根据传输速度,等比将纸管逐个分拨至分切机内,提高分切秩序,进一步提高分切效率。
附图说明
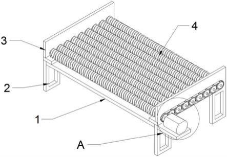
16.图1为本实用新型的结构示意图。
17.图2为本实用新型中图1的a处放大图。
18.图3为本实用新型中传输分拨器与侧挡板位置关系图。
19.图4为本实用新型中传输分拨器的结构示意图。
20.图5为本实用新型中图4的b处放大图。
21.图中:1、传输车床;2、支撑腿;3、侧挡板;4、螺纹传输辊;5、支撑板;6、伺服电机;7、传动齿轮;8、转动轴;9、传动链;10、传输分拨器;11、中转轴;12、十字支撑架;13、转动杆;14、分拨筒;15、卡合槽;16、支撑座;17、从动齿轮;18、拨动轴;19、驱动齿轮;20、传动盘。
具体实施方式
22.下面将结合本实用新型实施例中的附图,对本实用新型实施例中的技术方案进行清楚、完整地描述,显然,所描述的实施例仅仅是本实用新型一部分实施例,而不是全部的实施例。基于本实用新型中的实施例,本领域普通技术人员在没有做出创造性劳动前提下所获得的所有其他实施例,都属于本实用新型保护的范围。
23.实施例一
24.请参阅图1~2,本实用新型实施例中,一种纸管分切机的传输机构,包括传输车床1、支撑腿2、侧挡板3和螺纹传输辊4,所述传输车床1下表面对称安装有支撑腿2,支撑腿2下端可以安装滑动轮,便于传输车床1的移动,传输车床1上表面左右对称安装侧挡板3,侧挡板3之间贯穿有若干个转动轴8,转动轴8上安装螺纹传输辊4,转动轴8转动时,螺纹传输辊4同步转动,当纸管位于螺纹传输辊4上时,螺纹传输辊4带动纸管移动,同时根据螺纹方向将纸管向一侧传输,使纸管在传输过程中向一侧对齐;
25.转动轴8的右端安装有传动齿轮7,传动齿轮7上套有传动链9,传输车床1的一侧安装支撑板5,支撑板5上设有伺服电机6,伺服电机6与一个转动轴8驱动连接,通过伺服电机6的转动,控制其中一个转动轴8转动,再通过传动链9带动其他转动轴8转动,进而使所有螺纹传输辊4向同一方向同步转动,实现对纸管的传输。
26.实施例二
27.请参阅图3~5,本实用新型实施例中,一种纸管分切机的传输机构,包括传输分拨器10,所述传输分拨器10由中转轴11、十字支撑架12、转动杆13、分拨筒14、卡合槽15、支撑座16、从动齿轮17、拨动轴18、驱动齿轮19和传动盘20组成,所述中转轴11贯穿侧挡板3,且中转轴11与侧挡板3转动连接,中转轴11上安装有若干个十字支撑架12,十字支撑架12的前端贯穿有转动杆13,转动杆13上套有分拨筒14,在中转轴11转动过程中,通过十字支撑架12和转动杆13带动分拨筒14转动,螺纹传输辊4上的纸管依次单个拨出,进入分切机;
28.驱动齿轮19固定安装于转动轴8的一端,支撑座16固定安装于侧挡板3上,支撑座16内转动安装从动齿轮17,从动齿轮17与驱动齿轮19啮合,从动齿轮17上安装有拨动轴18,
转动杆13的一端安装有传动盘20,传动盘20开设有四个卡合槽15,从动齿轮17转动一周,拨动轴18经过传动盘20时与卡合槽15卡合,带动传动盘20转动九十度,传动盘20带动转动杆13转动九十度,完成一次纸管的传输分拨。
29.以上所述,仅为本实用新型较佳的具体实施方式,但本实用新型的保护范围并不局限于此,任何熟悉本技术领域的技术人员在本实用新型揭露的技术范围内,根据本实用新型的技术方案及其实用新型构思加以等同替换或改变,都应涵盖在本实用新型的保护范围之内。
技术特征:
1.一种纸管分切机的传输机构,包括传输车床(1)、支撑腿(2)、侧挡板(3)、螺纹传输辊(4)和传输分拨器(10),其特征在于,所述传输车床(1)下表面对称安装有支撑腿(2),传输车床(1)上表面左右对称安装侧挡板(3),侧挡板(3)之间贯穿有若干个转动轴(8),转动轴(8)上安装螺纹传输辊(4);转动轴(8)的右端安装有传动齿轮(7),传动齿轮(7)上套有传动链(9),传输车床(1)的一侧安装支撑板(5),支撑板(5)上设有伺服电机(6),伺服电机(6)与一个转动轴(8)驱动连接。2.根据权利要求1所述的一种纸管分切机的传输机构,其特征在于,所述传输分拨器(10)安装于侧挡板(3)上,传输分拨器(10)由中转轴(11)、十字支撑架(12)、转动杆(13)、分拨筒(14)、卡合槽(15)、支撑座(16)、从动齿轮(17)、拨动轴(18)、驱动齿轮(19)和传动盘(20)组成。3.根据权利要求2所述的一种纸管分切机的传输机构,其特征在于,所述中转轴(11)贯穿侧挡板(3),且中转轴(11)与侧挡板(3)转动连接。4.根据权利要求2所述的一种纸管分切机的传输机构,其特征在于,所述中转轴(11)上安装有若干个十字支撑架(12),十字支撑架(12)的前端贯穿有转动杆(13),转动杆(13)上套有分拨筒(14)。5.根据权利要求2所述的一种纸管分切机的传输机构,其特征在于,所述驱动齿轮(19)固定安装于转动轴(8)的一端,支撑座(16)固定安装于侧挡板(3)上。6.根据权利要求2所述的一种纸管分切机的传输机构,其特征在于,所述支撑座(16)内转动安装从动齿轮(17),从动齿轮(17)与驱动齿轮(19)啮合。7.根据权利要求2所述的一种纸管分切机的传输机构,其特征在于,所述从动齿轮(17)上安装有拨动轴(18),转动杆(13)的一端安装有传动盘(20),传动盘(20)开设有四个卡合槽(15)。
技术总结
本实用新型公开了一种纸管分切机的传输机构,包括传输车床、支撑腿、侧挡板、螺纹传输辊和传输分拨器,所述传输车床下表面对称安装有支撑腿,传输车床上表面左右对称安装侧挡板,侧挡板之间贯穿有若干个转动轴,转动轴上安装螺纹传输辊,转动轴的右端安装有传动齿轮,传动齿轮上套有传动链,传输车床的一侧安装支撑板,支撑板上设有伺服电机,伺服电机与一个转动轴驱动连接。本实用新型通过螺纹传输辊传输纸筒,既起到传输的作用又可以使纸管对齐,减少分切机的工作结构和时间成本,提高分切效率,本实用新型设有分拨装置,在传输过程中,根据传输速度,等比将纸管逐个分拨至分切机内,提高分切秩序,进一步提高分切效率。进一步提高分切效率。进一步提高分切效率。
技术研发人员:高怡晟
受保护的技术使用者:杭州金毅纸业有限公司
技术研发日:2021.09.27
技术公布日:2022/2/7

一台优秀的冲孔机已不再是简单的“打孔”工具,其真正的竞争力,正牢牢根植于三大核心技术的完美融合:极限的速度、微米的精度与磐石般的稳定性。

纸管冲孔机的出现,彻底颠覆了传统的加工模式,以其“一键实现高效精准冲孔”的卓越性能,正成为行业升级换代的核心利器。

一场由全自动纸管冲孔机引领的“效率与精度”革命,正悄然改变着这一局面,成为驱动现代制造业高速发展的隐形引擎。