服务热线
180-5003-0233
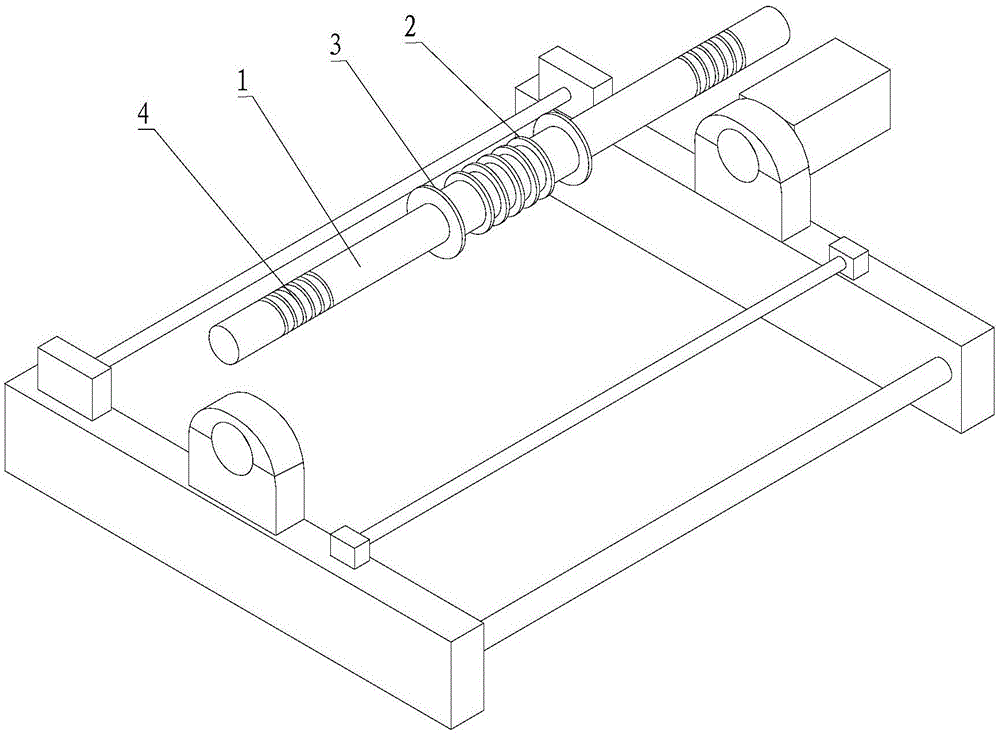
一种分切机刀具的制作方法为了克服上述现有技术的缺陷,本实用新型所要解决的技术问题是提供一种能够对刀片之间的间距进行调节的分切机刀具。...
一种用于玻璃纤维毡的纵向分切机的制作方法为了提高分切机的适用性,本申请提供一种用于玻璃纤维毡的纵向分切机。...
高效自动化生产的全自动分条机全自动分条机作为现代工业生产中的重要设备,以其高度的自动化和高效的生产能力,在多个行业领域中得到了广泛应用。...
电化铝分切机有哪些技术参数电化铝分切机是一种专门用于切割电化铝材料的机器设备,其技术参数可能因不同型号和制造商而有所差异。...
分切机高速运转的特点及其优势分切机以其高速运转的特点,显著提高了生产效率并缩短了物料处理周期。...
分切机厂家根据客户的具体需求提供定制化服务分切机厂家通过提供定制化服务,根据客户的具体需求,设计和制造专属的分切解决方案。...
一种自动上下料的切纸管机切割完成后,设备会自动将成品纸管送出,并准备下一次切割。...
全自动切纸管机全自动切纸管机是切纸管的专用设备,也可以针对相对规格的PE管、PVC软管等进行切割。...
切纸管机操作规程巡视设备的工况。确保设备无污损,设备周围无杂物。...
介绍一下不干胶分切机的使用方法不干胶分切机主要用于将整卷的不干胶材料按照设定的长度和宽度进行精确切割。...
分切机在哪些行业应用广泛分切机以其高精度、高效率、多功能适应性等特点,在多个行业中都有着广泛的应用。...
分切机厂家在研发和制造上持续创新专注于分切机的专注研发与制造,致力于为薄膜、纸张及其他软性材料加工行业提供快速、准确的切割解决方案。...
复卷机和分切机之间的区别是什么复卷机和分切机在定义与功能、使用场景与制品规格以及结构与特点等方面都存在明显的区别。...
分切机一般用在哪些行业能够满足不同行业的生产需求,提高生产效率,降低生产成本,从而为企业创造更大的经济效益。...
分条复卷机适用于哪些行业分条复卷机在造纸、包装、印刷、塑料加工、纺织品制造以及建筑板材等多个行业中都有着广泛的应用。...