服务热线
180-5003-0233

本技术涉及分切机,特别涉及一种可快速除尘的热敏合成纸分切机。
背景技术:
1、热敏合成纸分切机是一种专门用于将热敏合成纸进行切割和分切的设备,热敏合成纸是一种特殊的纸张材料,其表面涂有热敏感的化学物质,可以在受热后产生图像或文字,在制造热敏纸张产品时,常常需要将大卷热敏合成纸切割成所需的小卷大小,以供后续加工和使用。
2、由于热敏合成纸在切割过程中容易产生大量的纸屑,这些纸屑会附着在分切机的刀具、分切区域和热敏合成纸上,导致清理工作困难,且纸屑的堆积会导致分切机的工作效率下降,甚至影响切割准确性和稳定性,同时纸屑的粘性和细小特性使得清理收集回收的过程繁琐,耗费时间和人力资源。
技术实现思路
1、本实用新型的目的在于至少解决现有技术中存在的技术问题之一,提供一种可快速除尘的热敏合成纸分切机,通过固定盒、挡板、连接杆、辊轧刷、扭簧实现对热敏合成纸上面的纸屑和灰尘进行快速全面清理,避免灰尘和纸屑造成纸屑产品质量的下降和对机器的损坏,同时通过收集箱、吸尘管、吸尘喇叭、风机可以对清理的纸屑和灰尘进行快速收集,便于后续集中回收,提高纸屑的重复利用率。
2、本实用新型还提供具有上述一种可快速除尘的热敏合成纸分切机,包括:
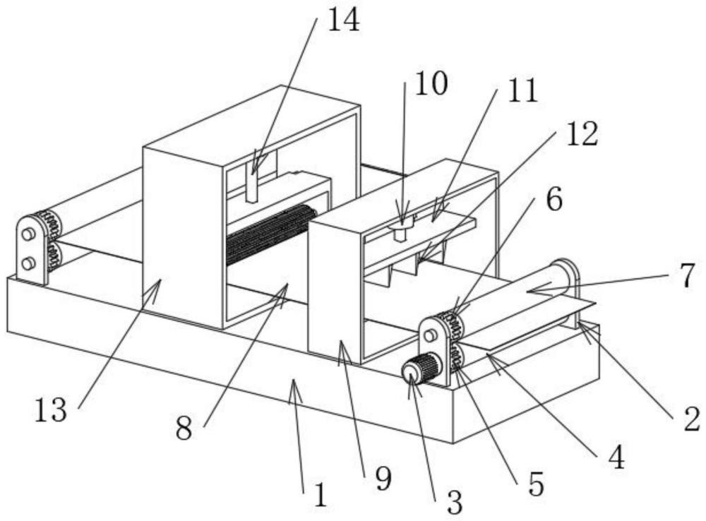
3、底座,所述底座的上表面固定连接有固定座,所述固定座的前表面固定连接有电机,所述电机的输出端有第一辊轧,所述第一辊轧的外表面固定连接有第一齿轮,所述固定座的内表面转动连接有第二辊轧,所述第二辊轧的外表面固定连接第二齿轮,所述第一辊轧的外表面滑动连接有热敏合成纸,所述底座的上表面固定连接有第一连接座,所述第一连接座的顶内壁固定连接有第一电推杆,所述第一电推杆的下端固定连接有连接板,所述连接板的下表面固定连接有切割刀片.
4、所述底座的上表面固定连接有第二连接座,所述第二连接座的顶内壁固定连接有第二电推杆,所述第二电推杆的下表面固定连接有固定盒,所述第二连接座的后表面固定连接有收集箱,所述收集箱的左表面固定连接有风机,所述风机的输出端固定连接有吸尘管,所述吸尘管的外表面滑动连接有挡板,所述挡板的侧表面设置有孔洞,所述孔洞的内表面固定连接有连接杆,所述热敏合成纸的上表面转动连接有辊轧刷,所述吸尘管远离收集箱的一端固定连接有吸尘喇叭,所述连接杆的一端固定连接有扭簧。
5、根据所述的一种可快速除尘的热敏合成纸分切机,所述扭簧的外表面与固定盒固定连接,所述热敏合成纸的上表面与挡板相接触,便于挡板适应不同厚度的热敏合成纸且与热敏合成纸进行完全贴合。
6、根据所述的一种可快速除尘的热敏合成纸分切机,所述辊轧刷的外表面与固定盒转动连接,所述辊轧刷与吸尘喇叭相对应,用于快速清理纸张上的纸屑与灰尘。
7、根据所述的一种可快速除尘的热敏合成纸分切机,所述第一齿轮的外表面与第二齿轮相啮合,所述第一辊轧的外表面与固定座转动连接。
8、根据所述的一种可快速除尘的热敏合成纸分切机,所述第一辊轧的数量为两个且左右分布,所述第二辊轧的数量为两个且左右分布,便于对热敏合成纸进行传输移动。
9、根据所述的一种可快速除尘的热敏合成纸分切机,所述底座的后表面与收集箱固定连接,所述收集箱的后表面设置有箱门,便于对清理后的纸屑与灰尘进行回收。
10、根据所述的一种可快速除尘的热敏合成纸分切机,所述风机的输入端伸入收集箱的内部,所述固定盒外表面与挡板转动连接,便于挡板的翻转。
11、根据所述的一种可快速除尘的热敏合成纸分切机,所述电机、第一电推杆、第二电推杆、风机均与外部电源电性连接。
12、本实用新型的附加方面和优点将在下面的描述中部分给出,部分将从下面的描述中变得明显,或通过本实用新型的实践了解到。
技术特征:
1.一种可快速除尘的热敏合成纸分切机,其特征在于,包括:底座(1),所述底座(1)的上表面固定连接有固定座(2),所述固定座(2)的前表面固定连接有电机(3),所述电机(3)的输出端有第一辊轧(4),所述第一辊轧(4)的外表面固定连接有第一齿轮(5),所述固定座(2)的内表面转动连接有第二辊轧(7),所述第二辊轧(7)的外表面固定连接第二齿轮(6),所述第一辊轧(4)的外表面滑动连接有热敏合成纸(8),所述底座(1)的上表面固定连接有第一连接座(9),所述第一连接座(9)的顶内壁固定连接有第一电推杆(10),所述第一电推杆(10)的下端固定连接有连接板(11),所述连接板(11)的下表面固定连接有切割刀片(12);
2.根据权利要求1所述的一种可快速除尘的热敏合成纸分切机,其特征在于,所述扭簧(22)的外表面与固定盒(15)固定连接,所述热敏合成纸(8)的上表面与挡板(18)相接触。
3.根据权利要求1所述的一种可快速除尘的热敏合成纸分切机,其特征在于,所述辊轧刷(20)的外表面与固定盒(15)转动连接,所述辊轧刷(20)与吸尘喇叭(21)相对应。
4.根据权利要求1所述的一种可快速除尘的热敏合成纸分切机,其特征在于,所述第一齿轮(5)的外表面与第二齿轮(6)相啮合,所述第一辊轧(4)的外表面与固定座(2)转动连接。
5.根据权利要求1所述的一种可快速除尘的热敏合成纸分切机,其特征在于,所述第一辊轧(4)的数量为两个且左右分布,所述第二辊轧(7)的数量为两个且左右分布。
6.根据权利要求1所述的一种可快速除尘的热敏合成纸分切机,其特征在于,所述底座(1)的后表面与收集箱(16)固定连接,所述收集箱(16)的后表面设置有箱门。
7.根据权利要求1所述的一种可快速除尘的热敏合成纸分切机,其特征在于,所述风机(24)的输入端伸入收集箱(16)的内部,所述固定盒(15)外表面与挡板(18)转动连接。
8.根据权利要求1所述的一种可快速除尘的热敏合成纸分切机,其特征在于,所述电机(3)、第一电推杆(10)、第二电推杆(14)、风机(24)均与外部电源电性连接。
技术总结
本技术公开了一种可快速除尘的热敏合成纸分切机,包括底座,所述底座的上表面固定连接有固定座,所述固定座的前表面固定连接有电机,所述电机的输出端有第一辊轧,所述第一辊轧的外表面固定连接有第一齿轮,所述固定座的内表面转动连接有第二辊轧,所述第二辊轧的外表面固定连接第二齿轮,所述第一辊轧的外表面滑动连接有热敏合成纸,所述底座的上表面固定连接有第一连接座。通过固定盒、挡板、连接杆、辊轧刷、扭簧实现对热敏合成纸上面的纸屑和灰尘进行快速全面清理,避免灰尘和纸屑造成纸屑产品质量的下降和对机器的损坏,同时收集箱、吸尘管、吸尘喇叭、风机可以对清理的纸屑和灰尘进行快速收集,便于后续集中回收,提高纸屑的利用率。
技术研发人员:程春霞
受保护的技术使用者:重庆银灵新材料有限公司
技术研发日:20231212
技术公布日:2024/7/18