服务热线
180-5003-0233

本实用新型涉及塑料分切设备的技术领域,尤其是涉及一种便于下料的分切机。
背景技术:
目前在进行塑料膜的生产的过程中,需要使用分切机将成张的塑料膜切割为包装需要的合适尺寸,并卷成卷进行搬运和运输,分切机在目前的工业化生产中已经成为塑料膜生产过程中必不可少的加工步骤。
现有技术可参考授权公告号为cn202498591u的中国实用新型专利,其公开了一种塑料薄膜分切机,包括一机架,在机架上设置一用于放置塑料薄膜的切割垫板及至少一组放置于切割垫板的上方的热切刀具,热切刀具的一端固定于转轴横杆上,转轴横杆通过一驱动机构驱动该转轴横杆带动热切刀具远离或接触塑料薄膜。
上述中的现有技术方案存在以下缺陷:目前的分切机在分切塑料膜之后均需要将塑料膜卷成卷并进行下料,达目前的下料过程大多需要操作人员手工进行塑料膜卷的搬运,效率较低并且费时费力,缺少一种能够高效下料的分切机。
技术实现要素:
本实用新型的目的是提供一种便于下料的分切机,具有将从分切机下料的塑料膜卷成卷并高效的进行运输的效果。
本实用新型的上述技术目的是通过以下技术方案得以实现的:
一种便于下料的分切机,包括分切机本体,分切机本体一端开设有出料口,分切机本体靠近出料口的一侧设置有支架,支架靠近出料口的位置处转动连接有沿出料口的长度方向设置的分切轴,支架靠近分切轴一端的位置处固定连接有分切电机,分切轴固定连接于分切电机的输出轴上;支架对应分切轴远离分切电机的一端位置处滑动连接有下料架,下料架能够在垂直于分切轴的长度方向的方向上水平滑动,分切轴远离分切电机的一端能够卡接于下料架上,支架靠近下料架的位置处设置有收纳架,收纳架底部固定连接有多个万向轮,收纳架上设置有用于存放塑料膜卷的收纳机构。
通过采用上述方案,在进行下料的时候,启动分切电机将出料口切割完成的塑料膜卷成卷,其后,将收纳架靠近支架,并将分切轴从下料架上取下,此时能将成卷的塑料膜滑出分切轴,其后,可将塑料膜放在收纳机构上,推动收纳架实现对塑料膜的运输。
本实用新型进一步设置为:收纳机构包括固定连接于收纳架对应分切轴高度位置处的收纳轴,收纳轴水平设置,分切轴远离分切电机的一端开设有沿分切轴的长度方向设置的收纳槽,收纳轴能够插接于收纳槽中。
通过采用上述方案,在需要下料的时候,将收纳轴插接于收纳槽中,此时收纳架和支架能够支撑分切轴,滑开下料架之后,可直接将塑料膜卷从分切轴滑动到收纳轴上,进行对塑料膜的运输,过程操作简单,可以减少操作人员的操作复杂程度。
本实用新型进一步设置为:收纳轴侧壁远离收纳架的一端开设有沿收纳轴的长度方向设置的限位槽,收纳轴对应限位槽远离收纳架的一端位置处固定连接有垂直于收纳槽的长度方向设置的限位轴,限位轴上转动连接有限位杆,限位杆能够收纳于限位槽中,限位杆能够转出限位槽。
通过采用上述方案,在将塑料膜卷滑动到收纳轴上之后,可将限位杆从限位槽中转出,此时,限位杆能够降低塑料膜卷从收纳轴上滑落的概率,实现对塑料膜卷的限位,从而提高进行塑料膜卷运输时候的稳定性。
本实用新型进一步设置为:限位轴上固定连接有扭簧,扭簧远离限位轴的一端固定连接于限位杆上,扭簧给限位杆施加向远离限位槽的方向旋转的力。
通过采用上述方案,扭簧的设置能够让限位杆在塑料膜卷通过限位杆所在位置的时候被塑料膜卷限制自动转动进入限位槽中,并在塑料膜卷通过后自动弹出,从而减少操作人员的操作步骤,自动对塑料膜卷进行限位。
本实用新型进一步设置为:支架靠近下料架底部的位置处开设有垂直于分切轴的长度方向并水平设置的燕尾槽,下料架底部靠近燕尾槽的位置处固定连接有沿燕尾槽的长度方向设置的燕尾块,燕尾块滑动连接于燕尾槽中。
通过采用上述方案,燕尾槽和燕尾块的设置能够有效限制下料架的滑动方向,从而保障下料架能够在需要支撑分切轴的时候能够高效被推动到指定位置,并在进行下料的时候能够高效滑开将低影响下料过程的概率。
本实用新型进一步设置为:下料架靠近分切轴的位置处开设有垂直于分切轴的长度方向并水平设置的下料槽,分切轴能够滑动连接于下料槽中。
通过采用上述方案,下料槽的设置能够对分切轴实现有效的支撑作用,在需要使用下料架对分切轴进行支撑的时候,将分切轴滑动至下料槽中,便可以在竖直方向上支撑分切轴,并不影响分切轴的转动。
本实用新型进一步设置为:下料架对应下料槽远离下料架一端的位置处开设有竖直设置的卡接槽,卡接槽中滑动连接有竖直设置的卡接杆,卡接杆远离下料槽的一端固定连接有竖直设置的卡接手柄,卡接手柄伸出下料架设置。
通过采用上述方案,在使用下料架对分切轴进行支撑的时候,将卡接杆向下滑动,可以挡住下料槽,从而降低分切轴从下料槽中滑出的情况发生的概率。
本实用新型进一步设置为:卡接杆底部固定连接有具有弹性的橡胶层。
通过采用上述方案,橡胶层的设置能够降低多次操作卡接杆的过程卡接杆对下料架的损伤,橡胶层的弹性能够有效分散二者的相对作用力。
综上所述,本实用新型具有以下有益效果:
1.具有将从分切机下料的塑料膜卷成卷并高效的进行运输的效果;
2.能够方便的对运输过程中的塑料膜卷进行固定,降低塑料膜在运输过程中掉落的情况发生的概率。
附图说明
图1是本实施例的整体示意图;
图2是实施例中突出下料架结构的局部剖视图;
图3是图2中a部分的放大图;
图4是实施例中突出收纳架结构的局部剖视图;
图5是实施例中突出限位杆结构的局部剖视图;
图6是图5中b部分的放大图。
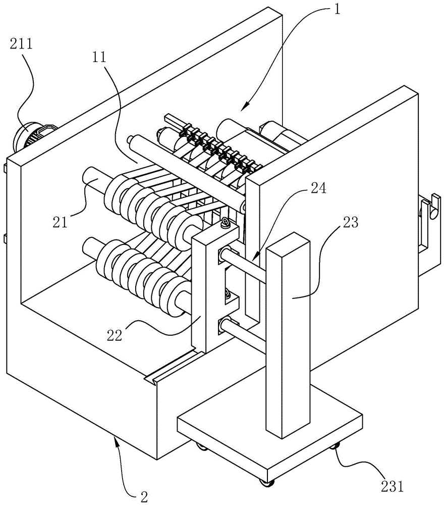
图中,1、分切机本体;11、出料口;2、出料支架;21、分切轴;211、分切电机;22、下料架;221、下料槽;222、卡接槽;223、卡接杆;224、卡接手柄;225、橡胶层;226、燕尾槽;227、燕尾块;23、收纳架;231、万向轮;24、收纳机构;241、收纳轴;242、收纳槽;243、限位槽;244、限位轴;245、限位杆;246、扭簧。
具体实施方式
实施例:一种便于下料的分切机,如图1和图2所示,包括分切机本体1,分切机本体1一端开设有出料口11。使用时,使用分切机本体1对塑料膜进行切割,切割后,将塑料膜从出料口11送出分切机本体1便可进行搬运。
如图1和图2所示,分切机本体1靠近出料口11的一侧设置有支架,支架靠近出料口11的位置处转动连接有两根沿出料口11的长度方向设置的分切轴21,两分切轴21沿竖直方向排列。支架靠近每根分切轴21一端的位置处均固定连接有分切电机211,分切轴21分别固定连接于对应分切电机211的输出轴上。使用时,将出料口11出料的塑料膜缠绕在分切轴21上,并启动分切电机211,分切电机211会带动分切轴21转动,逐渐将塑料膜缠绕在分切轴21上,最终缠绕成塑料膜卷,实现对塑料膜的出料操作。
如图2和图3所示,支架对应分切轴21远离分切电机211的一端位置处滑动连接有下料架22,支架靠近下料架22底部的位置处开设有垂直于分切轴21的长度方向并水平设置的燕尾槽226,下料架22底部靠近燕尾槽226的位置处固定连接有沿燕尾槽226的长度方向设置的燕尾块227,燕尾块227滑动连接于燕尾槽226中。下料架22靠近每根分切轴21的位置处开设有垂直于分切轴21的长度方向并水平设置的下料槽221,分切轴21能够分别滑动连接于对应的下料槽221中。在下料的过程中,将下料架22沿燕尾槽226滑动到合适的位置处,让分切轴21能够分别滑动到下料槽221中,此时,下料架22能够对分切轴21实现支撑效果,降低分切轴21因为塑料膜不断增加而出现折弯情况的概率。
如图2和图3所示,下料架22对应每个下料槽221远离下料架22一端的上方位置处开设有竖直设置的卡接槽222,卡接槽222中均滑动连接有竖直设置的卡接杆223。卡接杆223远离下料槽221的一端固定连接有竖直设置的卡接手柄224,卡接手柄224伸出下料架22设置。在使用下料架22对分切轴21进行支撑的时候,滑动卡接杆223向下滑动,从而封闭下料槽221,保障分切轴21无法从下料槽221中滑出,降低操作人员误操作推开下料架22的情况发生的概率。
如图2和图3所示,卡接杆223底部固定连接有具有弹性的橡胶层225。橡胶层225的设置能够降低多次操作卡接杆223的过程卡接杆223对下料架22的损伤,橡胶层225的弹性能够有效分散二者的相对作用力。
如图3和图4所示,支架靠近下料架22的位置处设置有收纳架23,收纳架23底部固定连接有多个万向轮231,收纳架23上设置有用于存放塑料膜卷的收纳机构24。收纳机构24包括固定连接于收纳架23对应每根分切轴21高度位置处的收纳轴241,收纳轴241均水平设置,分切轴21远离分切电机211的一端均开设有沿分切轴21的长度方向设置的收纳槽242,收纳轴241均能够插接于对应的收纳槽242中。在需要下料的时候,滑动收纳架23到对应分切轴21的位置处,并将收纳轴241均插接于对应的收纳槽242中,此时,收纳轴241与分切轴21直接连接,滑开下料架22,便能够将卷在分切轴21上的塑料膜卷直接划到收纳轴241上,并推动收纳架23方便的对下料的塑料膜卷进行运输。
如图5和图6所示,收纳轴241侧壁远离收纳架23的一端开设有沿收纳轴241的长度方向设置的限位槽243,收纳轴241对应限位槽243远离收纳架23的一端位置处固定连接有垂直于收纳槽242的长度方向设置的限位轴244。限位轴244上转动连接有限位杆245,限位杆245能够收纳于限位槽243中,限位杆245能够转出限位槽243。限位轴244上固定连接有扭簧246,扭簧246远离限位轴244的一端固定连接于限位杆245上,扭簧246给限位杆245施加向远离限位槽243的方向旋转的力。在将塑料膜卷滑动到收纳架23上的时候限位杆245会被挤压收纳于限位槽243中,其后,限位杆245能够在塑料膜卷通过限位槽243后从限位槽243中被扭簧246的作用力带动弹出,挡住塑料膜卷,从而保障塑料膜卷在运输过程中不会从收纳轴241上掉落。
使用方式,在使用的时候,先滑动下料架22,将分切轴21滑动到下料槽221中,支撑分切轴21,并将出料的塑料膜缠绕在分切轴21上,此时,启动分切电机211,便能够带动分切轴21转动,带动塑料膜缠绕成塑料膜卷,出料完成后,滑动收纳架23到分切轴21旁边,并将收纳轴241插入到收纳槽242中,此时,可滑开下料架22,并将塑料膜卷滑动到收纳轴241上,当塑料膜卷滑动到收纳轴241上之后,限位杆245会在扭簧246的带动下转出限位槽243,实现对塑料膜卷的限位,此时推动收纳架23便能够实现对塑料膜卷的搬运操作。
本具体实施方式的实施例均为本实用新型的较佳实施例,并非依此限制本实用新型的保护范围,故:凡依本实用新型的结构、形状、原理所做的等效变化,均应涵盖于本实用新型的保护范围之内。
技术特征:
1.一种便于下料的分切机,包括分切机本体(1),分切机本体(1)一端开设有出料口(11),其特征在于:分切机本体(1)靠近出料口(11)的一侧设置有支架,支架靠近出料口(11)的位置处转动连接有沿出料口(11)的长度方向设置的分切轴(21),支架靠近分切轴(21)一端的位置处固定连接有分切电机(211),分切轴(21)固定连接于分切电机(211)的输出轴上;
支架对应分切轴(21)远离分切电机(211)的一端位置处滑动连接有下料架(22),下料架(22)能够在垂直于分切轴(21)的长度方向的方向上水平滑动,分切轴(21)远离分切电机(211)的一端能够卡接于下料架(22)上,支架靠近下料架(22)的位置处设置有收纳架(23),收纳架(23)底部固定连接有多个万向轮(231),收纳架(23)上设置有用于存放塑料膜卷的收纳机构(24)。
2.根据权利要求1所述的一种便于下料的分切机,其特征在于:收纳机构(24)包括固定连接于收纳架(23)对应分切轴(21)高度位置处的收纳轴(241),收纳轴(241)水平设置,分切轴(21)远离分切电机(211)的一端开设有沿分切轴(21)的长度方向设置的收纳槽(242),收纳轴(241)能够插接于收纳槽(242)中。
3.根据权利要求2所述的一种便于下料的分切机,其特征在于:收纳轴(241)侧壁远离收纳架(23)的一端开设有沿收纳轴(241)的长度方向设置的限位槽(243),收纳轴(241)对应限位槽(243)远离收纳架(23)的一端位置处固定连接有垂直于收纳槽(242)的长度方向设置的限位轴(244),限位轴(244)上转动连接有限位杆(245),限位杆(245)能够收纳于限位槽(243)中,限位杆(245)能够转出限位槽(243)。
4.根据权利要求3所述的一种便于下料的分切机,其特征在于:限位轴(244)上固定连接有扭簧(246),扭簧(246)远离限位轴(244)的一端固定连接于限位杆(245)上,扭簧(246)给限位杆(245)施加向远离限位槽(243)的方向旋转的力。
5.根据权利要求1所述的一种便于下料的分切机,其特征在于:支架靠近下料架(22)底部的位置处开设有垂直于分切轴(21)的长度方向并水平设置的燕尾槽(226),下料架(22)底部靠近燕尾槽(226)的位置处固定连接有沿燕尾槽(226)的长度方向设置的燕尾块(227),燕尾块(227)滑动连接于燕尾槽(226)中。
6.根据权利要求1所述的一种便于下料的分切机,其特征在于:下料架(22)靠近分切轴(21)的位置处开设有垂直于分切轴(21)的长度方向并水平设置的下料槽(221),分切轴(21)能够滑动连接于下料槽(221)中。
7.根据权利要求6所述的一种便于下料的分切机,其特征在于:下料架(22)对应下料槽(221)远离下料架(22)一端的位置处开设有竖直设置的卡接槽(222),卡接槽(222)中滑动连接有竖直设置的卡接杆(223),卡接杆(223)远离下料槽(221)的一端固定连接有竖直设置的卡接手柄(224),卡接手柄(224)伸出下料架(22)设置。
8.根据权利要求7所述的一种便于下料的分切机,其特征在于:卡接杆(223)底部固定连接有具有弹性的橡胶层(225)。
技术总结
本实用新型公开了一种便于下料的分切机,属于塑料分切设备的技术领域,其包括分切机本体,分切机本体一端开设有出料口,分切机本体靠近出料口的一侧设置有支架,支架靠近出料口的位置处转动连接有沿出料口的长度方向设置的分切轴,支架靠近分切轴一端的位置处固定连接有分切电机,分切轴固定连接于分切电机的输出轴上;支架对应分切轴远离分切电机的一端位置处滑动连接有下料架,分切轴远离分切电机的一端能够卡接于下料架上,支架靠近下料架的位置处设置有收纳架,收纳架底部固定连接有多个万向轮,收纳架上设置有用于存放塑料膜卷的收纳机构,本实用新型具有将从分切机下料的塑料膜卷成卷并高效的进行运输的效果。
技术研发人员:张红;苏宝俊
受保护的技术使用者:青岛金富达塑料印刷有限公司
技术研发日:2019.11.12
技术公布日:2020.08.18