行业新闻

当前位置:首页/新闻中心/行业新闻

一种盘纸分切机的分切机构的制作方法

2024年09月03日国知局浏览量:0

一种盘纸分切机的分切机构的制作方法

【技术领域】

[0001]本实用新型涉及一种盘纸分切机的分切机构,应用于盘纸的生产加工领域。

【背景技术】

[0002]在盘纸的生产加工过程中,需要将一整张纸分切成宽度均匀的条状纸,然后再将条状纸收卷到卷轴上即得到一卷盘纸,目前,主要采用盘纸分切机进行分切,但是现有的盘纸分切机的分切机构结构简单,主要由一个刀架以及多个切刀构成,但是,不仅刀架是焊接在分切机上的,而且切刀也是依次均匀的焊接在刀架上的,由于相邻两个切刀之间的距离即为所要加工出的条形纸的宽度,因此若需要分切出不同宽度的条形纸时,则需要重新更换分切机,因此比较麻烦,而且增加成本。

【实用新型内容】

[0003]为解决现有技术方案的缺陷,本实用新型公开了一种使用方便、节省成本的盘纸分切机的分切机构。

[0004]本实用新型公开了一种盘纸分切机的分切机构,包括:机架、液压油缸、压板、光滑杆、滑套、压紧螺栓、支架、转轴、刀盘、传动辊,所述的机架的左右两侧分别水平固设一个液压油缸,且左右两个液压油缸左右对称,且每一个液压油缸的伸缩轴的端部均焊接一个压板,所述的光滑杆与左右两个液压油缸的伸缩轴在同一条直线上,且光滑杆被水平压紧在左右两个压板之间,所述的光滑杆上从左到右均匀套有多个滑套,所述的滑套通过滑动连接的方式与光滑杆连接,且每一个滑套上通过螺纹连接的方式均安装一个压紧螺栓,且压紧螺栓的螺杆穿过滑套与光滑杆的圆周面相接触,所述的滑套上竖直焊接一个支架,所述的支架的下端通过轴承水平安装一个转轴,所述的转轴上固设一个刀盘,所述的机架上通过轴承水平安装一个传动辊,所述的传动辊在光滑杆的正下方,且传动辊的圆周面与刀盘相接触。

[0005]由于采用上述技术方案,本实用新型具有以下有益优点:

[0006]1、使用方便;

[0007]2、节省成本。

【附图说明】

[0008]图1是本实用新型一种盘纸分切机的分切机构的主视图。

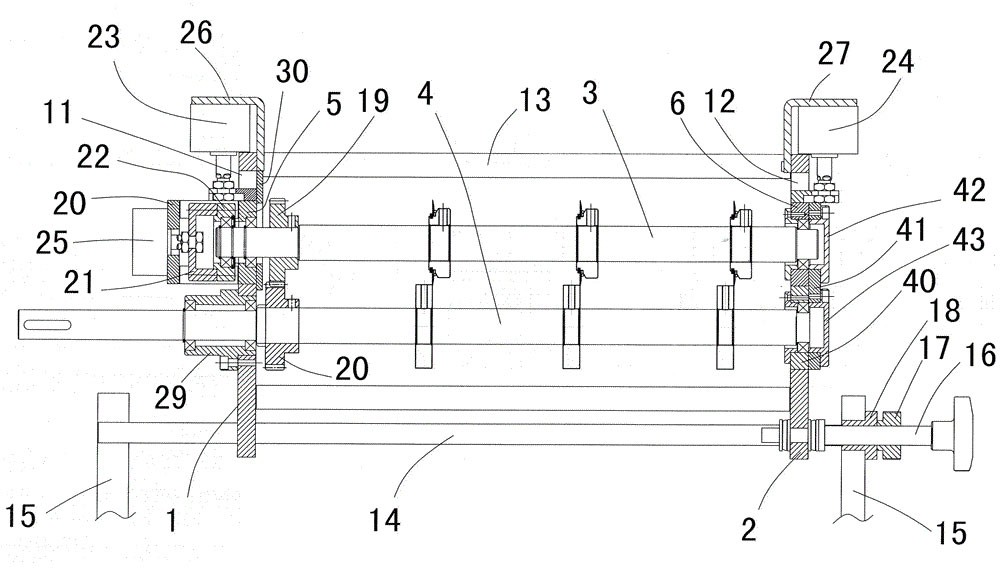
[0009]其中:1-机架;2_液压油缸;3_压板;4_光滑杆;5_滑套;6_压紧螺栓;7_支架;8-转轴;9_刀盘;10-传动车昆。

【具体实施方式】

[0010]如图1所示,本实用新型公开了一种盘纸分切机的分切机构,包括:机架1、液压油缸2、压板3、光滑杆4、滑套5、压紧螺栓6、支架7、转轴8、刀盘9、传动辊10,所述的机架I的左右两侧分别水平固设一个液压油缸2,且左右两个液压油缸2左右对称,且每一个液压油缸2的伸缩轴的端部均焊接一个压板3,所述的光滑杆4与左右两个液压油缸2的伸缩轴在同一条直线上,且光滑杆4被水平压紧在左右两个压板3之间,所述的光滑杆4上从左到右均匀套有多个滑套5,所述的滑套5通过滑动连接的方式与光滑杆4连接,且每一个滑套5上通过螺纹连接的方式均安装一个压紧螺栓6,且压紧螺栓6的螺杆穿过滑套5与光滑杆4的圆周面相接触,所述的滑套5上竖直焊接一个支架7,所述的支架7的下端通过轴承水平安装一个转轴8,所述的转轴8上固设一个刀盘9,所述的机架I上通过轴承水平安装一个传动辊10,所述的传动辊10在光滑杆4的正下方,且传动辊10的圆周面与刀盘9相接触。

[0011]本实用新型是这样实施的:机架I的作用是将本实用新型的整体安装到分切机上,整张纸从光滑杆4与传动辊10之间经过,且纸张的下表面与传动辊10的圆周面相接触,由于传动辊10的圆周面与刀盘9相接触,这样,纸张在向后方移动的过程中,刀盘9与传动辊10之间发生转动的同时,整张纸则被多个刀盘9分切成多个条状纸,且条状纸的宽度与相邻两个刀盘9之间的距离相同,若需要切割出不同宽度的纸张时,以减小切割宽度为例,加工人员控制左右两个液压油缸2的伸缩轴伸缩,左右两个液压油缸2的伸缩轴则分别带动左右压板3向左右移动,左右压板3则逐渐松开光滑杆4,加工人员将光滑杆4取下即可,然后旋转压紧螺栓6,以使压紧螺栓6的螺杆向远离光滑杆4的方向移动,直至滑套5可以相对于光滑杆4移动为止,然后人们根据需要加工出的条形纸的宽度,调节相邻的两个滑套5之间的距离,滑套5则通过支架7以及转轴8带动刀盘9移动,直至相邻两个刀盘9之前的距离与所要切割出的条形纸的宽度相同为止,若需要增加刀盘9的数量,人们只需要再往光滑杆4上套多个滑套5即可,然后通过压紧螺栓6将每一个滑套5压紧在光滑杆4上为止,然后通过左右液压油缸2的伸缩轴分别推动左右压板3向中间移动即可,直至左右两个压板3重新将光滑杆4压紧即可,然后按照上述方法进行分切即可,使用比较方便,而且可以根据需要切割出的条形纸的宽度进行调节,不用再更换整个分切机,因此,显著的降低了成本。

[0012]最后应说明的是:以上实施例仅用以说明本实用新型而并非限制本实用新型所描述的技术方案;因此,尽管本说明书参照上述的各个实施例对本实用新型已进行了详细的说明,但是,本领域的普通技术人员应当理解,仍然可以对本实用新型进行修改或等同替换;而一切不脱离本实用新型的精神和范围的技术方案及其改进,其均应涵盖在本实用新型的权利要求范围中。

【主权项】

1.一种盘纸分切机的分切机构,包括:机架、液压油缸、压板、光滑杆、滑套、压紧螺栓、支架、转轴、刀盘、传动辊,其特征在于:所述的机架的左右两侧分别水平固设一个液压油缸,且左右两个液压油缸左右对称,且每一个液压油缸的伸缩轴的端部均焊接一个压板,所述的光滑杆与左右两个液压油缸的伸缩轴在同一条直线上,且光滑杆被水平压紧在左右两个压板之间,所述的光滑杆上从左到右均匀套有多个滑套,所述的滑套通过滑动连接的方式与光滑杆连接,且每一个滑套上通过螺纹连接的方式均安装一个压紧螺栓,且压紧螺栓的螺杆穿过滑套与光滑杆的圆周面相接触,所述的滑套上竖直焊接一个支架,所述的支架的下端通过轴承水平安装一个转轴,所述的转轴上固设一个刀盘,所述的机架上通过轴承水平安装一个传动辊,所述的传动辊在光滑杆的正下方,且传动辊的圆周面与刀盘相接触。

【专利摘要】本实用新型公开了一种盘纸分切机的分切机构,包括:机架、液压油缸、压板、光滑杆、滑套、压紧螺栓、支架、转轴、刀盘、传动辊,机架的左右两侧分别水平固设一个液压油缸,每一个液压油缸的伸缩轴的端部均焊接一个压板,光滑杆被水平压紧在左右两个压板之间,光滑杆上从左到右均匀套有多个滑套,每一个滑套上通过螺纹连接的方式均安装一个压紧螺栓,滑套上竖直焊接一个支架,支架的下端通过轴承水平安装一个转轴,转轴上固设一个刀盘,传动辊在光滑杆的正下方,且传动辊的圆周面与刀盘相接触。本实用新型具有使用方便、节省成本等优点。

【IPC分类】B65H35/02

【公开号】CN205204433

【申请号】CN201520816659

【发明人】王平亚

【申请人】安徽中亚纸业有限公司

【公开日】2016年5月4日

【申请日】2015年10月22日

Baidu
ac米兰APP软件下载