服务热线
180-5003-0233

本技术涉及一种用于分切机边料吹吸一体装置,尤其涉及一种用于无纺布、纸张、薄膜等的分切机边料吹吸一体装置,属于无纺布、纸张、薄膜等加工设备。
背景技术:
1、分切机是一种将宽幅的无纺布、纸张、云母带或薄膜等分切成多条窄幅材料的机械设备,常用于无纺布、云母带、纸张、绝缘材料及各种薄膜材料的分切。分切机对分切带卷的布、纸、膜等具有良好的性能,因此,在有效处理分切边料后,能使分切效率得到很大提升;
2、现有分切机处理边料的装置一般采用:吹边装置或者吸边装置。吹边装置或者吸边装置分别通过单独设置固定式吹气风机或者固定式吸气风机,在配套的管道内形成一定的正压或负压,使得分切边料被带走,进而提升分切效率。但一定的正压或负压以及配套的管道无法满足不同宽度的边料;同时,因使用吹气风机或者吸气风机也使得生产电耗增加。
3、现有技术cn215797418u中公开“一种水刺无纺布分切机吹边装置”,其目的是便捷的将无纺布分切后的废边料拉下收集;cn207548894u中公开“一种锂电隔膜分切机的收边料部件”,解决了现有分切边料通过鼓风机从风管吹出,吹出的边料杂乱,不容易收整,占地空间大的问题。
4、为此,需要一种适用于不同宽度的边料、能降低能耗的边料吹吸装置。
技术实现思路
1、针对不同宽度边料(丢边)以及能耗问题,本实用新型利用压缩空气形成吹吸一体化装置来处理不同幅宽的边料,即提出了一种用于分切机边料吹吸一体装置。实现不同宽度边料吹吸处理的有效性和生产能效的节约性。
2、为了实现上述技术目的,提出如下的技术方案:
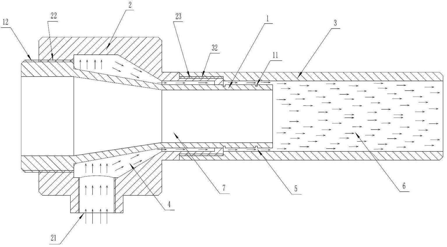
3、一种用于分切机边料吹吸一体装置,包括吹吸力嘴、套设在吹吸力嘴外部的固定套及套设在吹吸力嘴外部的导流管,导流管设置在固定套的后侧,吹吸力嘴前端向固定套外延伸,吹吸力嘴后端穿过固定套向导流管内延伸;
4、所述固定套上设有进气口,固定套与吹吸力嘴之间形成气流空腔ⅰ,导流管与吹吸力嘴之间形成气流空腔ⅱ,进气口、气流空腔ⅰ、气流空腔ⅱ及导流管内腔之间气流移动的连续通路;吹吸力嘴内腔及导流管内腔之间形成边料被吸入的连续通路;
5、所述吹吸力嘴中部呈锥面设置,吹吸力嘴后部外壁上均匀分布有用于形成涡流气流的导流槽;
6、所述固定套与吹吸力嘴之间为活动连接,导流管前部套设在固定套后部的外部,导流管与固定套之间为活动连接。
7、优选的,所述固定套前部内壁上设有内螺纹ⅰ,吹吸力嘴前部外壁上设有与内螺纹ⅰ相配合的外螺纹ⅰ,通过旋转螺纹调节吹吸力。
8、优选的,所述外螺纹ⅰ分布在吹吸力嘴锥面的前侧。
9、优选的,所述固定套后部外壁上设有外螺纹ⅱ,导流管前部内壁上设有与外螺纹ⅱ相配合的内螺纹ⅱ,通过旋转螺纹调节吹吸力。
10、优选的,所述固定套后端内壁上分布有防止固定套摆动(压缩空气的冲击)的限位凸台。更为优选的,限位凸台对称均布4-8个。
11、优选的,所述导流管内侧设置有与限位凸台相配合的 导流槽分布在限位槽的后侧。
12、优选的,所述内螺纹ⅱ分布在限位槽内。
13、优选的,所述导流槽为10-20个。
14、本技术方案中涉及 “外部”、“后侧”、“前端”、“外”、“后端”、“内”、“上”、“之间”、“中部”、“后部”、“外壁”、“前部”、“前侧”、“后侧”等位置关系,是根据实际使用状态下的情况而定义的,为本技术领域内的常规用语,也是本领域术人员在实际使用过程中的常规用语。
15、采用本技术方案,带来的有益技术效果为:
16、本实用新型结构简单,设计合理,实用性强,不仅用于无纺布分切工序中的边料处理,而且也可用于纸张、云母带或薄膜等分切的边料处理。其中,利用对应空腔内的空气不同流速产生的压强差产生吸力,以及,通过调整吹吸力嘴与固定套的相对位置,可调节吹吸力的大小,进而实现不同宽度边料吹吸处理;同时,使用压缩空气,不需单独增加风机,实现降低能耗的目的;
17、此外,本装置为吹吸方式一体,改变原有单一的吹或吸方式,使得分切效率更高。
技术特征:
1.一种分切机边料吹吸一体装置,其特征在于:包括吹吸力嘴(1)、套设在吹吸力嘴(1)外部的固定套(2)及套设在吹吸力嘴(1)外部的导流管(3),导流管(3)设置在固定套(2)的后侧,吹吸力嘴(1)前端向固定套(2)外延伸,吹吸力嘴(1)后端穿过固定套(2)向导流管(3)内延伸;
2.根据权利要求1所述的分切机边料吹吸一体装置,其特征在于:所述固定套(2)前部内壁上设有内螺纹ⅰ(22),吹吸力嘴(1)前部外壁上设有与内螺纹ⅰ(22)相配合的外螺纹ⅰ(12)。
3.根据权利要求2所述的分切机边料吹吸一体装置,其特征在于:所述外螺纹ⅰ(12)分布在吹吸力嘴(1)锥面的前侧。
4.根据权利要求1所述的分切机边料吹吸一体装置,其特征在于:所述固定套(2)后部外壁上设有外螺纹ⅱ(23),导流管(3)前部内壁上设有与外螺纹ⅱ(23)相配合的内螺纹ⅱ(32)。
5.根据权利要求4所述的分切机边料吹吸一体装置,其特征在于:所述固定套(2)后端内壁上分布有防止固定套(2)摆动的限位凸台(24)。
6.根据权利要求5所述的分切机边料吹吸一体装置,其特征在于:所述限位凸台(24)对称均布4-8个。
7.根据权利要求5或6所述的分切机边料吹吸一体装置,其特征在于:所述导流管(3)内侧设置有与限位凸台(24)相配合的限位槽(31),导流槽(11)分布在限位槽(31)的后侧。
8.根据权利要求7所述的分切机边料吹吸一体装置,其特征在于:所述内螺纹ⅱ(32)分布在限位槽(31)内。
9.根据权利要求1所述的分切机边料吹吸一体装置,其特征在于:所述导流槽(11)为10-20个。
技术总结
本技术公开一种用于分切机边料吹吸一体装置,包括吹吸力嘴、固定套及导流管,导流管设置在固定套的后侧,吹吸力嘴前端向固定套外延伸,吹吸力嘴后端穿过固定套向导流管内延伸;固定套上设有进气口,固定套与吹吸力嘴之间形成气流空腔Ⅰ,导流管与吹吸力嘴之间形成气流空腔Ⅱ,进气口、气流空腔Ⅰ、气流空腔Ⅱ及导流管内腔之间气流移动的连续通路;吹吸力嘴内腔及导流管内腔之间形成边料被吸入的连续通路;吹吸力嘴中部呈锥面设置,吹吸力嘴后部外壁上分布有导流槽;固定套与吹吸力嘴之间为活动连接,导流管前部套设在固定套后部的外部,导流管与固定套之间为活动连接。实现不同宽度边料吹吸处理的有效性和生产能效的节约性。
技术研发人员:张德元,江洪,李章冲
受保护的技术使用者:宜宾丽雅卫生材料科技有限责任公司
技术研发日:20230516
技术公布日:2024/1/15