服务热线
180-5003-0233

本发明涉及卷材加工,尤其涉及一种电解铜箔生箔机的分切装置以及分切方法。
背景技术:
1、分切机是一种将宽幅纸张、云母带或薄膜分切成多条窄幅材料的机械设备,常用于造纸机械、电线电缆云母带、铜箔等。分切是利用刀具旋转,环形切刀对宽幅铜箔切割分离,在通过多个纸筒对分切后窄幅铜箔收卷;例如公开号为cn112976137a的发明创造公开了一种电解铜箔生箔机的分切装置,包括底座、第一分切辊、第二分切辊和切割刀,所述底座左侧固定安装有第一减震座,所述第一减震座上固定安装有输料电动机,所述输料电动机输出端固定安装有输料辊,所述底座上固定安装有支撑架。相较于现有技术具有分切和切割一体化、便于收料的特点。但是,分切刀不断与铜箔摩擦,分切刀需要定期更换,或者定期磨刀,会造成停机,占用设备作业时间,分切效率低,另外,对于收卷铜箔的纸筒得不到机械定心,纸筒与铜箔移动方向容易出现偏差,铜箔收卷时会出现偏移,影响铜箔质量。
技术实现思路
1、本发明为了克服现有技术中定期更换分切刀占用分切时间,分切效率低,以及铜箔收卷效果差的缺点,本发明要解决的技术问题是一种电解铜箔生箔机的分切装置以及分切方法。
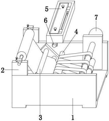
2、为实现上述目的,本发明提供如下技术方案:一种电解铜箔生箔机的分切装置,包括机壳、两个托架和导轮组,两个所述托架分别固定连接在机壳上表面前后两侧左端,通过托架安装铜箔卷材,所述导轮组安装在机壳内侧中部,还包括定位辊、滑台、分切机构和收卷机构,定位辊能够绕自身轴线旋转的安装在所述机壳内腔,定位辊位于导轮组右侧;滑台沿前后方向安装在所述机壳上表面中部;分切机构安装在所述滑台底部;收卷机构固定连接在所述机壳后侧右端。
3、目的在于对切刀研磨,在不停机的情况下实现磨刀,提升铜箔分切效率,所述分切机构包括箱体、第一电机、滚筒、导槽、限位杆、滑板、销子、研磨组件、第二电机、第一转轴和切刀,箱体安装在所述滑台底部,通过滑台让箱体能够左右移动;第一电机安装在所述箱体内腔后侧顶端;滚筒安装在所述第一电机输出端,所述滚筒外壁开设有导槽;限位杆沿前后方向安装在所述箱体内腔中部;滑板能够前后滑动的套接在所述限位杆外壁,限位杆外壁形状为矩形,防止滑板出现旋转;销子一端安装在所述滑板顶部中心位置,另一端插接在导槽内腔;研磨组件数量为若干个,从前至后等距安装在所述滑板下表面;第二电机安装在所述箱体正面底端;第一转轴一端安装在所述第二电机输出端,另一端与箱体内腔后侧转动连接;切刀数量与研磨组件相同,从前至后等距安装在所述第一转轴外壁,通过研磨组件提升切刀锋利程度。
4、优选的,所述导槽呈波浪状分布在滚筒外壁。
5、优选的,所述研磨组件包括支撑座、滑道、弹簧、滑块和磨刀石,支撑座固定连接在所述滑板下表面,所述支撑座下表面前后两端均开设有滑道;弹簧和滑块从外至内分别插接在所述滑道内腔,滑块形状为燕尾形,避免滑块脱离滑道;磨刀石安装在所述滑块下表面。
6、优选的,所述磨刀石内侧为斜面,磨刀石内侧表面与切刀外壁刀刃平行。
7、优选的,所述收卷机构包括支撑板、第三电机和定位组件,支撑板固定连接在所述机壳后侧右端;第三电机数量为两个,分别安装在所述支撑板后侧上下两端;定位组件沿前后方向安装在所述第三电机输出端。
8、优选的,目的在于对纸筒定心安装,保证了铜箔收卷质量,所述定位组件包括第二转轴、凹槽、第三转轴、齿轮、插板、齿条、插针、永磁铁、摇柄和定位柱,第二转轴安装在所述第三电机输出端,第二转轴为中空状,第二转轴正面顶部和右端均开设有凹槽;第三转轴能够绕自身轴线旋转的安装在所述第二转轴内腔;齿轮数量为若干个,从前至后等距安装在所述第三转轴外壁;插板数量为若干个,每两个为一组左右相对的插接在所述第二转轴内腔左右两端,插板外侧延伸出第二转轴外壁,所述插板形状u字形;齿条安装在所述插板内侧,齿条与齿轮啮合链接;插针安装在所述插板内侧,且插针能够延伸出第二转轴外壁;永磁铁安装在所述第二转轴正面凹槽;摇柄能够旋转的安装在所述第三转轴前端;定位柱安装在所述摇柄后侧,永磁铁与定位柱磁性相吸对摇柄定位。
9、优选的,两个所述齿条相对于第三转轴轴线旋转180度重合。
10、一种电解铜箔生箔机的分切装置的分切方法,包括以下步骤:
11、步骤一,铜箔卷材被放在托架上,铜箔在导轮组和定位辊的滚动下移动,第二电机带动第一转轴上的切刀旋转,切刀对经过定位辊的铜箔分切,第三电机驱使第二转轴旋转,第二转轴对分切后的铜箔收卷,达到铜箔分切的目的;
12、步骤二,随着切刀不断切割铜箔,锐利程度逐渐变差,通过第一电机带动滚筒旋转,随着导槽旋转,导槽斜面挤压销子前后移动,在销子处于导槽拐角处时,导槽可以让销子静止一定时间,在弹簧弹力作用下,滑块上的磨刀石与切刀始终接触,通过切刀旋转实现磨刀,保证切刀对铜箔的分切效果,不会因为换刀而停机;
13、步骤三,转动摇柄使定位柱脱离永磁铁,利用摇柄驱使第三转轴逆时针旋转,在齿轮与齿条传动下两个插板同时向内侧移动,插板和插针进入第二转轴,解除对纸筒的定位,便可将收卷有铜箔的纸筒从第二转轴上卸下,将空纸筒套在第二转轴外壁,并处在插板所在位置,通过摇柄使第三转轴顺时针旋转,在齿条牵引下插板向外侧移动,插板内侧斜面挤压纸筒,对纸筒定心,在插针刺入纸筒时,纸筒被固定在第二转轴上,实现纸筒定心更换,利于纸筒对铜箔精准收卷。
14、与现有技术相比,本发明具有如下有益效果:
15、1、本发明通过第一电机驱使滚筒旋转,在导槽与销子配合下能够让滑板沿着限位杆前后移动,在弹簧弹力作用下挤压滑块,让磨刀石与切刀接触,随着切刀旋转,实现磨刀,在磨刀时不干扰铜箔分切作业,降低工作人员劳动强度,分切效率高。
16、2、本发明通过摇柄驱使第三转轴顺时针或逆时针旋转,在齿轮与齿条传动下两个插板同时向外或向内侧移动,进而使插板可以移出或进入第二转轴,插板斜面能够挤压纸筒,实现纸筒定心安装,纸筒安装位置精准,保证了分切后铜箔收卷质量。
技术特征:
1.一种电解铜箔生箔机的分切装置,包括机壳(1)、两个托架(2)和导轮组(3),两个所述托架(2)分别固定连接在机壳(1)上表面前后两侧左端,通过托架(2)安装铜箔卷材,所述导轮组(3)安装在机壳(1)内侧中部,其特征在于,所述电解铜箔生箔机的分切装置还包括:
2.根据权利要求1所述的一种电解铜箔生箔机的分切装置,其特征在于,所述导槽(64)呈波浪状分布在滚筒(63)外壁。
3.根据权利要求2所述的一种电解铜箔生箔机的分切装置,其特征在于,所述研磨组件(68)包括:
4.根据权利要求3所述的一种电解铜箔生箔机的分切装置,其特征在于,所述磨刀石(684)内侧为斜面,磨刀石(684)内侧表面与切刀(611)外壁刀刃平行。
5.根据权利要求4所述的一种电解铜箔生箔机的分切装置,其特征在于,所述收卷机构(7)包括:
6.根据权利要求5所述的一种电解铜箔生箔机的分切装置,其特征在于,所述定位组件(73)包括:
7.根据权利要求6所述的一种电解铜箔生箔机的分切装置,其特征在于,两个所述齿条(735)相对于第三转轴(732)轴线旋转180度重合。
8.根据权利要求7所述的一种电解铜箔生箔机的分切装置的分切方法,其特征在于,包括以下步骤:
技术总结
本发明涉及卷材加工技术领域,尤其涉及一种电解铜箔生箔机的分切装置以及分切方法,包括机壳、两个托架和导轮组,两个所述托架分别固定连接在机壳上表面前后两侧左端,通过托架安装铜箔卷材,所述导轮组安装在机壳内侧中部,还包括定位辊、滑台、分切机构和收卷机构,定位辊能够绕自身轴线旋转的安装在所述机壳内腔,定位辊位于导轮组右侧;滑台沿前后方向安装在所述机壳上表面中部;分切机构安装在所述滑台底部;收卷机构固定连接在所述机壳后侧右端。在磨刀时不干扰铜箔分切作业,降低工作人员劳动强度,分切效率高,实现纸筒定心安装,纸筒安装位置精准,保证了分切后铜箔收卷质量。
技术研发人员:陶炳贞,顾秀才,叶鑫
受保护的技术使用者:江苏兴虹科技有限公司
技术研发日:
技术公布日:2024/2/1