服务热线
180-5003-0233

本实用新型涉及一种纸管生产加工领域,尤其涉及一种纸管支撑装置。
背景技术:
现有技术中,纸管生产完成之后,一般情况将纸管套在切管机的轴上,利用切刀进行分切。在切管过程中,切刀会与轴的表面接触,造成切刀及轴的磨损,导致维修率高,成本比较高昂。
技术实现要素:
本实用新型目的是提供一种纸管支撑装置,通过使用该结构,防止切刀的损坏,降低设备维修率,降低成本。
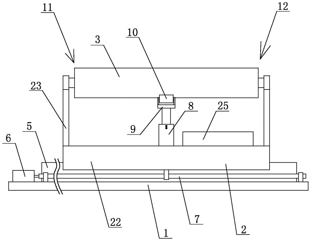
为达到上述目的,本实用新型采用的技术方案是:一种纸管支撑装置,包括底板及设置于底板上的支撑机构,所述支撑机构包括支架及设置于支架上的两组支撑辊,两组所述支撑辊相互平行设置,两组所述支撑辊转动安装于所述支架上,两组所述支撑辊之间设有支撑间距;所述底板的顶面上设有滑轨、驱动电机及滚珠丝杆,所述驱动电机安装于所述滚珠丝杆的一侧,所述滚珠丝杆的两端转动安装于所述底板上,所述驱动电机的输出轴与所述滚珠丝杆的一端相连,所述滚珠丝杆与所述滑轨相互平行设置,所述支撑辊与所述滑轨及滚珠丝杆相互平行设置,所述支架的底部一侧滑动设置于所述滑轨上,所述支架的底部另一侧与所述滚珠丝杆相连,所述驱动电机输出轴的转动经所述滚珠丝杆带动所述支架在所述滑轨上移动;
所述支架的中部还设有一保护机构,所述保护机构设置于两组所述支撑辊的正下方;所述保护机构包括立柱、横板及两组支撑滚轮,所述立柱的底部垂直安装于所述支架上,所述横板的底面中部与所述立柱的顶部相连,所述横板垂直设置于两组所述支撑辊的正下方,两组所述支撑滚轮分别转动安装于所述横板两端的顶面上,两组所述支撑滚轮的轴线平行于所述支撑辊的轴线设置,每组所述支撑滚轮的外缘面与对应一组所述支撑辊的外缘面相接触。
上述技术方案中,所述支撑辊包括左侧支撑辊及右侧支撑辊,所述支撑滚轮包括左侧支撑滚轮及右侧支撑滚轮,所述左侧支撑滚轮设置于所述左侧支撑辊的左侧下方,所述右侧支撑滚轮设置于所述右侧支撑辊的右侧下方,所述左侧支撑滚轮的右上方外缘面与所述左侧支撑辊的左下方外缘面相接触;所述右侧支撑滚轮的左上方外缘面与所述右侧支撑辊的右下方外缘面相接触。
上述技术方案中,所述立柱包括固定柱及连接柱,所述固定柱的底部固定安装于所述支架上,所述连接柱的顶部与所述横板的底面中部固定相连;所述固定柱的顶部设有一安装孔,所述固定柱的上方侧壁上设有两个螺孔,所述螺孔与所述安装孔相连通,每个所述螺孔内螺接有一锁紧螺栓,所述连接柱的下方插设于所述安装孔内,且所述锁紧螺栓的端部抵于所述连接柱的外缘面上,所述锁紧螺栓将所述连接柱与所述固定柱锁紧固定。
上述技术方案中,所述支架包括滑板及设置于滑板顶部左侧及右侧的两组支撑板,所述滑板的底部滑动设置于所述滑轨上,两组所述支撑辊的两端分别转动安装于两组所述支撑板的顶部,所述立柱的底部与所述滑板顶面中部相连。
上述技术方案中,所述滑板的顶面上还设有一放置槽,所述放置槽设置于所述立柱的后侧,所述放置槽内放置有一碎屑接料槽,所述碎屑接料槽设置于所述支撑间距的正下方。
由于上述技术方案运用,本实用新型与现有技术相比具有下列优点:
1.本实用新型中采用两组支撑辊的设置,能够将产品放在两组支撑辊上面利用两组支撑辊进行支撑,这样在对产品裁切的过程中,能够防止切刀直接与支撑辊接触,同时,裁切过程中,电机及滚珠丝杆能够带动支撑辊移动,便于后续的上料,保证裁切的便利性;
2.本实用新型中采用保护机构的设置,能够对两组支撑辊的中部进行支撑保护,防止支撑辊受力而变形,延长使用寿命。
附图说明
图1是本实用新型实施例一中的结构示意图;
图2是图1的右视图;
图3是本实用新型实施例一中立柱的剖视结构示意图。
其中:1、底板;2、支架;3、支撑辊;4、支撑间距;5、滑轨;6、驱动电机;7、滚珠丝杆;8、立柱;9、横板;10、支撑滚轮;11、进料端;12、出料端;13、左侧支撑辊;14、右侧支撑辊;15、左侧支撑滚轮;16、右侧支撑滚轮;17、固定柱;18、连接柱;19、安装孔;20、螺孔;21、锁紧螺栓;22、滑板;23、支撑板;24、放置槽;25、碎屑接料槽。
具体实施方式
下面结合附图及实施例对本实用新型作进一步描述:
实施例一:参见图1~3所示,一种纸管支撑装置,包括底板1及设置于底板1上的支撑机构,所述支撑机构包括支架及设置于支架2上的两组支撑辊3,两组所述支撑辊相互平行设置,两组所述支撑辊转动安装于所述支架2上,两组所述支撑辊3之间设有支撑间距4;所述底板1的顶面上设有滑轨5、驱动电机6及滚珠丝杆7,所述驱动电机安装于所述滚珠丝杆的一侧,所述滚珠丝杆的两端转动安装于所述底板上,所述驱动电机的输出轴与所述滚珠丝杆的一端相连,所述滚珠丝杆与所述滑轨相互平行设置,所述支撑辊与所述滑轨及滚珠丝杆相互平行设置,所述支架的底部一侧滑动设置于所述滑轨上,所述支架的底部另一侧与所述滚珠丝杆相连,所述驱动电机输出轴的转动经所述滚珠丝杆带动所述支架在所述滑轨上移动;
所述支架的中部还设有一保护机构,所述保护机构设置于两组所述支撑辊的正下方;所述保护机构包括立柱8、横板9及两组支撑滚轮10,所述立柱的底部垂直安装于所述支架上,所述横板的底面中部与所述立柱的顶部相连,所述横板垂直设置于两组所述支撑辊的正下方,两组所述支撑滚轮分别转动安装于所述横板两端的顶面上,两组所述支撑滚轮的轴线平行于所述支撑辊的轴线设置,每组所述支撑滚轮的外缘面与对应一组所述支撑辊的外缘面相接触。
在本实施例中,在实际使用时,支撑间距的一侧为进料端11,另一侧为出料端12。纸管会从进料端进入到支撑间距内,利用两组支撑辊对纸管进行支撑。其中,在支撑间距的上方设置多组圆形切刀,纸管移动到支撑间距上面之后,转动的圆形切刀下降,对纸管进行分切。在分切的过程中,由于圆形切刀转动,会压住纸管,同时带动纸管转动,还会对纸管进行分切,这样圆形切刀不会与支撑辊接触就能够将纸管进行切断,防止圆形切刀的磨损,延长使用寿命。在分切过程中,驱动电机及滚珠丝杆会带动支架移动,远离进料端,这样在切管的过程中,进料端处可以进行送料,当切管完成之后,圆形切刀上升离开纸管,然后驱动电机及滚珠丝杆带动支架朝向进料端移动,这样进料端处的产品就会推动支撑间距上面的产品朝向出料端移动,自动落料,移动到位之后,圆形切刀下降继续分切,如此循环,分切效率高,质量好。
在本实施例中,由于支撑辊具有一定的长度,纸管在支撑辊上面,支撑辊会受到纸管的重力,同时切刀下降切管时候会给予纸管及支撑辊一定的压力,长时间的话,支撑辊容易受重变形,其中部下垂弯曲。通过保护机构的设置,能够对两组支撑辊的中部进行支撑保护,提高支撑辊的抗压质量,防止支撑辊的变形,延长支撑辊的使用寿命。
参见图2所示,所述支撑辊包括左侧支撑辊13及右侧支撑辊14,所述支撑滚轮包括左侧支撑滚轮15及右侧支撑滚轮16,所述左侧支撑滚轮设置于所述左侧支撑辊的左侧下方,所述右侧支撑滚轮设置于所述右侧支撑辊的右侧下方,所述左侧支撑滚轮的右上方外缘面与所述左侧支撑辊的左下方外缘面相接触;所述右侧支撑滚轮的左上方外缘面与所述右侧支撑辊的右下方外缘面相接触。
参见图1~3所示,所述立柱包括固定柱17及连接柱18,所述固定柱的底部固定安装于所述支架上,所述连接柱的顶部与所述横板的底面中部固定相连;所述固定柱的顶部设有一安装孔19,所述固定柱的上方侧壁上设有两个螺孔20,所述螺孔与所述安装孔相连通,每个所述螺孔内螺接有一锁紧螺栓21,所述连接柱的下方插设于所述安装孔内,且所述锁紧螺栓的端部抵于所述连接柱的外缘面上,所述锁紧螺栓将所述连接柱与所述固定柱锁紧固定。
在本实施例中,会根据不同尺寸的纸管,更换不同直径大小的支撑辊,以保证对纸管的支撑质量,因此,为了保证支撑滚轮能够对不同尺寸的支撑辊进行支撑,采用连接柱及固定柱的设置,能够调节支撑滚轮的高度,适用于不同尺寸的支撑辊。
参见图1、2所示,所述支架包括滑板22及设置于滑板顶部左侧及右侧的两组支撑板23,所述滑板的底部滑动设置于所述滑轨上,两组所述支撑辊的两端分别转动安装于两组所述支撑板的顶部,所述立柱的底部与所述滑板顶面中部相连。
所述滑板22的顶面上还设有一放置槽24,所述放置槽设置于所述立柱的后侧,所述放置槽内放置有一碎屑接料槽25,所述碎屑接料槽设置于所述支撑间距的正下方。
在本实施例中,支撑间距的前侧为进料端,后侧为出料端,圆形切刀会设置在出料端的上方,这样在对纸管切断的过程中,会有碎屑的产生,通过碎屑接料槽的设置,便于将碎屑的收集,保护加工环境。
技术特征:
1.一种纸管支撑装置,其特征在于:包括底板及设置于底板上的支撑机构,所述支撑机构包括支架及设置于支架上的两组支撑辊,两组所述支撑辊相互平行设置,两组所述支撑辊转动安装于所述支架上,两组所述支撑辊之间设有支撑间距;所述底板的顶面上设有滑轨、驱动电机及滚珠丝杆,所述驱动电机安装于所述滚珠丝杆的一侧,所述滚珠丝杆的两端转动安装于所述底板上,所述驱动电机的输出轴与所述滚珠丝杆的一端相连,所述滚珠丝杆与所述滑轨相互平行设置,所述支撑辊与所述滑轨及滚珠丝杆相互平行设置,所述支架的底部一侧滑动设置于所述滑轨上,所述支架的底部另一侧与所述滚珠丝杆相连,所述驱动电机输出轴的转动经所述滚珠丝杆带动所述支架在所述滑轨上移动;
所述支架的中部还设有一保护机构,所述保护机构设置于两组所述支撑辊的正下方;所述保护机构包括立柱、横板及两组支撑滚轮,所述立柱的底部垂直安装于所述支架上,所述横板的底面中部与所述立柱的顶部相连,所述横板垂直设置于两组所述支撑辊的正下方,两组所述支撑滚轮分别转动安装于所述横板两端的顶面上,两组所述支撑滚轮的轴线平行于所述支撑辊的轴线设置,每组所述支撑滚轮的外缘面与对应一组所述支撑辊的外缘面相接触。
2.根据权利要求1所述的纸管支撑装置,其特征在于:所述支撑辊包括左侧支撑辊及右侧支撑辊,所述支撑滚轮包括左侧支撑滚轮及右侧支撑滚轮,所述左侧支撑滚轮设置于所述左侧支撑辊的左侧下方,所述右侧支撑滚轮设置于所述右侧支撑辊的右侧下方,所述左侧支撑滚轮的右上方外缘面与所述左侧支撑辊的左下方外缘面相接触;所述右侧支撑滚轮的左上方外缘面与所述右侧支撑辊的右下方外缘面相接触。
3.根据权利要求1所述的纸管支撑装置,其特征在于:所述立柱包括固定柱及连接柱,所述固定柱的底部固定安装于所述支架上,所述连接柱的顶部与所述横板的底面中部固定相连;所述固定柱的顶部设有一安装孔,所述固定柱的上方侧壁上设有两个螺孔,所述螺孔与所述安装孔相连通,每个所述螺孔内螺接有一锁紧螺栓,所述连接柱的下方插设于所述安装孔内,且所述锁紧螺栓的端部抵于所述连接柱的外缘面上,所述锁紧螺栓将所述连接柱与所述固定柱锁紧固定。
4.根据权利要求1所述的纸管支撑装置,其特征在于:所述支架包括滑板及设置于滑板顶部左侧及右侧的两组支撑板,所述滑板的底部滑动设置于所述滑轨上,两组所述支撑辊的两端分别转动安装于两组所述支撑板的顶部,所述立柱的底部与所述滑板顶面中部相连。
5.根据权利要求4所述的纸管支撑装置,其特征在于:所述滑板的顶面上还设有一放置槽,所述放置槽设置于所述立柱的后侧,所述放置槽内放置有一碎屑接料槽,所述碎屑接料槽设置于所述支撑间距的正下方。
技术总结
本实用新型公开了一种纸管支撑装置,其特征在于:包括底板及支撑机构,所述支撑机构包括支架及转动设置于支架上的两组支撑辊,两组所述支撑辊之间设有支撑间距;所述底板的顶面上设有滑轨、驱动电机及滚珠丝杆,所述驱动电机安装于所述滚珠丝杆的一侧,所述滚珠丝杆的两端转动安装于所述底板上,所述驱动电机的输出轴与所述滚珠丝杆的一端相连,所述滚珠丝杆与所述滑轨相互平行设置,所述支架的底部一侧滑动设置于所述滑轨上,所述支架的底部另一侧与所述滚珠丝杆相连;所述支架的中部还设有一保护机构,所述保护机构设置于两组所述支撑辊的正下方。本实用新型提高了支撑质量,降低设备维修率。
技术研发人员:吴建中
受保护的技术使用者:太仓市鑫海纸业有限公司
技术研发日:2019.08.13
技术公布日:2020.05.22