服务热线
180-5003-0233

本技术涉及锂离子电池分切机,具体涉及一种锂离子电池分切机极片收卷自动支撑臂装置。
背景技术:
1、锂离子电池分切机是按照锂电池的生产工艺要求,完成电池极片的分切成条工作;极片由放卷轴开卷,在切刀机构完成极片分切后,经主动辊、张力辊等机构,最后由收卷机将极片收取成卷;而收卷机对材料的卷内径、卷外径、卷材料厚度以及宽度都有严格要求。
2、但是目前市场上现有的收卷轴下料端的支撑臂采用人力操作,这不但影响生产进度,同时由于原料重量大,安全性低,工人在操作时容易受伤。
技术实现思路
1、本实用新型所要解决的问题是提供一种锂离子电池分切机极片收卷自动支撑臂装置,收卷支撑臂经驱动机构作用,其可沿着导向支撑机构作往复直线运动,从而达到自动伸缩的目的,进而实现自动操作,提高安全性,以避免工作人员在下料时受伤。
2、为达到上述目的,本实用新型采用的技术方案为:
3、一种锂离子电池分切机极片收卷自动支撑臂装置,包括支撑臂和导向支撑机构,所述导向支撑机构安装于分切机的外壁上,所述支撑臂通过导向座滑动连接于所述导向支撑机构上,且所述支撑臂远离所述导向座的一端用于承接收卷轴的下料端;
4、所述分切机的外壁上还设置有驱动机构,所述驱动机构能够驱动所述支撑臂沿所述导向支撑机构往复移动。
5、本实用新型一个较佳实施例中,所述导向支撑机构采用导轨,所述导轨固定安装于所述分切机的外壁上,且所述导轨水平设置。
6、本实用新型一个较佳实施例中,所述导向座包括支座,所述支座固定安装于所述支撑臂上,所述支座上固定安装有滑块,且所述滑块能够滑动套设于所述导轨上。
7、本实用新型一个较佳实施例中,所述支撑臂的一端开设有卡槽,所述收卷轴的下料端设置于所述卡槽内;所述支撑臂的底部安装有伸缩组件,所述伸缩组件的输出端连接有挡杆,且所述挡杆的一端能够贯穿所述支撑臂延伸至所述卡槽内以对所述收卷轴定位。
8、本实用新型一个较佳实施例中,还包括壳体,所述壳体固定安装于所述分切机上,且所述壳体罩设于所述导向支撑机构和所述驱动机构的外部。
9、本实用新型一个较佳实施例中,所述壳体的内部设置有拖链,所述拖链的一端固定于所述分切机上,另一端固定安装在所述支撑臂上。
10、本实用新型一个较佳实施例中,还包括阻挡所述导向座移动的限位组件,所述限位组件位于所述壳体内。
11、本实用新型一个较佳实施例中,所述限位组件包括固定安装在所述分切机上的限位块,所述限位块的一端旋设有螺栓,所述螺栓的一端能够抵接于所述导向座上。
12、本实用新型解决了背景技术中存在的缺陷,本实用新型的有益效果:
13、(1)本实用新型中,支撑臂在驱动机构的驱动下,可沿着导向支撑机构进行往复移动,以达到控制支撑臂伸缩的目的;通过该结构可代替人力对支撑臂进行操作,从而提高该装置的安全性以及工作效率,避免工作人员在下料时受伤。
14、(2)本实用新型中,通过壳体罩住导向支撑机构以及驱动机构等组件,可防止意外导致机构受损或人员受伤。
技术特征:
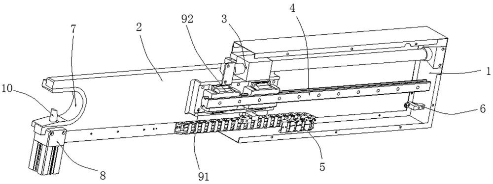
1.一种锂离子电池分切机极片收卷自动支撑臂装置,其特征在于:包括支撑臂(2)和导向支撑机构,所述导向支撑机构安装于分切机的外壁上,所述支撑臂(2)通过导向座滑动连接于所述导向支撑机构上,且所述支撑臂(2)远离所述导向座的一端用于承接收卷轴的下料端;
2.根据权利要求1所述的锂离子电池分切机极片收卷自动支撑臂装置,其特征在于:所述导向支撑机构采用导轨(4),所述导轨(4)固定安装于所述分切机的外壁上,且所述导轨(4)水平设置。
3.根据权利要求2所述的锂离子电池分切机极片收卷自动支撑臂装置,其特征在于:所述导向座包括支座(91),所述支座(91)固定安装于所述支撑臂(2)上,所述支座(91)上固定安装有滑块(92),且所述滑块(92)能够滑动套设于所述导轨(4)上。
4.根据权利要求1所述的锂离子电池分切机极片收卷自动支撑臂装置,其特征在于:所述支撑臂(2)的一端开设有卡槽(7),所述收卷轴的下料端设置于所述卡槽(7)内;所述支撑臂(2)的底部安装有伸缩组件(8),所述伸缩组件(8)的输出端连接有挡杆(10),且所述挡杆(10)的一端能够贯穿所述支撑臂(2)延伸至所述卡槽(7)内以对所述收卷轴定位。
5.根据权利要求1-4中任意一项所述的锂离子电池分切机极片收卷自动支撑臂装置,其特征在于:还包括壳体(1),所述壳体(1)固定安装于所述分切机上,且所述壳体(1)罩设于所述导向支撑机构和所述驱动机构(3)的外部。
6.根据权利要求5所述的锂离子电池分切机极片收卷自动支撑臂装置,其特征在于:所述壳体(1)的内部设置有拖链(5),所述拖链(5)的一端固定于所述分切机上,另一端固定安装在所述支撑臂(2)上。
7.根据权利要求5所述的锂离子电池分切机极片收卷自动支撑臂装置,其特征在于:还包括阻挡所述导向座移动的限位组件(6),所述限位组件(6)位于所述壳体(1)内。
8.根据权利要求7所述的锂离子电池分切机极片收卷自动支撑臂装置,其特征在于:所述限位组件(6)包括固定安装在所述分切机上的限位块,所述限位块的一端旋设有螺栓,所述螺栓的一端能够抵接于所述导向座上。
技术总结
本技术涉及锂离子电池分切机技术领域,并且公开了一种锂离子电池分切机极片收卷自动支撑臂装置,包括支撑臂和导向支撑机构,所述导向支撑机构安装于分切机的外壁上,所述支撑臂通过导向座滑动连接于所述导向支撑机构上,且所述支撑臂远离所述导向座的一端用于承接收卷轴的下料端;所述分切机的外壁上还设置有驱动机构,所述驱动机构能够驱动所述支撑臂沿所述导向支撑机构往复移动;支撑臂在驱动机构的驱动下,可沿着导向支撑机构进行往复移动,以达到控制支撑臂伸缩的目的;通过该结构可代替人力对支撑臂进行操作,从而提高该装置的安全性以及工作效率,避免工作人员在下料时受伤。
技术研发人员:黄琼艳,张海龙,王修涛,周超
受保护的技术使用者:苏州美伦德智能科技有限公司
技术研发日:20230726
技术公布日:2024/2/21