服务热线
180-5003-0233

本发明涉及纺织机械领域,具体涉及一种带有吸尘装置的纱布分切机。
背景技术:
目前,纱布分切机上的分切机构把脱脂纱布大卷放置在机台的退布架的导布辊一侧,纱布穿过滚筒,经过分切刀片,通过滚筒与刀片摩擦将大卷切成各种尺寸的小卷。这种方式虽然方便,但是容易产生大量灰尘颗粒,而且速度越快产生的灰尘颗粒越多,严重污染环境、影响工作人员的身体健康且生产效率不宜提高。
技术实现要素:
本发明的目的在于克服上述技术不足,提出一种带有吸尘装置的纱布分切机,解决现有技术中分切产生线头多影响工作人员身体健康、生产效率低的技术问题。
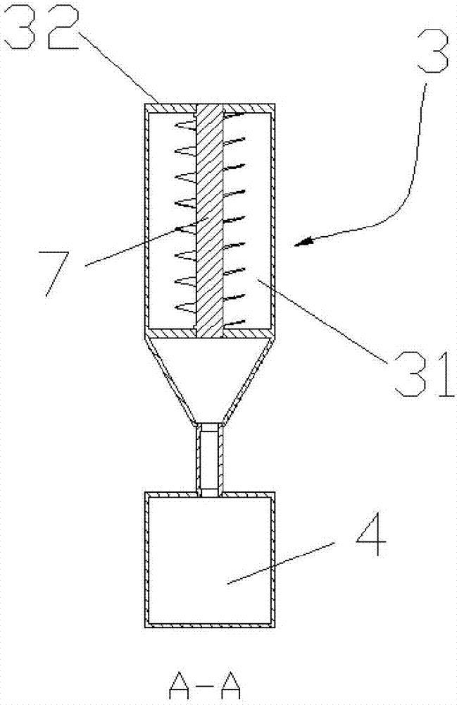
为达到上述技术目的,本发明的技术方案提供一种带有吸尘装置的纱布分切机,包括平行设置的进布导辊和出布导辊,设于所述进布导辊和出布导辊之间的固定杆,滑动连接在所述固定杆上的若干刀片,与所述刀片配合设置的第一吸尘装置,所述刀片倾斜设置使其与设于所述进布导辊和出布导辊之间的纱布形成一个夹角,所述刀片用于分切纱布的一侧为弧形;所述第一吸尘装置包括进风机构、进风管道,所述进风机构为一横截面为梯形的中空壳体,所述进风机构边长较长一侧设有条形进风口、另一侧设有与所述进风管道连通的进风孔。
在本发明的一个实施例中,所述固定杆和出布导辊之间还设有与所述第一吸尘装置相对设置的第二吸尘装置。
在本发明的一个实施例中,所述进风机构垂直于所述条形进风口的截面为梯形。
在本发明的一个实施例中,所述进布导辊和出布导辊水平设置,所述固定杆设于所述进布导辊和出布导辊上边缘连接面上方。
在本发明的一个实施例中,所述第一吸尘装置设于所述刀片下方。
在本发明的一个实施例中,所述夹角为30-90°。
在本发明的一个实施例中,所述第一吸尘装置和第二吸尘装置结构相同。
与现有技术相比,本发明的有益效果包括:通过刀片倾斜设置从而减少分切产生的颗粒灰尘,同时设置与刀片相配合的吸尘装置,将刀片分切产生的灰尘吸走,净化工作环境,如此即使提高分切速度亦不会产生大量灰尘,有利于生产效率的提高。
附图说明
图1是本发明的分切机的连接结构示意图;
图2是本发明的分切机的吸尘装置结构示意图。
具体实施方式
下面结合附图和具体实施例对本发明作进一步详细说明。
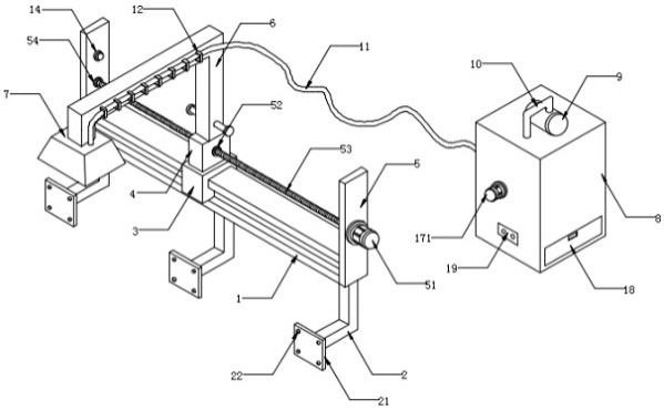
为了解决现有技术中分切产生线头多影响工作人员身体健康、生产效率低的技术问题,本发明的实施例提供了一种带有吸尘装置的纱布分切机,如图1、图2所示,包括平行设置的进布导辊1和出布导辊2,设于所述进布导辊1和出布导辊2之间的固定杆3,滑动连接在所述固定杆3上的若干刀片4,与所述刀片4配合设置的第一吸尘装置5,所述刀片4倾斜设置使其与设于所述进布导辊1和出布导辊2之间的纱布6形成一个夹角,所述刀片4用于分切纱布6的一侧为弧形;所述第一吸尘装置5包括进风机构501、进风管道502,所述进风机构501为一横截面为梯形的中空壳体,所述进风机构501边长较长一侧设有条形进风口5011、另一侧设有与所述进风管道502连通的进风孔5012。
具体的,本实施例采用的为刀刃厚度小于1mm的超薄刀片4,刀片4倾斜设置使其与纱布6形成一个夹角,从而使刀刃仅仅切断纱布6的纬线,并采用弧形刀片配合,使产生的纱布6废料少,灰尘量低,同时设置与刀片4相配合的吸尘装置5,将刀片4分切产生的灰尘吸走,进一步的净化工作环境,如此即使提高分切速度亦不会产生大量灰尘,有利于生产效率的提高。
进一步的,所述固定杆3和出布导辊2之间还设有与所述第一吸尘装置5相对设置的第二吸尘装置7。分切过程中会产生少量的纱布6颗粒灰尘落于纱布6上层,该部分灰尘则通过第二吸尘装置7吸走,再次提高了空气质量。
进一步的,所述进风机构501垂直于所述条形进风口5011的截面为梯形。
进一步的,所述进布导辊1和出布导辊2水平设置,所述固定杆3设于所述进布导辊1和出布导辊2上边缘连接面上方。
进一步的,所述第一吸尘装置5设于所述刀片4下方。
进一步的,所述夹角为30-90°,优选45°。
进一步的,所述第一吸尘装置5和第二吸尘装置7结构相同。
以上所述本发明的具体实施方式,并不构成对本发明保护范围的限定。任何根据本发明的技术构思所做出的各种其他相应的改变与变形,均应包含在本发明权利要求的保护范围内。
技术特征:
技术总结
本发明公开一种带有吸尘装置的纱布分切机,属于纺织机械领域。该纱布分切机包括平行设置的进布导辊和出布导辊,设于进布导辊和出布导辊之间的固定杆,滑动连接在固定杆上的若干刀片,与刀片配合设置的第一吸尘装置,刀片倾斜设置使其与设于进布导辊和出布导辊之间的纱布形成一个夹角,刀片用于分切纱布的一侧为弧形;第一吸尘装置包括进风机构、进风管道,进风机构为一横截面为梯形的中空壳体,进风机构边长较长一侧设有条形进风口、另一侧设有与进风管道连通的进风孔。本发明减少分切产生的颗粒灰尘且设置可将灰尘吸走的吸尘装置,保障了工作环境,有助于工作人员的身体健康和生产效率的提高。
技术研发人员:不公告发明人
受保护的技术使用者:孙琼鹏
技术研发日:2016.05.23
技术公布日:2017.12.01