服务热线
180-5003-0233

本实用新型涉及锂电池技术领域,具体涉及一种锂电池隔膜分条机收卷滑差环用边料活动卷芯。
背景技术:
随着高性能充电电池在便携式电子设备、移动产品和通讯设备上需求的不断增加,作为锂电池核心部件之一的锂电池隔膜,也出现了迅猛发展的势头。目前市售的锂电池隔膜主要是以聚乙烯和聚丙烯为材料的聚烯烃微孔膜。
聚烯烃锂电池微孔膜是用于锂电池内的关键材料,常见的锂电池使用范围有动力、储能、电子数码类等领域,隔膜由于需要的宽度不同因此必须通过分条机才能实现。
在分条机分切隔膜的生产过程中,除了成品卷以外两端必然会产生两个边料卷,由于边料是废料,但边料活动卷芯还有重复利用价值,传统常规做法一般有两种:
一是在每轮分切结束后把边料活动卷芯上的废料用刀割掉,把卷芯保留重复使用;这种方法费时费工切有安全风险;
二是直接从机台上卸下来连同卷芯及废膜一起处理;这种方法浪费卷芯;
综上所述,以往针对隔膜边料卷的边料分切存在安全风险以及浪费的问题。
技术实现要素:
本实用新型要解决的技术问题是:克服现有技术的不足,提供一种锂电池隔膜分条机收卷滑差环用边料活动卷芯,适于解决背景技术的问题。
本实用新型解决其技术问题所采用的技术方案是:一种锂电池隔膜分条机收卷滑差环用边料活动卷芯,包括多个夹头,各个夹头依次首尾连接形成环形的卷芯,相邻两个夹头之间做滑动连接,以使所述卷芯可做径向尺寸调节。
进一步的,所述夹头呈弧形结构;
所述夹头一端开设母口,所述夹头另一端形成公凸,所述公凸内开设调节连接槽,所述母口内固定设置定位销,所述定位销与母口底部之间形成第一调整间隙;
相邻两个夹头之间的连接方式为:第一夹头的公凸插入第二夹头的母口内,第二夹头母口内的定位销从第一夹头公凸的调节连接槽中穿过,第一夹头的公凸适于根据第二夹头母口内的第一调整间隙做弧向位置调节;
所述卷芯适于根据各个第一调整间隙做径向尺寸调节。
进一步的,所述母口的宽度大于公凸的宽度,以使所述夹头公凸在母口里面做宽度方向调节的第二调整间隙。
进一步的,所述夹头的数量为3个。
进一步的,各个所述夹头由单个塑料环分切形成。
本实用新型的有益效果是:
本实用新型的活动卷芯在针对锂电池隔膜成品卷的边料卷操作更方便,省时省力不浪费卷芯,从而提高工作效率减少劳动强度。
通过三个片夹头及定位销的组合,形成了一个可大可小的活动卷芯,开机时把活动卷芯套在隔膜分条机滑差环上,滑差环转动时通过离心力的作用把活动卷芯撑开并保持涨紧状态,正常收卷结束后,取出边料活动卷芯并让卷芯直径变小,这样卷芯上的边料就可以轻易与卷芯脱开,活动卷芯可以再次重逢使用。
附图说明
下面结合附图对本实用新型进一步说明。
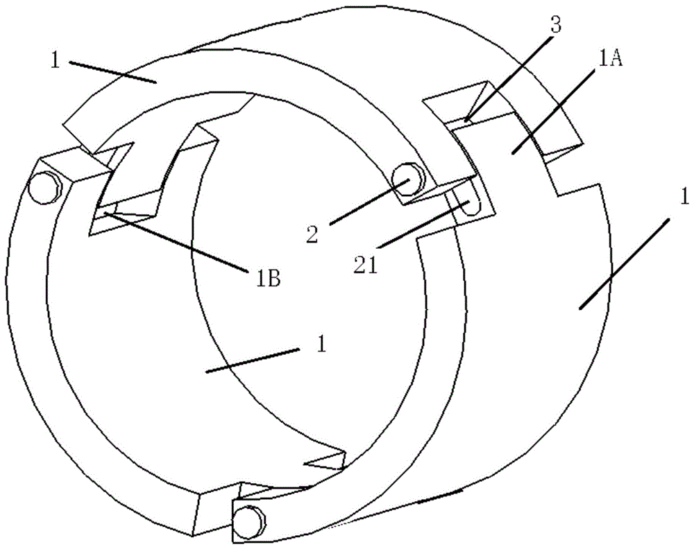
图1是本实用新型卷芯的示意图;
图2是单片夹头示意图;
其中,1、夹头,1a、公凸,1b、母口,2、定位销,21、调节连接槽,3、第一调整间隙。
具体实施方式
现在结合附图对本实用新型作进一步的说明。这些附图均为简化的示意图仅以示意方式说明本实用新型的基本结构,因此其仅显示与本实用新型有关的构成。
如图1图2所示,一种锂电池隔膜分条机收卷滑差环用边料活动卷芯,包括3个夹头1,3个夹头1依次首尾连接形成环形的卷芯,相邻两个夹头1之间做滑动连接,以使所述卷芯可做径向尺寸调节。
具体的,夹头1呈弧形结构;所述夹头1一端开设母口1b,所述夹头1另一端形成公凸1a,所述公凸1a内开设调节连接槽21,所述母口1b内固定设置定位销2,所述定位销2与母口1b底部之间形成第一调整间隙3。
相邻两个夹头1(假设为第一夹头和第二夹头)之间的连接方式为:第一夹头的公凸1a插入第二夹头的母口1b内,第二夹头母口1b内的定位销2从第一夹头公凸1a的调节连接槽21中穿过,第一夹头的公凸1a适于根据第二夹头母口1b内的第一调整间隙3做弧向位置调节;所述卷芯适于根据各个第一调整间隙3做径向尺寸调节。
具体的,母口1b的宽度大于公凸1a的宽度,以使所述夹头1公凸1a在母口1b里面做宽度方向调节的第二调整间隙。第二调整间隙的存在可以使相邻两个夹头1之间更易调节位置。
具体的,本实施例中,各个所述夹头1由单个塑料环分切形成。夹头1采用强度较高的非金属材料加工而成;优选地采用塞钢圆棒整体车床加工成所需内、外直径,内径常用尺寸为3英寸。
作业时,通过三个夹头1及定位销2的组合,形成了一个可大可小的活动卷芯,开机时把活动卷芯套在隔膜分条机滑差环上,滑差环转动时通过离心力的作用把活动卷芯撑开并保持涨紧状态,正常收卷结束后,取出边料活动卷芯并让卷芯直径变小,这样卷芯上的边料就可以轻易与卷芯脱开,活动卷芯可以再次重逢使用。
以上述依据本实用新型的理想实施例为启示,通过上述的说明内容,相关工作人员完全可以在不偏离本项实用新型技术思想的范围内,进行多样的变更以及修改。本项实用新型的技术性范围并不局限于说明书上的内容,必须要根据权利要求范围来确定其技术性范围。
技术特征:
1.一种锂电池隔膜分条机收卷滑差环用边料活动卷芯,其特征是,包括多个夹头,各个夹头依次首尾连接形成环形的卷芯,相邻两个夹头之间做滑动连接,以使所述卷芯可做径向尺寸调节。
2.根据权利要求1所述的锂电池隔膜分条机收卷滑差环用边料活动卷芯,其特征是,所述夹头呈弧形结构;
所述夹头一端开设母口,所述夹头另一端形成公凸,所述公凸内开设调节连接槽,所述母口内固定设置定位销,所述定位销与母口底部之间形成第一调整间隙;
相邻两个夹头之间的连接方式为:第一夹头的公凸插入第二夹头的母口内,第二夹头母口内的定位销从第一夹头公凸的调节连接槽中穿过,第一夹头的公凸适于根据第二夹头母口内的第一调整间隙做弧向位置调节;
所述卷芯适于根据各个第一调整间隙做径向尺寸调节。
3.根据权利要求2所述的锂电池隔膜分条机收卷滑差环用边料活动卷芯,其特征是,所述母口的宽度大于公凸的宽度,以使所述夹头公凸在母口里面做宽度方向调节的第二调整间隙。
4.根据权利要求1所述的锂电池隔膜分条机收卷滑差环用边料活动卷芯,其特征是,所述夹头的数量为3个。
5.根据权利要求1所述的锂电池隔膜分条机收卷滑差环用边料活动卷芯,其特征是,各个所述夹头由单个塑料环分切形成。
技术总结
本实用新型涉及一种锂电池隔膜分条机收卷滑差环用边料活动卷芯,包括多个夹头,各个夹头依次首尾连接形成环形的卷芯,相邻两个夹头之间做滑动连接,以使所述卷芯可做径向尺寸调节。本实用新型的活动卷芯在针对锂电池隔膜成品卷的边料卷操作更方便,省时省力不浪费卷芯,从而提高工作效率减少劳动强度。
技术研发人员:黄献中;孙媛媛;霍斌;景小云
受保护的技术使用者:江苏安瑞达新材料有限公司
技术研发日:2019.10.17
技术公布日:2020.06.02