服务热线
180-5003-0233

1.本实用新型属于造纸设备领域,用于收集纸卷分切时所产生的粉尘,具体涉及一种用于卷纸分切机用的集尘装置。
背景技术:
2.在造纸时,需要把卷取的母卷分切成客户需要的直径,并进行计量称重、标识后输送入库,在分切母卷时,主要依靠圆盘切刀将母卷进行分切,在分切时会有粉尘产生,这些粉尘会沾染在纸品上,从而在后期影响纸品正常使用,比如会对印刷产品的质量造成影响。
技术实现要素:
3.本实用新型的目的在于:提供一种用于卷纸分切机用的集尘装置,旨在解决一种分切纸卷时所产生的粉尘沾染在纸品上的问题。
4.本实用新型采用的技术方案如下:包括机架、集尘机构、旋转接头、气管、集尘管、安装在所述机架上的切刀辊轴、套接在所述切刀辊轴上的刀架以及安装在所述刀架上的切刀,所述集尘机构用以收集所述切刀切开纸张时所产生的灰尘,集尘机构套接在刀架上,集尘机构与切刀之间形成集尘腔,切刀辊轴上沿其轴线方向开有横孔,沿其径线方向开有与所述横孔连通的纵孔,所述纵孔与所述集尘腔通过所述集尘管连通,所述旋转接头安装在切刀辊轴的端部,旋转接头远离切刀辊轴的一端连通有所述气管,气管的另一端与负压产生装置连通。
5.进一步的,所述集尘机构包括呈圆环盘状的安装座以及用以安装所述安装座的集尘盘,安装座与所述切刀之间形成集尘腔,所述集尘盘套接在所述刀架的外侧,安装座的内环卡接在集尘盘外侧上。
6.进一步的,还包括滤网,所述滤网呈圆环状,滤网沿所述安装座和所述集尘盘的同一径线平面设置,滤网的内环卡接在集尘盘外侧,滤网的外环卡接在安装座的内侧。
7.进一步的,所述安装座和所述滤网均由两部分组成,每部分均呈半圆环状。
8.综上所述,由于采用了上述技术方案,本实用新型的有益效果是:
9.通过集尘机构的设置,能够及时的将切刀分切纸卷时产生的粉尘收集,从而避免粉尘沾染在纸品上。
附图说明:
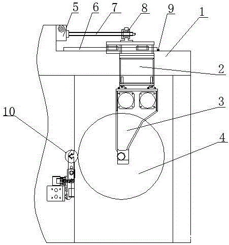
10.图1是本实用新型的结构示意图;
11.图2是本实用新型中集尘机构的主视图;
12.图3是本实用新型中集尘机构的左视图。
13.附图标记说明:
14.1、机架;2、切刀;3、刀架;4、切刀辊轴;5、集尘机构;51、安装座;52、集尘盘;53、滤网;6、横孔;7、旋转接头;8、气管;9、纵孔;10、集尘管。
具体实施方式
15.为了使本实用新型的目的、技术方案及优点更加清楚明白,以下结合附图及实施例,对本实用新型进行进一步详细说明。
16.实施例一
17.参看图1所示:包括机架1、集尘机构5、旋转接头7、气管8、集尘管10、安装在机架1上的切刀辊轴4、套接在切刀辊轴4上的刀架3以及安装在刀架3上的切刀2,集尘机构5用以收集切刀2切开纸张时所产生的灰尘,集尘机构5套接在刀架3上,集尘机构5与切刀2之间形成集尘腔,切刀辊轴4上沿其轴线方向开有横孔6,沿其径线方向开有与横孔6连通的纵孔9,纵孔9与集尘腔通过集尘管10连通,旋转接头7安装在切刀辊轴4的端部,旋转接头7远离切刀辊轴4的一端连通有气管8,气管8的另一端与负压产生装置连通。
18.在实施例一中,在分切纸卷时,固定在分切机机架1上的切刀辊轴4带动固定在刀架3上的切刀2转动对纸品进行分切,安装在刀架3上的集尘机构5与切刀2之间形成集尘腔;气管8一端与负压产生装置连通,另一端通过旋转接头7与沿切刀辊轴4上开有的横孔6连通,横孔6通过纵孔9和集尘管10与集尘腔连通,因此,在负压产生装置工作时,可以使集尘腔内产生负压,将切刀2切割纸品时所产生的粉尘所收集。
19.实施例二
20.参看图2所示,集尘机构5包括呈圆环盘状的安装座51以及用以安装安装座51的集尘盘52,安装座51与切刀2之间形成集尘腔,集尘盘52套接在刀架3的外侧,安装座51的内环卡接在集尘盘52外侧上。
21.在实施例二中,基于实施例一,呈圆环盘状的安装座51与切刀2之间形成集尘腔,安装座51通过集尘盘52固定在刀架3上,并且安装座51卡接在集尘盘52上,因此在固定安装座51的同时,还便于将安装座51从集尘盘52上拆卸下来,对其进行清洗。
22.实施例三
23.参看图2所示,还包括滤网53,滤网53呈圆环状,滤网53沿安装座51和集尘盘52的同一径线平面设置,滤网53的内环卡接在集尘盘52外侧,滤网53的外环卡接在安装座51的内侧。
24.在实施例三中,基于实施例二,通过在集尘盘52和安装座51之间设置滤网53,便于通过滤网53将粉尘过滤,防止横孔6、旋转接头7、气管8、纵孔9和集尘管10粉尘堵塞。
25.实施例四
26.参看图3所示,安装座51和滤网53均由两部分组成,每部分均呈半圆环状。
27.在实施例四中,基于实施例三,在滤网53使用一段时间后,需要对其进行更换,因此,将安装座51和滤网53均设计由两半圆环状组装的结构,便于在将安装座51从集尘盘52上拆卸下后,对滤网53进行更换。
技术特征:
1.一种用于卷纸分切机用的集尘装置,包括机架(1)、安装在所述机架(1)上的切刀辊轴(4)、套接在所述切刀辊轴(4)上的刀架(3)以及安装在所述刀架(3)上的切刀(2),其特征在于,还包括集尘机构(5)、旋转接头(7)、气管(8)和集尘管(10),所述集尘机构(5)用以收集所述切刀(2)切开纸张时所产生的灰尘,集尘机构(5)套接在刀架(3)上,集尘机构(5)与切刀(2)之间形成集尘腔,切刀辊轴(4)上沿其轴线方向开有横孔(6),沿其径线方向开有与所述横孔(6)连通的纵孔(9),所述纵孔(9)与所述集尘腔通过所述集尘管(10)连通,所述旋转接头(7)安装在切刀辊轴(4)的端部,旋转接头(7)远离切刀辊轴(4)的一端连通有所述气管(8),气管(8)的另一端与负压产生装置连通。2.根据权利要求1所述的一种用于卷纸分切机用的集尘装置,其特征在于:所述集尘机构(5)包括呈圆环盘状的安装座(51)以及用以安装所述安装座(51)的集尘盘(52),安装座(51)与所述切刀(2)之间形成集尘腔,所述集尘盘(52)套接在所述刀架(3)的外侧,安装座(51)的内环卡接在集尘盘(52)外侧上。3.根据权利要求2所述的一种用于卷纸分切机用的集尘装置,其特征在于:还包括滤网(53),所述滤网(53)呈圆环状,滤网(53)沿所述安装座(51)和所述集尘盘(52)的同一径线平面设置,滤网(53)的内环卡接在集尘盘(52)外侧,滤网(53)的外环卡接在安装座(51)的内侧。4.根据权利要求3所述的一种用于卷纸分切机用的集尘装置,其特征在于:所述安装座(51)和所述滤网(53)均由两部分组成,每部分均呈半圆环状。
技术总结
本实用新型属于造纸设备领域,用于收集纸卷分切时所产生的粉尘,具体涉及一种用于卷纸分切机用的集尘装置,包括机架、安装在机架上的切刀辊轴、套接在切刀辊轴上的刀架以及安装在刀架上的切刀,其特征在于,还包括集尘机构、旋转接头、气管和集尘管,集尘机构用以收集切刀切开纸张时所产生的灰尘,集尘机构套接在刀架上,集尘机构与切刀之间形成集尘腔,切刀辊轴上沿其轴线方向开有横孔,沿其径线方向开有与横孔连通的纵孔,纵孔与集尘腔通过集尘管连通,旋转接头安装在切刀辊轴的端部,旋转接头远离切刀辊轴的一端连通有气管。本实用新型通过集尘机构的设置,能够及时的将切刀分切纸卷时产生的粉尘收集,从而避免粉尘沾染在纸品上。上。上。
技术研发人员:王伟 邵启超 张鹏 杜威 张二毛 刘文
受保护的技术使用者:驻马店市白云纸业有限公司
技术研发日:2020.12.24
技术公布日:2021/10/29