服务热线
180-5003-0233

本实用新型涉及分切机领域,具体涉及一种分切机的自动调刀机构。
背景技术:
分切机是一种将宽幅纸张、云母带或薄膜分切成多条窄幅材料的机械设备,常用于造纸机械、电线电缆云母带及印刷包装机械。分切机主要运用于:云母带、纸张、绝缘材料及薄膜分切、特别适宜于窄带(绝缘材料、云母带、薄膜等等)的分切。现有技术中,分切机进行调刀时需要操作员拿尺规一对一地测量对刀,且基本需要半个小时,其效率低下且精度差,又由于分切机其分切的产品种类多,且产品的规格不一,每次更换产品规格都需要重新人工对刀,生产效率低下,有待解决。
技术实现要素:
鉴于背景技术的不足,本实用新型所要解决的技术问题是提供一种分切机的自动调刀机构,可以实现高效、准确地调刀的技术效果。
为实现上述目的,本实用新型提供了如下技术方案:
分切机的自动调刀机构,包括设于机架上的上切刀轴与下切刀轴,所述上切刀轴可移动地设在所述下切刀轴的上方,所述上切刀轴上套设有上切刀,所述下切刀轴上套设有下切刀,其特征在于:所述下切刀轴的下方设有下切刀定位摆臂,所述下切刀定位摆臂铰接在连接板上,所述连接板上设有光电感应器,所述连接板螺纹连接在丝杆上,所述丝杆的两轴端转动设于所述机架上且其中一端与伺服电机传动连接。
在所述丝杆下方设有导向杆,所述连接座滑动套设在所述导向杆的外圆上。
本实用新型的这种结构,有效解决了以往调刀效率低下且精度差的技术问题,使得调刀十分方便快捷,操作员只要输入相应的规格尺寸,下切刀定位摆臂将移动到相应的位置,将下切刀定位摆臂转动靠在下切刀轴上,再移动下切刀使其紧靠下切刀定位摆臂,实现准确定位下切刀的技术效果,最后调节上切刀,使其靠紧下切刀,完成对刀。
附图说明
本实用新型有如下附图:
图1为本实用新型的结构示意图;
图2为本实用新型的侧视图。
具体实施方式
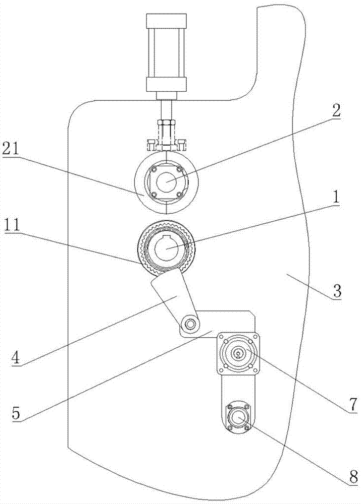
如图所示,分切机的自动调刀机构,包括套设有下切刀11的下切刀轴1,所述下切刀轴1上方设有上切刀轴2,上切刀轴2由气缸推动作靠近或远离下切刀轴1的活动,所述上切刀轴2上套设有上切刀21,所述上切刀21通过螺丝旋紧在上切刀轴2上,所述下切刀轴1的下方设有下切刀定位摆臂4,所述下切刀定位摆臂4铰接在连接板5上,所述连接板5上设有光电感应器51。所述连接板5螺纹连接在丝杆6上,所述丝杆6的轴两端转动设于机架3上且右侧轴端与伺服电机7传动连接。在所述丝杆6下方设有导向杆8,所述连接座5滑动套设在所述导向杆8的外圆上。导向杆8能对连接板5进行限位并导向,使连接板5的移动更加平稳并防止其发生偏移。
调刀时,在操控屏上输入指定的规格尺寸,启动伺服电机7,伺服电机7驱动丝杆6转动,丝杆6传动连接座5在丝杆6上向右移动,当连接板5上的光电感应器51感应到纸张边时,计算器归零。连接板5继续右移,当其移动量达到指定的规格尺寸时,伺服电机7停止驱动。操作员向上转动下切刀定位摆臂4,使其靠在下切刀轴1上,再推动相应的下切刀11并使其紧靠下切刀定位摆臂4,完成第一个下切刀11的定位。再驱动伺服电机7,使其带动连接板5右移并停留在下个规格尺寸,完成第二个下切刀11的定位,重复以上过程直到所有下切刀11完成定位,最后伺服电机7带动丝杆6反转,使连接板5回至初始位置。完成下切刀11的定位后,调节上切刀轴2的位置使其靠近下切刀轴1,再推动上切刀21靠紧其对应的下切刀11,完成上刀定位。整个调刀过程完毕。
综上,该设备有效解决了以往调刀效率低下且精度差的技术问题,实现率调刀高效且精准的调刀的技术目的。

技术特征:
1.分切机的自动调刀机构,包括设于机架上的上切刀轴与下切刀轴,所述上切刀轴可移动地设在所述下切刀轴的上方,所述上切刀轴上套设有上切刀,所述下切刀轴上套设有下切刀,其特征在于:所述下切刀轴的下方设有下切刀定位摆臂,所述下切刀定位摆臂铰接在连接板上,所述连接板上设有光电感应器,所述连接板螺纹连接在丝杆上,所述丝杆的两轴端转动设于所述机架上且其中一端与伺服电机传动连接。
2.根据权利要求1所述的分切机的自动调刀机构,其特征在于:在所述丝杆下方设有导向杆,所述连接座滑动套设在所述导向杆的外圆上。
技术总结
本实用新型公开了分切机的自动调刀机构,包括设于机架上的上切刀轴与下切刀轴,所述上切刀轴可移动地设在所述下切刀轴的上方,所述上切刀轴上套设有上切刀,所述下切刀轴上套设有下切刀,其特征在于:所述下切刀轴的下方设有下切刀定位摆臂,所述下切刀定位摆臂铰接在连接板上,所述连接板上设有光电感应器,所述连接板螺纹连接在丝杆上,所述丝杆的两轴端转动设于所述机架上且其中一端与伺服电机传动连接。本实用新型可以实现快捷、准确地调刀的技术效果,有效提高生产效率。
技术研发人员:陈晓东
受保护的技术使用者:温州万润机械有限公司
文档号码:201721240652
技术研发日:2017.09.26
技术公布日:2018.05.15