服务热线
180-5003-0233

本实用新型涉及卷筒纸分切机技术领域,尤其涉及一种可测量纸张长度的卷筒纸分切机。
背景技术:
卷筒纸分切机是卷筒分切设备中功能很强大一款,具有运转平稳、操作方便、速度快,精度高,适应性强、产量高等特性。也可以称呼为卷筒纸切纸机,高速分切机,高速裁切机。在造纸,纸业贸易,印刷行业应用广泛。
现有的大部分卷筒纸分切机不具备测量功能,在使用的过程中需要操作人员根据时间推算长度,当机器因特殊原因停止时,测量误差过大,且少部分具备测量功能的卷筒纸分切机在测量完成后需要操作人员手动进行切割。
技术实现要素:
本实用新型的目的是为了解决现有技术中存在的缺点,而提出的一种可测量纸张长度的卷筒纸分切机。
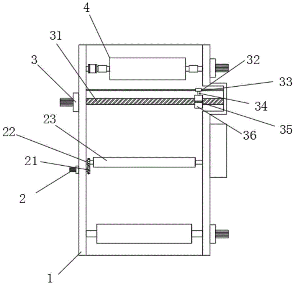
为了实现上述目的,本实用新型采用了如下技术方案:一种可测量纸张长度的卷筒纸分切机,包括凹型架,所述凹型架内表壁依次转动连接有活动辊、辅助辊、丝杠和收集机构,所述凹型架外表壁螺栓固定有电控箱;
所述凹型架内表壁位于辅助辊一侧转动连接有齿轮盘,所述辅助辊沿长度方向一端侧壁焊接有与齿轮盘啮合连接的齿轮,所述凹型架外表壁螺栓固定有第一伺服电机,所述第一伺服电机输出轴通过联轴器与齿轮盘转动连接;
所述丝杠上螺纹连接有丝杠螺母,所述丝杠螺母上表面焊接有切割刀,所述凹型架内表壁位于丝杠一侧焊接有限位杆,所述限位杆上套接有活动座,所述活动座上焊接有与丝杠螺母连接的连接杆,所述凹型架外表壁螺栓固定有第二伺服电机,所述第二伺服电机输出轴通过联轴器与丝杠转动连接;
所述收集机构包括固定轴、安装轴和收集辊,所述收集辊沿长度方向两侧壁中心处焊接有安装轴,所述安装轴上卡接有与凹型架内表壁连接的固定轴,所述固定轴外表壁开设有第一卡槽,所述安装轴外表壁开设有配合第一卡槽卡接使用的第二卡槽,一侧上所述固定轴上套接有套管,所述套管上套接有测量机构;
所述测量机构包括测量架、指示块和螺纹杆,所述测量架水平端螺纹连接有螺纹杆,所述螺纹杆底部与滑动在测量架内部的指示块转动连接,所述指示块上嵌设安装有红外线传感器。
优选的,所述指示块沿长度方向一端为三角形结构,所述测量架位于指示块三角形结构的一侧开设有刻度槽。
优选的,所述凹型架外表壁螺栓固定有第三伺服电机,所述第三伺服电机输出轴通过联轴器与固定轴转动连接。
优选的,所述凹型架外表壁螺栓固定有第四伺服电机,所述第四伺服电机输出轴通过联轴器与活动辊转动连接。
优选的,所述辅助辊共设置有两个,两个所述辅助辊通过齿轮啮合连接,且两个辅助辊处于同一竖直线。
优选的,所述电控箱包括箱体、plc控制器和信号接收器,所述箱体内部螺栓固定有plc控制器和信号接收器,所述箱体上表面螺栓固定有蜂鸣报警器。
优选的,所述红外线传感器的输出端与信号接收器的输出端电性连接,信号接收器的输出端与plc控制器的输入端电性连接,所述plc控制器的输出端分别与第一伺服电机的输入端、第二伺服电机的输入端、第三伺服电机的输入端、第四伺服电机的输入端和蜂鸣报警器的输入端电性连接。
与现有技术相比,本实用新型的有益效果是:
1、本实用新型中,该一种可测量纸张长度的卷筒纸分切机,通过测量机构的设置,使得收集辊上纸张在缠绕时可以测量长度,当纸张缠绕到指定长度时,第一伺服电机、第三伺服电机、第四伺服电机自动关闭,并开启蜂鸣报警器对操作人员进行提示,从而提高了该装置在使用时的实用性。
2、本实用新型中,该一种可测量纸张长度的卷筒纸分切机,通过转动丝杠,使得丝杠螺母水平方向移动,在切割刀的作用下,对纸张进行切割,当不使用时,在丝杠的作用下,将切割刀移动到凹型架的凹槽内,相对于手动切割,该装置在切割时保证了纸张切口的整齐,和切割刀在收纳时的安全性。
附图说明
图1为本实用新型提出的一种可测量纸张长度的卷筒纸分切机的俯视图;
图2为本实用新型提出的一种可测量纸张长度的卷筒纸分切机的立体图;
图3为本实用新型提出的一种可测量纸张长度的卷筒纸分切机的收集辊结构示意图;
图4为本实用新型提出的一种可测量纸张长度的卷筒纸分切机的测量机构结构示意图;
图5为本实用新型提出的一种可测量纸张长度的卷筒纸分切机的程序框示意图。
图例说明:
1、凹型架;2、第一伺服电机;21、齿轮盘;22、齿轮;23、辅助辊;3、第二伺服电机;31、丝杠;32、限位杆;33、活动座;34、连接杆;35、切割刀;36、丝杠螺母;4、收集机构;41、第三伺服电机;42、固定轴;43、限位螺母;44、第一卡槽;45、第二卡槽;46、安装轴;47、套管;48、收集辊;5、测量机构;51、测量架;52、刻度槽;53、指示块;54、螺纹杆;55、红外线传感器;6、电控箱;61、箱体;62、plc控制器;63、信号接收器;64、蜂鸣报警器;7、活动辊;71、第四伺服电机。
具体实施方式
下面将结合本实用新型实施例中的附图,对本实用新型实施例中的技术方案进行清楚、完整地描述,显然,所描述的实施例仅仅是本实用新型一部分实施例,而不是全部的实施例。基于本实用新型中的实施例,本领域普通技术人员在没有做出创造性劳动前提下所获得的所有其他实施例,都属于本实用新型保护的范围。
在本实用新型的描述中,需要说明的是,术语“中心”、“上”、“下”、“左”、“右”、“竖直”、“水平”、“内”、“外”等指示的方位或位置关系为基于附图所示的方位或位置关系,仅是为了便于描述本实用新型和简化描述,而不是指示或暗示所指的装置或元件必须具有特定的方位、以特定的方位构造和操作,因此不能理解为对本实用新型的限制;术语“第一”、“第二”、“第三”仅用于描述目的,而不能理解为指示或暗示相对重要性;此外,除非另有明确的规定和限定,术语“安装”、“相连”、“连接”应做广义理解,例如,可以是固定连接,也可以是可拆卸连接,或一体地连接;可以是机械连接,也可以是电连接;可以是直接相连,也可以通过中间媒介间接相连,可以是两个元件内部的连通。对于本领域的普通技术人员而言,可以具体情况理解上述术语在本实用新型中的具体含义。
参照图1-5,一种可测量纸张长度的卷筒纸分切机,包括凹型架1,凹型架1内表壁依次转动连接有活动辊7、辅助辊23、丝杠31和收集机构4,凹型架1外表壁螺栓固定有电控箱6;
凹型架1内表壁位于辅助辊23一侧转动连接有齿轮盘21,辅助辊23沿长度方向一端侧壁焊接有与齿轮盘21啮合连接的齿轮22,凹型架1外表壁螺栓固定有第一伺服电机2,第一伺服电机2输出轴通过联轴器与齿轮盘21转动连接;
丝杠31上螺纹连接有丝杠螺母36,丝杠螺母36上表面焊接有切割刀35,凹型架1内表壁位于丝杠31一侧焊接有限位杆32,限位杆32上套接有活动座33,活动座33上焊接有与丝杠螺母36连接的连接杆34,凹型架1外表壁螺栓固定有第二伺服电机3,第二伺服电机3输出轴通过联轴器与丝杠31转动连接;
收集机构4包括固定轴42、安装轴46和收集辊48,收集辊48沿长度方向两侧壁中心处焊接有安装轴46,安装轴46上卡接有与凹型架1内表壁连接的固定轴42,固定轴42外表壁开设有第一卡槽44,安装轴46外表壁开设有配合第一卡槽44卡接使用的第二卡槽45,一侧上固定轴42上套接有套管47,套管47上套接有测量机构5;
测量机构5包括测量架51、指示块53和螺纹杆54,测量架51水平端螺纹连接有螺纹杆54,螺纹杆54底部与滑动在测量架51内部的指示块53转动连接,指示块53上嵌设安装有红外线传感器55。
指示块53沿长度方向一端为三角形结构,测量架51位于指示块53三角形结构的一侧开设有刻度槽52。
凹型架1外表壁螺栓固定有第三伺服电机41,第三伺服电机41输出轴通过联轴器与固定轴42转动连接。
凹型架1外表壁螺栓固定有第四伺服电机71,第四伺服电机71输出轴通过联轴器与活动辊7转动连接。
辅助辊23共设置有两个,两个辅助辊23通过齿轮22啮合连接,且两个辅助辊23处于同一竖直线。
电控箱6包括箱体61、plc控制器62和信号接收器63,箱体61内部螺栓固定有plc控制器62和信号接收器63,箱体61上表面螺栓固定有蜂鸣报警器64。
红外线传感器55的输出端与信号接收器63的输出端电性连接,信号接收器63的输出端与plc控制器62的输入端电性连接,plc控制器62的输出端分别与第一伺服电机2的输入端、第二伺服电机3的输入端、第三伺服电机41的输入端、第四伺服电机71的输入端和蜂鸣报警器64的输入端电性连接。
凹型架1上设置有配合切割刀35使用的收纳槽,防止在不使用时对操作人员进行误伤,保证了该装置在使用时的安全性。
测量机构5在套管47的作用下,不会因为收集辊48转动而跟着转动,使得测量机构5始终保持竖直向下的状态。
工作原理:该一种可测量纸张长度的卷筒纸分切机使用时,将活动辊7上的纸张通过辅助辊23夹持后绕接在收集辊48上,当固定完成后,旋转螺纹杆54,使得指示块53上下移动,当移动到指定刻度时,通过电控箱6,打开第一伺服电机2、第三伺服电机41和第四伺服电机71,使得活动辊7、辅助辊23和收集辊48,同时旋转工作,当收集辊48上的纸张达到指定厚度时,红外线传感器55接收到信号后发送给信号接收器63,并通过信号接收器63反馈给plc控制器62,在plc控制器62的作用下,第一伺服电机2、第三伺服电机41和第四伺服电机71自动关闭,同时蜂鸣报警器64和第二伺服电机3开始工作,在丝杠31作用下,切割刀35水平方向移动,将纸张切断后,重新移动到凹型架1设置的槽内,当操作人员听到蜂鸣报警器64警报声后,通过旋转限位螺母43将卡接在固定轴42上的收集辊48取下并更换新的收集辊48。
以上所述,仅为本实用新型较佳的具体实施方式,但本实用新型的保护范围并不局限于此,任何熟悉本技术领域的技术人员在本实用新型揭露的技术范围内,根据本实用新型的技术方案及其实用新型构思加以等同替换或改变,都应涵盖在本实用新型的保护范围之内。
技术特征:
1.一种可测量纸张长度的卷筒纸分切机,包括凹型架(1),其特征在于,所述凹型架(1)内表壁依次转动连接有活动辊(7)、辅助辊(23)、丝杠(31)和收集机构(4),所述凹型架(1)外表壁螺栓固定有电控箱(6);
所述凹型架(1)内表壁位于辅助辊(23)一侧转动连接有齿轮盘(21),所述辅助辊(23)沿长度方向一端侧壁焊接有与齿轮盘(21)啮合连接的齿轮(22),所述凹型架(1)外表壁螺栓固定有第一伺服电机(2),所述第一伺服电机(2)输出轴通过联轴器与齿轮盘(21)转动连接;
所述丝杠(31)上螺纹连接有丝杠螺母(36),所述丝杠螺母(36)上表面焊接有切割刀(35),所述凹型架(1)内表壁位于丝杠(31)一侧焊接有限位杆(32),所述限位杆(32)上套接有活动座(33),所述活动座(33)上焊接有与丝杠螺母(36)连接的连接杆(34),所述凹型架(1)外表壁螺栓固定有第二伺服电机(3),所述第二伺服电机(3)输出轴通过联轴器与丝杠(31)转动连接;
所述收集机构(4)包括固定轴(42)、安装轴(46)和收集辊(48),所述收集辊(48)沿长度方向两侧壁中心处焊接有安装轴(46),所述安装轴(46)上卡接有与凹型架(1)内表壁连接的固定轴(42),所述固定轴(42)外表壁开设有第一卡槽(44),所述安装轴(46)外表壁开设有配合第一卡槽(44)卡接使用的第二卡槽(45),一侧上所述固定轴(42)上套接有套管(47),所述套管(47)上套接有测量机构(5);
所述测量机构(5)包括测量架(51)、指示块(53)和螺纹杆(54),所述测量架(51)水平端螺纹连接有螺纹杆(54),所述螺纹杆(54)底部与滑动在测量架(51)内部的指示块(53)转动连接,所述指示块(53)上嵌设安装有红外线传感器(55)。
2.根据权利要求1所述的一种可测量纸张长度的卷筒纸分切机,其特征在于,所述指示块(53)沿长度方向一端为三角形结构,所述测量架(51)位于指示块(53)三角形结构的一侧开设有刻度槽(52)。
3.根据权利要求1所述的一种可测量纸张长度的卷筒纸分切机,其特征在于,所述凹型架(1)外表壁螺栓固定有第三伺服电机(41),所述第三伺服电机(41)输出轴通过联轴器与固定轴(42)转动连接。
4.根据权利要求1所述的一种可测量纸张长度的卷筒纸分切机,其特征在于,所述凹型架(1)外表壁螺栓固定有第四伺服电机(71),所述第四伺服电机(71)输出轴通过联轴器与活动辊(7)转动连接。
5.根据权利要求1所述的一种可测量纸张长度的卷筒纸分切机,其特征在于,所述辅助辊(23)共设置有两个,两个所述辅助辊(23)通过齿轮(22)啮合连接,且两个辅助辊(23)处于同一竖直线。
6.根据权利要求1所述的一种可测量纸张长度的卷筒纸分切机,其特征在于,所述电控箱(6)包括箱体(61)、plc控制器(62)和信号接收器(63),所述箱体(61)内部螺栓固定有plc控制器(62)和信号接收器(63),所述箱体(61)上表面螺栓固定有蜂鸣报警器(64)。
7.根据权利要求1所述的一种可测量纸张长度的卷筒纸分切机,其特征在于,所述红外线传感器(55)的输出端与信号接收器(63)的输出端电性连接,信号接收器(63)的输出端与plc控制器(62)的输入端电性连接,所述plc控制器(62)的输出端分别与第一伺服电机(2)的输入端、第二伺服电机(3)的输入端、第三伺服电机(41)的输入端、第四伺服电机(71)的输入端和蜂鸣报警器(64)的输入端电性连接。
技术总结
本实用新型公开了一种可测量纸张长度的卷筒纸分切机,包括凹型架,所述凹型架内表壁依次转动连接有活动辊、辅助辊、丝杠和收集机构,所述凹型架外表壁螺栓固定有电控箱;所述凹型架内表壁位于辅助辊一侧转动连接有齿轮盘,所述辅助辊沿长度方向一端侧壁焊接有与齿轮盘啮合连接的齿轮,所述凹型架外表壁螺栓固定有第一伺服电机,所述第一伺服电机输出轴通过联轴器与齿轮盘转动连接。本实用新型中,通过测量机构的设置,使得收集辊上纸张在缠绕时可以测量长度,当纸张缠绕到指定长度时,第一伺服电机、第三伺服电机、第四伺服电机自动关闭,并开启蜂鸣报警器对操作人员进行提示,从而提高了该装置在使用时的实用性。
技术研发人员:王伦彬;姚放
受保护的技术使用者:四川思瑞印刷包装有限责任公司
技术研发日:2020.08.19
技术公布日:2021.04.06