行业新闻

当前位置:首页/新闻中心/行业新闻

一种切面平整的纸管精切机的制作方法

2024年02月05日国知局浏览量:0

一种切面平整的纸管精切机的制作方法

本实用新型涉及纸管精切机技术领域,尤其是涉及一种切面平整的纸管精切机。

背景技术:

圆管在现在的工业中运用比较广泛,针对于各个领域的需要需将圆管裁剪成不同的长度,尤其是在纸管切割领域,而且根据不同的需求对裁剪的截面光滑度的要求也不一样,现有技术中通常是使用圆刀切割的方式,但是这种切割方式通常会使纸管的切割截面不垂直,产生的废品率较高,资源浪费严重,而且该种切割方式一般是将被切割件套设在转轴上再进行切割,操作较为繁琐,生产效率低。现有的纸管精切机在纸管切割时多数采用一次切割成型,而且用不带锯齿的圆刀进行切割,易造成纸管切割表面毛刺较多,平整度较差,影响切割质量,一般纸管精切机在切割位置、切割角度以及切割高度的调节上也存在不便,导致切割效率大打折扣。

技术实现要素:

本实用新型的目的是针对上述存在的问题和不足,提供一种切面平整的纸管精切机,其通过三根压辊将纸管夹住,三根压辊带动纸管旋转,与切刀形成相对转动,有助于实现纸管的二次切割,使得切割表面更加平整,毛刺少,切痕美观,通过第三电机、第一滑轨、第一滑轨以及滑块使得切刀切割位置便于调节,通过第一气缸、第二气缸、升降台、第二滑轨以及第二滑块使得切刀的高度和切割角度易于调节,实现灵活切割,大大提升切割效率。

为达到上述目的,所采取的技术方案是:

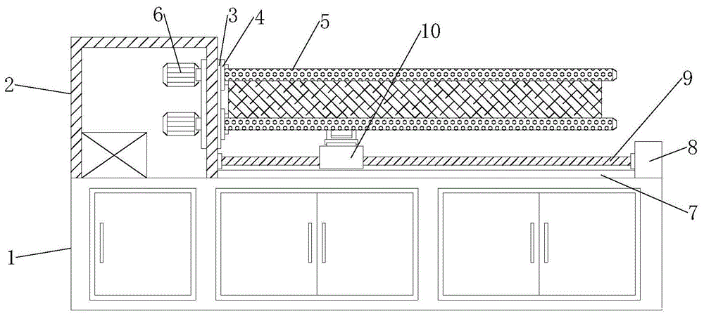
一种切面平整的纸管精切机,包括底座和控制箱,所述控制箱固定于所述底座上表面左侧,所述控制箱右壁转动连接有转盘,且所述转盘右表面均匀固定有三个辊座,所述辊座表面转动连接有压辊,所述压辊左端贯穿进所述控制箱内部,所述控制箱右侧内壁安装有三个第一电机,且三个所述第一电机右端分别与三根所述压辊连接;

所述底座上表面右端安装有两个第二电机,且所述底座上表面中间固定连接有第一滑轨,所述控制箱右面与两个所述第二电机左端之间转动连接有两根丝杆,所述第一滑轨上方滑动连接有第一滑块,且两根所述丝杆分别贯穿过所述第一滑块的前后两侧,所述第一滑块上表面后端铰接有第一气缸,所述第一滑块上表面前端铰接有升降台,且所述第一气缸的活动端与所述升降台铰接,所述升降台上表面前侧固定有第二滑轨,且所述第二滑轨上表面滑动连接有第二滑块,所述升降台上表面后侧安装有固定块,且所述固定块前表面固定有第二气缸,所述第二气缸的活动端与所述第二滑块相接,所述第二滑块上表面固定连接有刀架,且所述刀架左上方转动连接有切刀。

优选的,所述底座内部呈中空状,且所述底座内部设有若干个储物箱,所述底座前表面铰接有箱门。

优选的,所述丝杆与所述第一滑块螺纹连接。

优选的,所述刀架右侧固定有第三电机,且所述第三电机的输出端与所述切刀转动连接。

优选的,所述切刀外缘均匀设有一圈月牙形的锯齿,所述锯齿由不锈钢制成。

优选的,所述压辊表面均匀设有若干个半球形的凸块,且所述凸块由橡胶制成。

采用上述技术方案,所取得的有益效果是:

通过三根压辊将纸管夹住,三根压辊带动纸管旋转,与切刀形成相对转动,有助于实现纸管的二次切割,使得切割表面更加平整,毛刺少,切痕美观,通过第三电机、第一滑轨、第一滑轨以及滑块使得切刀切割位置便于调节,通过第一气缸、第二气缸、升降台、第二滑轨以及第二滑块使得切刀的高度和切割角度易于调节,实现灵活切割,大大提升切割效率。

附图说明

为了更清楚地说明本实用新型实施例的技术方案,下文中将对本实用新型实施例的附图进行简单介绍。其中,附图仅仅用于展示本实用新型的一些实施例,而非将本实用新型的全部实施例限制于此。

图1为本实用新型的整体主视剖面结构示意图;

图2为本实用新型的整体右视剖面结构示意图;

图3为本实用新型的图2中的a局部放大结构示意图;

图4为本实用新型的压辊局部放大结构示意图。

图中标记:底座1;控制箱2;转盘3;辊座4;压辊5;第一电机6;第一滑轨7;第二电机8;丝杆9;第一滑块10;第一气缸11;升降台12;第二滑轨13;第二滑块14;固定块15;第二气缸16;刀架17;切刀18;第三电机19;凸块20。

具体实施方式

为了使得本实用新型的技术方案的目的、技术特征和技术效果更加清楚,下文中将结合本实用新型具体实施例的附图,对本实用新型实施例的示例方案进行清楚、完整地描述。

参见图1至图4,本实用新型是一种切面平整的纸管精切机,包括底座1和控制箱2,控制箱2固定于底座1上表面左侧,控制箱2右壁转动连接有转盘3,且转盘3右表面均匀固定有三个辊座4,辊座4表面转动连接有压辊5,压辊5左端贯穿进控制箱2内部,控制箱2右侧内壁安装有三个第一电机6,且三个第一电机6右端分别与三根压辊5连接;

底座1上表面右端安装有两个第二电机8,且底座1上表面中间固定连接有第一滑轨7,控制箱2右面与两个第二电机8左端之间转动连接有两根丝杆9,第一滑轨7上方滑动连接有第一滑块10,且两根丝杆9分别贯穿过第一滑块10的前后两侧,第一滑块10上表面后端铰接有第一气缸11,第一滑块10上表面前端铰接有升降台12,且第一气缸11的活动端与升降台12铰接,升降台12上表面前侧固定有第二滑轨13,且第二滑轨13上表面滑动连接有第二滑块14,升降台12上表面后侧安装有固定块15,且固定块15前表面固定有第二气缸16,第二气缸16的活动端与第二滑块14相接,第二滑块14上表面固定连接有刀架17,且刀架17左上方转动连接有切刀18;

底座1内部呈中空状,且底座1内部设有若干个储物箱,底座1前表面铰接有箱门,丝杆9与第一滑块10螺纹连接,刀架17右侧固定有第三电机19,且第三电机19的输出端与切刀18转动连接,切刀18外缘均匀设有一圈月牙形的锯齿,锯齿由不锈钢制成,压辊5表面均匀设有若干个半球形的凸块20,且凸块20由橡胶制成;

具体的,使用者在切割前将第一电机6、第二电机8以及第三电机19接入外部电源,然后将纸管卡接于三根压辊5之间,通过压辊5表面的橡胶制成的凸块20能够增大压辊5与纸管接触面之间的摩擦力,使得纸管在静置和转动时均保持稳定卡接,使用者通过启动第二电机8带动丝杆9转动,丝杆9带动第一滑块10在第一滑轨7表面横移,便于使用者进行对刀,使得切刀18调整到切口位置,然后通过第一气缸11将升降台12后端顶起,升降台12朝前倾斜,使得刀架17位置升高并且向前倾斜,便于调节切刀18的切割角度和切入点,再通过第二气缸16带动第二滑块14在第二滑轨13上滑动,使得刀架17的位置前后移动,便于调节切刀18的切割深度,实现灵活切割;

进一步的,启动第三电机19,第三电机19带动切刀18顺着锯齿切刃的方向快速转动,启动第一电机6,第一电机6带动压辊5转动,压辊5通过摩擦力带动纸管与切刀18同向转动,先将切刀18切入纸管厚度的一半,进行第一次切割,当切刀18绕纸管一周后,第一电机6带动压辊5反转,此时纸管与切刀18反向转动,此时将切刀18完全切入纸管,直至将纸管完全切断,进行第二次切割,采用带锯齿的切刀18能够使得切割平面与纸管轴线垂直,切割余量对切割效果的影响大大降低,提升切割质量,同时锯齿的齿刃较为锋利,切割效果好,二次切割后切面毛刺量较小,切痕平整。

本说明书中每个实施例重点说明的都是与其他实施例的不同之处,各个实施例之间相同或相似部分互相参见即可。除非另作定义,本实施例中使用的技术术语或者科学术语应当为本实用新型所属领域内具有一般技能的人士所理解的通常意义。

上文中参照优选的实施例详细描述了本实用新型的示范性实施方式,然而本领域技术人员可理解的是,在不背离本实用新型理念的前提下,可以对上述具体实施例做出多种变型和改型,且可以对本实用新型提出的各技术特征、结构进行多种组合,而不超出本实用新型的保护范围,本实用新型的保护范围由所附的权利要求确定。

技术特征:

1.一种切面平整的纸管精切机,包括底座(1)和控制箱(2),所述控制箱(2)固定于所述底座(1)上表面左侧,其特征在于:

所述控制箱(2)右壁转动连接有转盘(3),且所述转盘(3)右表面均匀固定有三个辊座(4),所述辊座(4)表面转动连接有压辊(5),所述压辊(5)左端贯穿进所述控制箱(2)内部,所述控制箱(2)右侧内壁安装有三个第一电机(6),且三个所述第一电机(6)右端分别与三根所述压辊(5)连接;

所述底座(1)上表面右端安装有两个第二电机(8),且所述底座(1)上表面中间固定连接有第一滑轨(7),所述控制箱(2)右面与两个所述第二电机(8)左端之间转动连接有两根丝杆(9),所述第一滑轨(7)上方滑动连接有第一滑块(10),且两根所述丝杆(9)分别贯穿过所述第一滑块(10)的前后两侧,所述第一滑块(10)上表面后端铰接有第一气缸(11),所述第一滑块(10)上表面前端铰接有升降台(12),且所述第一气缸(11)的活动端与所述升降台(12)铰接,所述升降台(12)上表面前侧固定有第二滑轨(13),且所述第二滑轨(13)上表面滑动连接有第二滑块(14),所述升降台(12)上表面后侧安装有固定块(15),且所述固定块(15)前表面固定有第二气缸(16),所述第二气缸(16)的活动端与所述第二滑块(14)相接,所述第二滑块(14)上表面固定连接有刀架(17),且所述刀架(17)左上方转动连接有切刀(18)。

2.根据权利要求1所述的一种切面平整的纸管精切机,其特征在于:所述底座(1)内部呈中空状,且所述底座(1)内部设有若干个储物箱,所述底座(1)前表面铰接有箱门。

3.根据权利要求1所述的一种切面平整的纸管精切机,其特征在于:所述丝杆(9)与所述第一滑块(10)螺纹连接。

4.根据权利要求1所述的一种切面平整的纸管精切机,其特征在于:所述刀架(17)右侧固定有第三电机(19),且所述第三电机(19)的输出端与所述切刀(18)转动连接。

5.根据权利要求1所述的一种切面平整的纸管精切机,其特征在于:所述切刀(18)外缘均匀设有一圈月牙形的锯齿,所述锯齿由不锈钢制成。

6.根据权利要求1所述的一种切面平整的纸管精切机,其特征在于:所述压辊(5)表面均匀设有若干个半球形的凸块(20),且所述凸块(20)由橡胶制成。

技术总结

本实用新型公开了一种切面平整的纸管精切机,本实用新型涉及纸管精切机技术领域,切面平整的纸管精切机,包括底座和控制箱,控制箱固定于底座上表面左侧,控制箱右壁转动连接有转盘,且转盘右表面均匀固定有三个辊座,辊座表面转动连接有压辊,压辊左端贯穿进控制箱内部;本实用新型的有益效果在于:通过三根压辊将纸管夹住,三根压辊带动纸管旋转,与切刀形成相对转动,有助于实现纸管的二次切割,使得切割表面更加平整,毛刺少,切痕美观,通过第三电机、第一滑轨、第一滑轨以及滑块使得切刀切割位置便于调节,通过第一气缸、第二气缸、升降台、第二滑轨以及第二滑块使得切刀的高度和切割角度易于调节,实现灵活切割。

技术研发人员:顾益明

受保护的技术使用者:太仓市协盛纸业有限公司

技术研发日:2020.09.25

技术公布日:2021.08.06

Baidu
ac米兰APP软件下载