服务热线
180-5003-0233

本发明属于纺织标签切割技术领域,特别是涉及一种纺织标签视觉自动分切机及其控制方法。
背景技术:
纺织标签在编织的过程中由于机器速度,经纬纱线的张力变化,纱线的品质、型号,织机性能差异等客观原因导致每条标签的宽度间距无法保证一致,而分切线间距在±1mm的范围内无规律变化,需要超声波刀片从这两条间距为1.5mm左右的线中间分开,误差不能大于±0.5mm,因此现有的超声波分切机需要工人用双眼分别观察10几至20几把不等的刀对应的分切边位置,并频繁的用左手分别调节不在分切线上的刀片的位置,同时用右手调节所有刀片的左右位置,所以需要人工根据标签切边位置的变化不断的用双手调节每把刀片的位置,由于需要关注的分切线很多所以生产效率非常低,而且废品率很高。
同时,工人全神贯注的盯着每一条分切线,不停的调节刀片的对应位置,工作一天下来非常的辛苦。且由于超声波的原因对人体的听觉影响很大,所以都带上了专用的保护听力的耳罩,但长期工作听力还是会受到不同程度的损害,所以要经常的更换工作岗位才能保证工人听力健康,因此该岗位则需分配较多的人工,导致人工成本增加。
因此,有必要设计一种更好的纺织标签分切机,以解决上述问题。
技术实现要素:
针对现有技术存在的问题,本发明提供一种根据每条分切线的位置坐标自动调节每一把刀的相对位置,通过电脑自动控制分切,提高了分切精度和工作效率,提高产品质量的纺织标签视觉自动分切机及其控制方法。
为了实现上述目的,本发明采用如下技术方案:
一种纺织标签视觉自动分切机,包括机架,所述机架上设有间隔分布的多条平行设置的导轨,所述导轨上装设有平行设置的多个滑板,每个所述滑板上固定至少一把分切刀具,所述滑板内侧设有滑块,所述滑块套于所述导轨,可沿所述导轨滑动,每个所述滑板固定连接一条同步带,所述同步带套设于所述机架两端的同步带轮,且绕接于电机驱动轮上,所述电机驱动轮的一侧设有电机,通过所述电机驱动所述同步带转动,进而带动所述滑板及所述滑块沿所述导轨移动,以调节所述分切刀具的位置。
进一步,所述滑板呈口状,每个所述滑板相对的两内壁均设一个所述滑块,两个所述滑块分别套在不同的导轨上。
进一步,相邻所述滑板的四个所述滑块分别套在四个不同的导轨上。
进一步,所述导轨沿横向延伸,且沿纵向排成两排,每排沿竖向排成四列,形成八条所述导轨,所述滑板则设有十六个,分为四组,每组滑板包括四个,四个所述滑板内侧的八个所述滑块分别套设于八条所述导轨上。
进一步,所述四组滑板的排布方式均相同。
进一步,相邻所述滑板上的所述滑块在横向及竖向上均错开设置。
进一步,所述同步带沿纵向设有两排,每排沿竖向平行设有八条,所述同步带靠近所述滑板的表面通过卡扣固定连接于所述滑板。
进一步,所述同步带远离所述滑板的表面设有张紧轮,每个所述电机驱 动轮对应设有两个所述张紧轮,所述同步带绕于所述电机驱动轮前后分别绕过一个所述张紧轮。
进一步,所述电机位于八条所述同步带排设的面积范围内,相邻组所述滑板对应的所述电机排布方向相反。
一种基于上述纺织标签视觉自动分切机的控制方法,包括:首先将需要分切的纺织标签的每条切线通过相机拍照在图象控制器上成像,并通过电脑计算得出坐标位置,然后通过摄像头实时拍摄每条切线的位置,电脑会自动将当前拍摄的位置坐标与上一次拍摄的位置坐标进行比较,计算出切线的位移量,并将位移变化信息实时传输给电机控制系统,所述电机控制系统控制一个或多个电机转动,驱动所述同步带转动,带动所述滑板及其上的分切刀具沿所述导轨移动到对应的分切位置上。
本发明的有益效果:
本发明纺织标签视觉自动分切机在分切时,通过摄像头实时拍摄每条切线的位置,电脑会自动将当前拍摄的位置坐标与上一次拍摄的位置坐标进行比较,计算出切线的位移量,并将位移变化信息实时传输给电机控制系统,电机控制系统控制一个或多个电机转动,驱动同步带转动,进而带动滑板及其上的分切刀具沿导轨移动到对应的分切位置上,从而使得每条刀具在分切时均位于分切线的切割范围内,采用电脑控制,提高了分切精度,提高了产品质量,大大降低了纺织标签分切次品的产生,且采用电机自动控制分切位置,无需人工操作,不仅提高了工作效率,还减少工人的听力损害。
附图说明
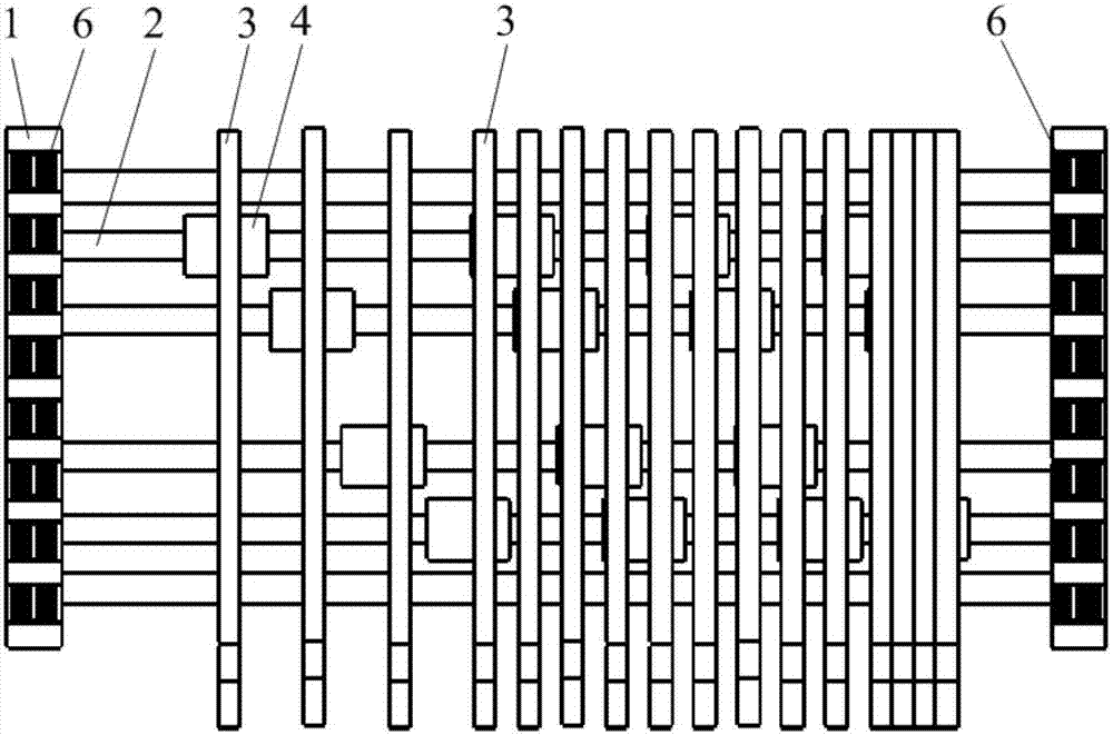
图1为本发明纺织标签视觉自动分切机中滑板安装于导轨的结构示意图;
图2为图1的前视图;
图3为图1的剖视图;
图4为本发明纺织标签视觉自动分切机中一组滑板的结构示意图;
图5为本发明纺织标签视觉自动分切机中同步带安装于滑板的结构示意图;
图6为本发明纺织标签视觉自动分切机中电机安装于同步带的结构示意图;
图7为本发明纺织标签视觉自动分切机中电机驱动轮与同步带连接的结构示意图;
图中,1—机架、2—导轨、3—滑板、4—滑块、5—同步带、6—同步带轮、7—电机驱动轮、8—电机、9—张紧轮、10—卡扣。
具体实施方式
下面结合附图和具体实施例对本发明做进一步的详细说明。
如图1及图6,本发明提供一种纺织标签视觉自动分切机,包括机架1,机架1上沿竖向设有间隔分布的多条平行设置的导轨2,在本实施例中,导轨2沿横向延伸,八条导轨2沿纵向排成前后两排,每排沿竖向排成四列,在其它实施例中,可根据需要分切的纺织标签数量来设定刀具数量,进而设置对应的导轨2数量。导轨2上装设有平行设置的多个滑板3,每个滑板3上固定至少一把分切刀具,在本实施例中,分切刀具为超声波分切刀具,在其它实施例中,也可以为热切刀具或其它类型刀具,使用者根据需要安装。滑板3内侧设有滑块4,滑块4套在导轨2上,可沿导轨2滑动,每个滑板3固定连接一条同步带5,同步带5套设于机架1两端的同步带轮6,且绕接于电机驱动轮7上,电机驱动轮7的一侧设有电机8,通过电机8驱动同步带5转动,进而带动滑板3及滑块4沿导轨2移动,以调节分切刀具的位置。
如图2至图4,每个滑板3相对的两内壁均设有一个滑块4套设在导轨2 上,两个滑块4分别套设在前排和后排的导轨2上,且在竖向上错开设置,相邻两滑板3的四个滑块4分别位于四条不同的导轨2上,且在竖向上高度均不同。在本实施例中,滑板3设有十六个,分为四组,每组滑板3包括四个,四个滑板3内侧的八个滑块4分别套设于八条不同的导轨2上,相邻滑板3的滑块4在横向及竖向上均错开设置,因此在相邻两个滑板3互相靠近时,此时滑块4会在竖向上部分重叠,但不会碰撞,这样就能把8mm厚的滑板3重叠起来,两个滑板3之间的距离最小可以为0,保证两个分切刀具之间的最小间距为8mm,使得刀具更薄。四组滑板3的排布方式均相同。前排和后排的导轨2完全相同,故滑板3可正反安装于导轨2上,滑板3的正反两侧均可安装分切刀具,即在每个滑板3上安装双刀片,可以同时分切最小间距为6mm的标签31条,几乎涵盖现在超声波机器能分切的所有产品,适用范围广。
如图5至图7,所述滑板3的前后两侧均设有同步带5,同步带5沿纵向设有两排,每排沿竖向平行设有八条,即在滑板3的前侧设有八条同步带5,后侧也设有八条同步带5,如此设置能够合理排布,节省空间。机架1的两端对应的设有同步带轮6,同步带5的两端套设在同步带轮6上。同步带5靠近滑板3的表面通过卡扣10固定连接于滑板3,因此在同步带5转动时可以带动滑板3移动。每条同步带5通过一个电机8控制驱动,电机8设置于同步带远5离滑板3的一侧,电机8的一端设有电机驱动轮7,同步带5饶接于电机驱动轮7上,因此在电机8启动时,电机驱动轮7转动,带动同步带5共同转动,从而带动滑板3及其上的分切刀具一起沿横向移动,从而调整分切刀具的位置。所有电机8均通过电缆线连接于电机控制系统,电机控制系统包括多个控制器,每个控制器分别连接一个电机和电脑,所有控制器安装于 控制电柜内。利用上述结构可以自动实现刀具位置的调整,无需人工操作,保护工人听力,由于不用长期近距离的在超声波旁边操作机器,大大减少工人的听力损害。
优选的,同步带5远离滑板3的表面设有张紧轮9,张紧轮9安装在电机座(未图示)上,每个电机驱动轮7对应设有两个张紧轮9,三者的圆心连线形成锐角三角形,同步带5绕于电机驱动轮7的前后分别绕过一个张紧轮9,保证同步带5与电机驱动轮7之间同步运动,避免打滑。为了节省空间,八个同步带5的八个电机8位于八条同步带8排设的面积范围内,相邻滑板3组对应的电机8排布方向相反,充分利用同步带5外侧的空间。
本发明自动分切机通过控制电机驱动带动刀具自动移动到纺织标签分切线的切割范围内,提高了产品质量,降低次品率,通过电机控制,提高了工作效率,同时节省了人力。
本发明还提供一种基于上述纺织标签视觉自动分切机的控制方法,包括:首先将需要分切的纺织标签的每条切线通过相机拍照在图象控制器(ccd)上成像,并通过电脑计算得出坐标位置,然后通过摄像头实时拍摄每条切线的位置,电脑会自动将当前拍摄的位置坐标与上一次拍摄的位置坐标进行比较,计算出切线的位移量,并将位移变化信息实时传输给电机控制系统,电机控制系统控制一个或多个电机8转动,驱动同步带5转动,带动滑板3及其上的分切刀具沿导轨2移动到对应的分切位置上。当拍摄的图片中有一个或者多个ng(即不能识别)时所有切刀都保持不移动,保证分切位置的准确性。上述方法使得分切刀具随时处于分切线的切割范围内,降低了次品率,提高了产品质量。
通过采用本发明的纺织标签视觉自动分切机带来了如下有益效果:
(1)工作轻松,因在开机运行时视觉系统会根据每一条分切边的位置坐标实时传回电脑,电脑根据传回的数据控制电机的伺服系统将对应的超声波刀具自动调节到正确的分切位置上,在运行的整个过程不需要人工调刀,而且能同时调节多把超声波刀。
(2)效率的提高,生产速度轻松达到每秒12英寸以上,平均速度是工人调节的3倍以上,也就是说平均产能提高3倍以上,满足客户的订单需求,减少企业的外发成本。
(3)质量的提高,由于是电脑自动追踪,其分切精度可以达到±0.2mm以内,大大的提高了产品的质量。
(4)次品的降低,因机器不会疲脑,所以在整过生产过程都会准确的调节每一把刀在切线上的位置,所有大大的降低了次品率,由原来的平均5%左右减少到1%左右。
(5)对环境污染的减少,由于纺织商标是由化学纤维组成,减少次品率就减少环境的污染和工业废料的处理费用。
(6)保护工人听力,采用机器自动控制,无需人工长期近距离的在超声波旁边操作机器,大大减少工人的听力损害。
(7)能耗的降低,由于产能提高3倍以上,生产同样多的产品时间减少三分之二,加上视觉调节体统的功耗,机器的用电量减少一半以上,减少碳排放。
以上实施例仅用以说明本发明的技术方案而非限制,尽管参照较佳实施例对本发明进行了详细说明,本领域技术人员应当理解,可以对本发明的技术方案进行修改或者等同替换,而不脱离本技术方案的宗旨和范围,其均应涵盖在本发明的权利要求范围内。
技术特征:
技术总结
本发明提供一种纺织标签视觉自动分切机及其控制方法,自动分切机在分切时,通过摄像头实时拍摄每条切线的位置,电脑会自动将当前拍摄的位置坐标与上一次拍摄的位置坐标进行比较,计算出切线的位移量,并将位移变化信息实时传输给电机控制系统,电机控制系统控制一个或多个电机转动,驱动同步带转动,进而带动滑板及其上的分切刀具沿导轨移动到对应的分切位置上,从而使得每条刀具在分切时均位于分切线的切割范围内,采用电脑控制,提高了分切精度,提高了产品质量,大大降低了纺织标签分切次品的产生,且采用电机自动控制分切位置,无需人工操作,不仅提高了工作效率,还减少工人的听力损害。
技术研发人员:秦庆荣
受保护的技术使用者:秦庆荣
技术研发日:2016.06.30
技术公布日:2018.01.09