服务热线
180-5003-0233

1.本实用新型涉及压辊设备技术领域,尤其涉及一种预涂膜分切机的压辊装置。
背景技术:
2.预涂膜是将热熔胶预先涂布在不同的基材薄膜基材上,形成能够与纸质印刷品等材料经加热加压后使之粘合在一起的一种薄膜。预涂膜分切机是一种专门用于分切预涂膜的机械设备。
3.预涂膜由于胶层均匀度较差,从而导致幅宽方向厚度的偏差较大,而现有的预涂膜分切机,无法很好地调节压辊的位置,一旦压辊的现有位置无法满足实际收卷的需要,膜卷张力在幅宽方向会不均衡,会造成收卷不整齐的现象,因此我们提出了一种预涂膜分切机的压辊装置用于解决上述问题。
技术实现要素:
4.本实用新型的目的是为了解决现有技术中存在无法很好地调节压辊的位置,一旦压辊的现有位置无法满足实际收卷的需要,仍然会造成收卷不整齐的现象的缺点,而提出的一种预涂膜分切机的压辊装置。
5.为了实现上述目的,本实用新型采用了如下技术方案:
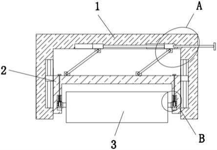
6.一种预涂膜分切机的压辊装置,包括安装架,所述安装架内滑动安装有u形框,且u形框内设有压辊,安装架的顶部内壁上开设有两个对称设置的第一槽,第一槽内滑动安装有移动座,两个移动座相互靠近的一侧固定安装有同一个固定杆,两个第一槽中的一个第一槽的一侧内壁上开设有第一螺纹孔,第一螺纹孔内螺纹安装有调节螺杆,且调节螺杆的一端转动安装在对应的移动座上,u形框的两侧内壁上均开设有滑动槽,滑动槽内滑动安装有滑动座,压辊的两侧均固定安装有转动杆的一端,转动杆的另一端转动安装在对应的滑动座上,滑动座的顶部固定安装有压缩弹簧的一端,压缩弹簧的另一端固定安装在滑动槽内壁上,滑动座的顶部开设有第二槽,第二槽的内壁上开设有环形槽,滑动槽的顶部内壁上开设有第二螺纹孔,第二螺纹孔内螺纹安装有螺纹杆,且螺纹杆的顶端延伸至u形框的上方,螺纹杆的底端延伸至第二槽内固定安装有连接板,且连接板与对应的环形槽相适配。
7.优选的,所述第一槽的两侧内壁上均开设有限位槽,移动座的两侧均固定安装有限位座,且限位座与对应的限位槽滑动连接,能够使得移动座进行稳定的移动。
8.优选的,两个第一槽相互靠近的一侧均开设有同一个移动孔,且固定杆与对应的移动孔滑动连接。
9.优选的,两个移动座中的一个移动座的一侧开设有转动槽,调节螺杆的一端转动安装在转动槽内,调节螺杆的另一端压缩安装架的外侧并固定安装有手柄。
10.优选的,所述滑动槽的两侧内壁上均开设有移动槽,滑动座的两侧均固定安装有移动块,且移动块与对应的移动槽滑动连接,能够使得滑动座进行稳定的移动。
11.本实用新型中,所述一种预涂膜分切机的压辊装置当对压辊的位置进行调节时,
首先通过旋转,旋转能够带动调节螺杆进行转动,在第一螺纹孔的作用下,能够使得调节螺杆一边转动一边移动,调节螺杆能够带动一个移动座进行移动,一个移动座通过固定杆能够带动另一个移动座进行移动,使得两个移动座能够同时移动,移动座的移动能够带动连接杆进行移动,连接杆能够带动u形框进行移动,从而u形框能够带动压辊进行移动,从而能够对压辊的位置进行调节;
12.通过压辊能够对预涂膜进行初步压紧,然后通过转动螺纹杆,在第二螺纹孔的作用下,能够使得螺纹杆向下移动并带动连接板向下移动,此时连接板不与环形槽的顶部内壁上相接触,此时在压缩弹簧的弹力作用下,能够使得压缩弹簧推动滑动座向下移动,所以当预涂膜有轻微的松动时,此时压缩弹簧能够推动滑动座向下移动,滑动座通过转动杆带动压辊向下移动并对预涂膜进行自动压紧。
13.本实用新型设计合理,通过调节压辊,能够保证收卷时的张力稳定,即使预涂膜出现轻微的松动,通过压缩弹簧能够推动压辊向下移动并对预涂膜进行自动压紧,使得卷料收卷整齐且不出现褶皱现象。
附图说明
14.图1为本实用新型提出的一种预涂膜分切机的压辊装置的结构示意图;
15.图2为本实用新型提出的一种预涂膜分切机的压辊装置的a部分结构示意图;
16.图3为本实用新型提出的一种预涂膜分切机的压辊装置的b部分结构示意图。
17.图中:1、安装架;2、u形框;3、压辊;4、第一槽;5、移动座;6、固定杆;7、连接杆;8、第一螺纹孔;9、调节螺杆;10、滑动槽;11、滑动座;12、转动杆;13、压缩弹簧;14、第二槽;15、环形槽;16、第二螺纹孔;17、螺纹杆;18、连接板。
具体实施方式
18.下面将结合本实用新型实施例中的附图,对本实用新型实施例中的技术方案进行清楚、完整地描述,显然,所描述的实施例仅仅是本实用新型一部分实施例,而不是全部的实施例。
19.参照图1‑3,一种预涂膜分切机的压辊装置,包括安装架1,安装架1内滑动安装有u形框2,且u形框2内设有压辊3,安装架1的顶部内壁上开设有两个对称设置的第一槽4,第一槽4内滑动安装有移动座5,两个移动座5相互靠近的一侧固定安装有同一个固定杆6,两个第一槽4中的一个第一槽4的一侧内壁上开设有第一螺纹孔8,第一螺纹孔8内螺纹安装有调节螺杆9,且调节螺杆9的一端转动安装在对应的移动座5上,u形框2的两侧内壁上均开设有滑动槽10,滑动槽10内滑动安装有滑动座11,压辊3的两侧均固定安装有转动杆12的一端,转动杆12的另一端转动安装在对应的滑动座11上,滑动座11的顶部固定安装有压缩弹簧13的一端,压缩弹簧13的另一端固定安装在滑动槽10内壁上,滑动座11的顶部开设有第二槽14,第二槽14的内壁上开设有环形槽15,滑动槽10的顶部内壁上开设有第二螺纹孔16,第二螺纹孔16内螺纹安装有螺纹杆17,且螺纹杆17的顶端延伸至u形框2的上方,螺纹杆17的底端延伸至第二槽14内固定安装有连接板18,且连接板18与对应的环形槽15相适配。
20.本实用新型中,第一槽4的两侧内壁上均开设有限位槽,移动座5的两侧均固定安装有限位座,且限位座与对应的限位槽滑动连接,能够使得移动座5进行稳定的移动。
21.本实用新型中,两个第一槽4相互靠近的一侧均开设有同一个移动孔,且固定杆6与对应的移动孔滑动连接。
22.本实用新型中,两个移动座5中的一个移动座5的一侧开设有转动槽,调节螺杆9的一端转动安装在转动槽内,调节螺杆9的另一端压缩安装架1的外侧并固定安装有手柄。
23.本实用新型中,滑动槽10的两侧内壁上均开设有移动槽,滑动座11的两侧均固定安装有移动块,且移动块与对应的移动槽滑动连接,能够使得滑动座11进行稳定的移动。
24.本实用新型中,当对压辊3的位置进行调节时,首先通过旋转,旋转能够带动调节螺杆9进行转动,在第一螺纹孔8的作用下,能够使得调节螺杆9一边转动一边移动,调节螺杆9能够带动一个移动座5进行移动,一个移动座5通过固定杆6能够带动另一个移动座5进行移动,使得两个移动座5能够同时移动,移动座5的移动能够带动连接杆7进行移动,连接杆7能够带动u形框进行移动,从而u形框2能够带动压辊3进行移动,从而能够对压辊3的位置进行调节,通过压辊3能够对预涂膜进行初步压紧,然后通过转动螺纹杆17,在第二螺纹孔16的作用下,能够使得螺纹杆17向下移动并带动连接板18向下移动,此时连接板18不与环形槽15的顶部内壁上相接触,此时在压缩弹簧13的弹力作用下,能够使得压缩弹簧13推动滑动座11向下移动,所以当预涂膜有轻微的松动时,此时压缩弹簧13能够推动滑动座11向下移动,滑动座11通过转动杆12带动压辊3向下移动并对预涂膜进行自动压紧。
25.以上所述,仅为本实用新型较佳的具体实施方式,但本实用新型的保护范围并不局限于此,任何熟悉本技术领域的技术人员在本实用新型揭露的技术范围内,根据本实用新型的技术方案及其实用新型构思加以等同替换或改变,都应涵盖在本实用新型的保护范围之内。
技术特征:
1.一种预涂膜分切机的压辊装置,包括安装架(1),其特征在于,所述安装架(1)内滑动安装有u形框(2),且u形框(2)内设有压辊(3),安装架(1)的顶部内壁上开设有两个对称设置的第一槽(4),第一槽(4)内滑动安装有移动座(5),两个移动座(5)相互靠近的一侧固定安装有同一个固定杆(6),两个第一槽(4)中的一个第一槽(4)的一侧内壁上开设有第一螺纹孔(8),第一螺纹孔(8)内螺纹安装有调节螺杆(9),且调节螺杆(9)的一端转动安装在对应的移动座(5)上,u形框(2)的两侧内壁上均开设有滑动槽(10),滑动槽(10)内滑动安装有滑动座(11),压辊(3)的两侧均固定安装有转动杆(12)的一端,转动杆(12)的另一端转动安装在对应的滑动座(11)上,滑动座(11)的顶部固定安装有压缩弹簧(13)的一端,压缩弹簧(13)的另一端固定安装在滑动槽(10)内壁上,滑动座(11)的顶部开设有第二槽(14),第二槽(14)的内壁上开设有环形槽(15),滑动槽(10)的顶部内壁上开设有第二螺纹孔(16),第二螺纹孔(16)内螺纹安装有螺纹杆(17),且螺纹杆(17)的顶端延伸至u形框(2)的上方,螺纹杆(17)的底端延伸至第二槽(14)内固定安装有连接板(18),且连接板(18)与对应的环形槽(15)相适配。2.根据权利要求1所述的一种预涂膜分切机的压辊装置,其特征在于,所述第一槽(4)的两侧内壁上均开设有限位槽,移动座(5)的两侧均固定安装有限位座,且限位座与对应的限位槽滑动连接。3.根据权利要求1所述的一种预涂膜分切机的压辊装置,其特征在于,两个第一槽(4)相互靠近的一侧均开设有同一个移动孔,且固定杆(6)与对应的移动孔滑动连接。4.根据权利要求1所述的一种预涂膜分切机的压辊装置,其特征在于,两个移动座(5)中的一个移动座(5)的一侧开设有转动槽,调节螺杆(9)的一端转动安装在转动槽内,调节螺杆(9)的另一端压缩安装架(1)的外侧并固定安装有手柄。5.根据权利要求1所述的一种预涂膜分切机的压辊装置,其特征在于,所述滑动槽(10)的两侧内壁上均开设有移动槽,滑动座(11)的两侧均固定安装有移动块,且移动块与对应的移动槽滑动连接。
技术总结
本实用新型属于压辊设备领域,尤其是一种预涂膜分切机的压辊装置,包括安装架,所述安装架内滑动安装有U形框,且U形框内设有压辊,安装架的顶部内壁上开设有两个对称设置的第一槽,第一槽内滑动安装有移动座,两个移动座相互靠近的一侧固定安装有同一个固定杆,两个第一槽中的一个第一槽的一侧内壁上开设有第一螺纹孔,第一螺纹孔内螺纹安装有调节螺杆,且调节螺杆的一端转动安装在对应的移动座上。本实用新型设计合理,通过调节压辊,能够保证收卷时的张力稳定,即使预涂膜出现轻微的松动,通过压缩弹簧能够推动压辊向下移动并对预涂膜进行自动压紧,使得卷料收卷整齐且不出现褶皱现象。褶皱现象。褶皱现象。
技术研发人员:纪小宾
受保护的技术使用者:深圳市爱比欧新材料科技有限公司
技术研发日:2020.07.24
技术公布日:2021/4/27