服务热线
180-5003-0233

本实用新型涉及机械自动化技术领域,具体为一种分切机的对刀装置。
背景技术:
分切机的效率和以下几个因素有关:分切速度、成品率、非运行占用时间、稳定性等。分切速度固然是分切机工作效率的一个重要指标,但是如果成品率底下,不但会造成整机的工作效率低下,而且会造成成本的上升。同样,如果非运行占用时间长,如调机、对刀、换刀等消耗时间过长,单纯的提高分切机的速度,也就没有什么意义了。分切机的原有对刀方式一般有以下两种:1、看刀杆上的刻度;2、采用游标卡尺,这两种对刀方式在实际使用中一来调机、对刀、换刀等消耗时间过长,二来操作不便。为此,我们提出了一种分切机的对刀装置投入使用,以解决上述问题。
技术实现要素:
本实用新型的目的在于提供一种分切机的对刀装置,以解决上述背景技术中提出的现有的分切机对刀装置调机、对刀、换刀等消耗时间过长,操作不便的问题。
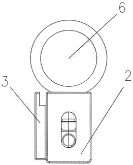
为实现上述目的,本实用新型提供如下技术方案:一种分切机的对刀装置,包括刀块主体,所述刀块主体的左右两端均安装有挡板,所述刀块主体的后侧连接有侧挡板,且侧挡板的左右两端部与两组挡板连接,所述刀块主体的顶部开有一体成型的滑槽,所述滑槽的内腔滑动连接有两组螺母块,两组所述螺母块上均安装有支撑座,两组支撑座的顶端与纸管连接。
优选的,所述挡板的侧壁还开有便于固定在分切机上的安装孔。
优选的,所述螺母块的宽度略小于滑槽的宽度,且螺母块位于滑槽的内腔并与滑槽滑动连接。
优选的,所述刀块主体、挡板和侧挡板均由铝合金一体成型。
与现有技术相比,本实用新型的有益效果是:本实用新型结构简单,设计合理,整体质量轻便,对调机、对刀、换刀等消耗时间大大缩短,提高了操作的便利性。
附图说明
图1为本实用新型结构示意图;
图2为本实用新型侧视图。
图中:1刀块主体、2挡板、3侧挡板、4支撑座、5螺母块、6纸管、7滑槽。
具体实施方式
下面将结合本实用新型实施例中的附图,对本实用新型实施例中的技术方案进行清楚、完整地描述,显然,所描述的实施例仅仅是本实用新型一部分实施例,而不是全部的实施例。基于本实用新型中的实施例,本领域普通技术人员在没有做出创造性劳动前提下所获得的所有其他实施例,都属于本实用新型保护的范围。
请参阅图1-2,本实用新型提供一种技术方案:一种分切机的对刀装置,包括刀块主体1,所述刀块主体1的左右两端均安装有挡板2,所述刀块主体1的后侧连接有侧挡板3,且侧挡板3的左右两端部与两组挡板2连接,所述刀块主体1的顶部开有一体成型的滑槽7,所述滑槽7的内腔滑动连接有两组螺母块5,两组所述螺母块5上均安装有支撑座4,两组支撑座4的顶端与纸管6连接。
其中,所述挡板2的侧壁还开有便于固定在分切机上的安装孔,所述螺母块5的宽度略小于滑槽7的宽度,且螺母块5位于滑槽7的内腔并与滑槽7滑动连接,所述刀块主体1、挡板2和侧挡板3均由铝合金一体成型。
工作原理:本实用新型由一刀块主体1、挡板2、侧挡板3、两组支撑座4和两件螺母块5等组件组成,在刀块主体1上开设有一滑槽7,滑槽7里面放2个螺母块5,螺母块5上面分别固定两组支撑座4,两件挡板2分别固定在刀块主体1的两边,防止支撑座4掉落,在实际使用中,按需要的纸管6的长度调节在刀块主体1上的两组支撑座4的距离后,往机器上的刀杆一摆就可完成调刀动作,本实用新型结构简单,设计合理,采用铝合金制成的刀块主体1、两组挡板2和侧挡板3使得整体质量轻便,对调机、对刀、换刀等消耗时间大大缩短,提高了操作的便利性。
尽管已经示出和描述了本实用新型的实施例,对于本领域的普通技术人员而言,可以理解在不脱离本实用新型的原理和精神的情况下可以对这些实施例进行多种变化、修改、替换和变型,本实用新型的范围由所附权利要求及其等同物限定。
技术特征:
1.一种分切机的对刀装置,包括刀块主体(1),其特征在于:所述刀块主体(1)的左右两端均安装有挡板(2),所述刀块主体(1)的后侧连接有侧挡板(3),且侧挡板(3)的左右两端部与两组挡板(2)连接,所述刀块主体(1)的顶部开有一体成型的滑槽(7),所述滑槽(7)的内腔滑动连接有两组螺母块(5),两组所述螺母块(5)上均安装有支撑座(4),两组支撑座(4)的顶端与纸管(6)连接。
2.根据权利要求1所述的一种分切机的对刀装置,其特征在于:所述挡板(2)的侧壁还开有便于固定在分切机上的安装孔。
3.根据权利要求1所述的一种分切机的对刀装置,其特征在于:所述螺母块(5)的宽度略小于滑槽(7)的宽度,且螺母块(5)位于滑槽(7)的内腔并与滑槽(7)滑动连接。
4.根据权利要求1所述的一种分切机的对刀装置,其特征在于:所述刀块主体(1)、挡板(2)和侧挡板(3)均由铝合金一体成型。
技术总结
本实用新型公开了机械自动化技术领域的一种分切机的对刀装置,包括刀块主体,所述刀块主体的左右两端均安装有挡板,所述刀块主体的后侧连接有侧挡板,且侧挡板的左右两端部与两组挡板连接,所述刀块主体的顶部开有一体成型的滑槽,所述滑槽的内腔滑动连接有两组螺母块,两组所述螺母块上均安装有支撑座,两组支撑座的顶端与纸管连接,本实用新型结构简单,设计合理,整体质量轻便,对调机、对刀、换刀等消耗时间大大缩短,提高了操作的便利性。
技术研发人员:吕孟强
受保护的技术使用者:米兰·(milan)中国官方网站
文档号码:201720570862
技术研发日:2017.05.22
技术公布日:2018.01.30