服务热线
180-5003-0233

本实用新型涉及一种聚酯薄膜生产设备,具体是一种PET聚酯薄膜分切机的裁切机构。
背景技术:
PET聚酯薄膜因其具有优异的物理、化学性能及尺寸稳定性、透明性、可回收性,可广泛的应用于磁记录、感光材料、电子、电气绝缘、工业用膜、包装装饰等领域。
在PET聚酯薄膜的生产加工过程中,需要将生产出的一整张PET聚酯薄膜分切成特定尺寸的条状薄膜,为了方便以及提高效率,人们主要采用PET聚酯薄膜分切机对薄膜进行切割,现有的PET聚酯薄膜分切机的裁切机构主要由切割轴、以及切割轴上的多个刀片组成,工作状态中,切割轴以及所有的刀片是静止的,PET聚酯薄膜在被由前向后直线牵引的过程中,经过刀片处时,PET聚酯薄膜则被这些刀片划开呈多个条状薄膜,相邻两个刀片之间的距离即为条状薄膜的宽度,但刀片均是固定在切割轴上不能左右移动,因此切割出的条状薄膜的尺寸是固定的,如果加工人员需要切割出其它尺寸的条状薄膜,则需要更换重新安装一个新的裁切机构,降低了生产效率。
在授权公告号为CN204800696U的中国专利中的公开了一种PET聚酯薄膜分切机的裁切机构,该机构存在只能每个切刀单独进行调节,待全部切刀都调节好相同间距时,较为耗费时间,降低了生产效率。
技术实现要素:
本实用新型的目的在于提供一种PET聚酯薄膜分切机的裁切机构,以解决上述背景技术中提出的问题。
为实现上述目的,本实用新型提供如下技术方案:
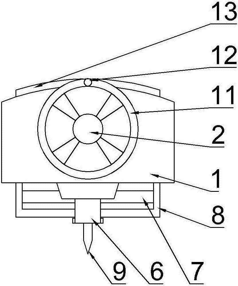
一种PET聚酯薄膜分切机的裁切机构,包括安装箱,所述安装箱呈下端开口的U形形状,安装箱的内部设置有梯形槽,梯形槽内设置有梯形丝杠套,所述梯形丝杠套的安装孔转动套接有丝杠,丝杠的两端与安装箱的两侧壁体相转动连接,丝杠的右端穿过安装箱并固定连接有转柄,所述安装箱的左侧壁体下部固定连接有固定块,固定块的右侧设置有若干组菱形铰接框架,每组菱形框架之间通过销轴相转动连接,最左侧的菱形铰接框架与固定块的侧壁通过铰链相连接,最右侧的菱形铰接框架与梯形丝杠套的侧壁相固定连接,所述销轴的下部设置有U型架,销轴穿过U型架的侧壁并与U型架的侧壁相转动连接,U型架穿过安装箱,U型架的顶端固定连接有滑动板,所述U型架的下部中间固定连接有切刀。
作为本实用新型进一步的方案:所述安装箱的上侧壁体呈圆弧形状。
作为本实用新型再进一步的方案:所述滑动板呈圆弧形状。
作为本实用新型再进一步的方案:所述丝杠的两端与安装箱的两侧壁体通过轴承相连接。
作为本实用新型再进一步的方案:所述菱形铰接框架至少为四组。
作为本实用新型再进一步的方案:所述菱形铰接框架包括四个连杆,四个连杆呈菱形设置,每相邻的两个连杆通过铰链相连接。
作为本实用新型再进一步的方案:所述安装箱的上侧壁体刻有尺度线。
作为本实用新型再进一步的方案:所述转柄的端面固定连接有转动把手。
与现有技术相比,本实用新型的有益效果是:切刀切割出来的若干组PET聚酯薄膜的宽度是一样的,便于规模生产,对比传统的PET聚酯薄膜分切机不能进行切刀之间距离的调节或者只能每个切刀单独调节,本实用新型具有操作简单,便于调节的优势,采用安装箱的上侧壁体刻有尺度线的设计,使滑动板滑动的距离便于直观的观察,方便调节。
附图说明
图1为一种PET聚酯薄膜分切机的裁切机构的结构示意图;
图2为一种PET聚酯薄膜分切机的裁切机构的右视示意图;
图3为一种PET聚酯薄膜分切机的裁切机构的俯视示意图;
图4为一种PET聚酯薄膜分切机的裁切机构中A-A的剖视示意图;
图5为一种PET聚酯薄膜分切机的裁切机构中B-B的剖视示意图。
图中:1-安装箱、2-丝杠、3-轴承、4-固定块、5-菱形铰接框架、6-连杆、7-销轴、8-U型架、9-切刀、10-梯形丝杠套、11-转柄、12-转动把手、13-滑动板、14-尺度线、15-梯形槽。
具体实施方式
下面结合具体实施方式对本专利的技术方案作进一步详细地说明。
请参阅图1-5,一种PET聚酯薄膜分切机的裁切机构,包括安装箱1,所述安装箱1呈下端开口的U形形状,安装箱1的内部设置有梯形槽15,梯形槽15内设置有梯形丝杠套10,所述梯形丝杠套10的安装孔转动套接有丝杠2,丝杠2的两端与安装箱1的两侧壁体相转动连接,丝杠2的右端穿过安装箱1并固定连接有转柄11,所述安装箱1的左侧壁体下部固定连接有固定块4,固定块4的右侧设置有若干组菱形铰接框架5,每组菱形框架5之间通过销轴7相转动连接,最左侧的菱形铰接框架5与固定块4的侧壁通过铰链相连接,最右侧的菱形铰接框架5与梯形丝杠套10的侧壁相固定连接,所述销轴7的下部设置有U型架8,销轴7穿过U型架8的侧壁并与U型架8的侧壁相转动连接,U型架8穿过安装箱1,U型架8的顶端固定连接有滑动板13,所述U型架8的下部中间固定连接有切刀9。
用手转动转柄11,丝杠转动2,梯形丝杠套10可进行左右的移动,从而使菱形铰接框架5的长度变大或者变小,此时销轴7进行移动,带动U型架8进行移动,使滑动板13在安装箱1的上侧壁体进行滑动,而切刀9之间的距离变大或者变小,并且切刀9与切刀9之间的距离变化大小一致,使切刀9切割出来的若干组PET聚酯薄膜的宽度是一样的,便于规模生产,对比传统的PET聚酯薄膜分切机不能进行切刀之间距离的调节或者只能每个切刀单独调节,本实用新型具有操作简单,便于调节的优势。
所述安装箱1的上侧壁体呈圆弧形状,提高了滑动板13在安装箱1上滑动的流畅性。
所述滑动板13呈圆弧形状,能够使滑动13在滑动的过程中受到的摩擦力较小。
所述丝杠2的两端与安装箱1的两侧壁体通过轴承3相连接,减小了丝杠12转动过程中的受到的摩擦损耗。
所述菱形铰接框架5至少为四组,菱形铰接框架5组数越多,可切分的数量越多。
所述菱形铰接框架5包括四个连杆6,四个连杆6呈菱形设置,每相邻的两个连杆6通过铰链相连接。
所述安装箱1的上侧壁体刻有尺度线14,采用安装箱1的上侧壁体刻有尺度线14的设计,使滑动板13滑动的距离便于直观的观察,方便调节。
所述转柄11的端面固定连接有转动把手12,采用转动把手12的设计,使操作人员能够更加方便和省力的转动转柄11。
本实用新型的工作原理是:用手转动转柄11,丝杠转动2,梯形丝杠套10可进行左右的移动,从而使菱形铰接框架5的长度变大或者变小,此时销轴7进行移动,带动U型架8进行移动,使滑动板13在安装箱1的上侧壁体进行滑动,而切刀9之间的距离变大或者变小,并且切刀9与切刀9之间的距离变化大小一致,使切刀9切割出来的若干组PET聚酯薄膜的宽度是一样的,便于规模生产,对比传统的PET聚酯薄膜分切机不能进行切刀之间距离的调节或者只能每个切刀单独调节,本实用新型具有操作简单,便于调节的优势,采用安装箱1的上侧壁体刻有尺度线14的设计,使滑动板13滑动的距离便于直观的观察,方便调节。
上面对本专利的较佳实施方式作了详细说明,但是本专利并不限于上述实施方式,在本领域的普通技术人员所具备的知识范围内,还可以在不脱离本专利宗旨的前提下做出各种变化。
技术特征:
1.一种PET聚酯薄膜分切机的裁切机构,其特征是:包括安装箱(1),所述安装箱(1)呈下端开口的U形形状,安装箱(1)的内部设置有梯形槽(15),梯形槽(15)内设置有梯形丝杠套(10),所述梯形丝杠套(10)的安装孔转动套接有丝杠(2),丝杠(2)的两端与安装箱(1)的两侧壁体相转动连接,丝杠(2)的右端穿过安装箱(1)并固定连接有转柄(11),所述安装箱(1)的左侧壁体下部固定连接有固定块(4),固定块(4)的右侧设置有若干组菱形铰接框架(5),每组菱形框架(5)之间通过销轴(7)相转动连接,最左侧的菱形铰接框架(5)与固定块(4)的侧壁通过铰链相连接,最右侧的菱形铰接框架(5)与梯形丝杠套(10)的侧壁相固定连接,所述销轴(7)的下部设置有U型架(8),销轴(7)穿过U型架(8)的侧壁并与U型架(8)的侧壁相转动连接,U型架(8)穿过安装箱(1),U型架(8)的顶端固定连接有滑动板(13),所述U型架(8)的下部中间固定连接有切刀(9)。
2.根据权利要求1所述的一种PET聚酯薄膜分切机的裁切机构,其特征是,所述安装箱(1)的上侧壁体呈圆弧形状。
3.根据权利要求2所述的一种PET聚酯薄膜分切机的裁切机构,其特征是,所述滑动板(13)呈圆弧形状。
4.根据权利要求1所述的一种PET聚酯薄膜分切机的裁切机构,其特征是,所述丝杠2的两端与安装箱(1)的两侧壁体通过轴承(3)相连接。
5.根据权利要求1所述的一种PET聚酯薄膜分切机的裁切机构,其特征是,所述菱形铰接框架(5)至少为四组。
6.根据权利要求5所述的一种PET聚酯薄膜分切机的裁切机构,其特征是,所述菱形铰接框架(5)包括四个连杆(6),四个连杆(6)呈菱形设置,每相邻的两个连杆(6)通过铰链相连接。
7.根据权利要求3所述的一种PET聚酯薄膜分切机的裁切机构,其特征是,所述安装箱(1)的上侧壁体刻有尺度线(14)。
8.根据权利要求1所述的一种PET聚酯薄膜分切机的裁切机构,其特征是,所述转柄(11)的端面固定连接有转动把手(12)。
技术总结
本实用新型公开了一种PET聚酯薄膜分切机的裁切机构,包括安装箱,所述安装箱呈下端开口的U形形状,安装箱的内部设置有梯形槽,梯形槽内设置有梯形丝杠套,所述梯形丝杠套的安装孔转动套接有丝杠,丝杠的两端与安装箱的两侧壁体相转动连接,丝杠的右端穿过安装箱并固定连接有转柄;本实用新型的有益效果是:切刀切割出来的若干组PET聚酯薄膜的宽度是一样的,便于规模生产,对比传统的PET聚酯薄膜分切机不能进行切刀之间距离的调节或者只能每个切刀单独调节,本实用新型具有操作简单,便于调节的优势,采用安装箱的上侧壁体刻有尺度线的设计,使滑动板滑动的距离便于直观的观察,方便调节。
技术研发人员:陈波
受保护的技术使用者:深圳市贝菲科技有限公司
文档号码:201621357522
技术研发日:2016.12.12
技术公布日:2017.06.30