服务热线
180-5003-0233

本实用新型属于纸管加工设备技术领域,具体涉及一种高效率纸管分切机。
背景技术:
纸管分切机采用电动或气动运转切割的,造型美观简约。平台高度适中,方便操作,无噪音、传动负载耗电量小、采用圆刀切割,所切的纸管光滑平整不起毛、无翻边,无粉尘、精确度高。
但是现有的纸管分切机在装载纸管时需要自己进行移动和定位,浪费大量人力物力,还会因为定位不精确导致分切损坏,造成资源的浪费,而在工作时没有除尘组件,经常需要手动对刀片及周边进行除尘,影响工作效率,耽误工作时间,还会产生人身安全问题。
技术实现要素:
为解决上述背景技术中提出的问题。本实用新型提供了一种高效率纸管分切机,具有自动装卸及定位,自动除尘的特点。
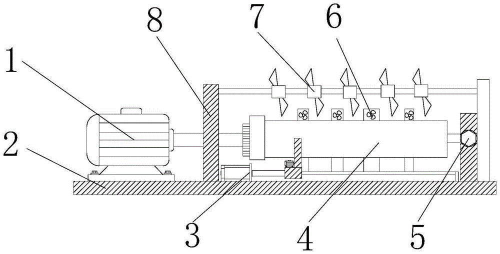
为实现上述目的,本实用新型提供如下技术方案:一种高效率纸管分切机,包括步进电机、底板、定位装卸组件、滚筒和除尘组件,所述步进电机的底端设置有底板,所述底板的顶端一侧设置有定位装卸组件,所述定位装卸组件的一侧设置有固定螺栓,所述定位装卸组件远离固定螺栓的一侧设置有固定板,所述固定板靠近固定螺栓的一侧设置有滚筒,所述滚筒的顶端均匀间隔设置有刀片,所述滚筒的一侧均匀间隔设置有除尘组件;
所述定位装卸组件包括气缸、气缸联动杆、气缸滑杆、气缸滑杆固定座、夹紧块、丝杆、第二锥形齿轮、第一锥形齿轮和夹紧电机,其中,所述气缸的一侧设置有气缸联动杆,所述气缸联动杆的内部设置有气缸滑杆,所述气缸滑杆远离气缸的一侧设置有气缸滑杆固定座,所述气缸滑杆的表面设置有夹紧块,所述夹紧块的顶端中间部位设置有夹紧电机,所述夹紧电机的一侧设置有第一锥形齿轮,所述第一锥形齿轮的表面对称设置有第二锥形齿轮,所述第二锥形齿轮远离第一锥形齿轮的一侧设置有丝杆;
所述除尘组件包括集尘板、出风口、安装座、减震垫和集尘风扇,其中,所述集尘风扇的表面设置有减震垫,所述减震垫的底端设置有集尘板,所述集尘板的底端一侧设置有出风口,所述出风口的底端设置有安装座。
优选的,所述滚筒靠近固定螺栓的一侧通过限位孔的方式进行固定。
优选的,所述刀片设置有五个且均匀间隔固定于滑杆表面。
优选的,所述气缸滑杆和气缸滑杆固定座之间通过活动螺栓的方式进行连接。
优选的,所述夹紧电机采用限位螺栓固定在夹紧块的顶端中间部位表面。
优选的,所述集尘板的内部设置有潮湿的集尘过滤网。
与现有技术相比,本实用新型的有益效果是:
1、本实用新型通过设置定位装卸组件,对需要加工的纸管进行定位和装卸,极大了简化了操作流程,确保了纸管加工的精确度,提高了工作效率和工作质量,节省了人力物力,保证了产品质量。
2、本实用新型通过设置除尘组件,在纸管分切机工作时进行除尘,确保了刀片的洁净度,节省了对刀片清洁的时间,降低了粉尘对纸管分切的影响程度,提高了工作效率,保证了工作质量,提高了工作环境。
附图说明
图1为本实用新型的结构示意图;
图2为本实用新型的定位装卸组件结构示意图;
图3为本实用新型的定位装卸组件夹紧部结构示意图;
图4为本实用新型的除尘组件结构示意图。
图中:1、步进电机;2、底板;3、定位装卸组件;31、气缸;32、气缸联动杆;33、气缸滑杆;34、气缸滑杆固定座;35、夹紧块;36、丝杆;37、第二锥形齿轮;38、第一锥形齿轮;39、夹紧电机;4、滚筒;5、固定螺栓;6、除尘组件;61、集尘板;62、出风口;63、安装座;64、减震垫;65、集尘风扇;7、刀片;8、固定板。
具体实施方式
下面将结合本实用新型实施例中的附图,对本实用新型实施例中的技术方案进行清楚、完整地描述,显然,所描述的实施例仅仅是本实用新型一部分实施例,而不是全部的实施例。基于本实用新型中的实施例,本领域普通技术人员在没有做出创造性劳动前提下所获得的所有其他实施例,都属于本实用新型保护的范围。
请参阅图1-4,本实用新型提供以下技术方案:一种高效率纸管分切机,包括步进电机1、底板2、定位装卸组件3、滚筒4和除尘组件6,步进电机1的底端设置有底板2,底板2的顶端一侧设置有定位装卸组件3,定位装卸组件3的一侧设置有固定螺栓5,定位装卸组件3远离固定螺栓5的一侧设置有固定板8,固定板8靠近固定螺栓5的一侧设置有滚筒4,滚筒4的顶端均匀间隔设置有刀片7,滚筒4的一侧均匀间隔设置有除尘组件6;
定位装卸组件3包括气缸31、气缸联动杆32、气缸滑杆33、气缸滑杆固定座34、夹紧块35、丝杆36、第二锥形齿轮37、第一锥形齿轮38和夹紧电机39,其中,气缸31的一侧设置有气缸联动杆32,气缸联动杆32的内部设置有气缸滑杆33,气缸滑杆33远离气缸31的一侧设置有气缸滑杆固定座34,气缸滑杆33的表面设置有夹紧块35,夹紧块35的顶端中间部位设置有夹紧电机39,夹紧电机39的一侧设置有第一锥形齿轮38,第一锥形齿轮38的表面对称设置有第二锥形齿轮37,第二锥形齿轮37远离第一锥形齿轮38的一侧设置有丝杆36;
除尘组件6包括集尘板61、出风口62、安装座63、减震垫64和集尘风扇65,其中,集尘风扇65的表面设置有减震垫64,减震垫64的底端设置有集尘板61,集尘板61的底端一侧设置有出风口62,出风口62的底端设置有安装座63。。
为了确保滚筒4在工作过程中不脱落,本实施例中,优选的,滚筒4靠近固定螺栓5的一侧通过限位孔的方式进行固定。
为了使纸管分切效率更高且能进行调整,本实施例中,优选的,刀片7设置有五个且均匀间隔固定于滑杆表面。
为了保证气缸滑杆33损坏时能够迅速更换,本实施例中,优选的,气缸滑杆33和气缸滑杆固定座34之间通过活动螺栓的方式进行连接。
为了确保夹紧电机39在损坏时能够更换,本实施例中,优选的,夹紧电机39采用限位螺栓固定在夹紧块35的顶端中间部位表面。
为了防止除尘组件6吸入粉尘后重新扬起,本实施例中,优选的,集尘板61的内部设置有潮湿的集尘过滤网。
本实用新型中气缸31为已经公开的广泛运用于日常生活的已知技术,其工作原理为:引导活塞在缸内进行直线往复运动的圆筒形金属机件,通过膨胀将热能转化为机械能;气体接受活塞压缩而提高压力,本实施例选用的型号为亚德客sda。
本实用新型中集尘风扇65为已经公开的广泛运用于日常生活的已知技术,其工作原理为:通电线圈在磁场中受力而转动。能量的转化形式是:电能主要转化为机械能,同时由于线圈有电阻,所以不可避免的有一部分电能要转化为热能,本实施例选用的型号为三巨集尘扇。
本实用新型的工作原理及使用流程:首先转动固定螺栓5,将固定螺栓5表面设置的挡板进行移动,使得滚筒4能够对需要分切的纸管进行装载,在将纸管的一端套入滚筒4后,启动夹紧电机39,夹紧电机39启动后带动第一锥形齿轮38转动,第一锥形齿轮38转动使得与其啮合连接的第二锥形齿轮37转动,第二锥形齿轮37转动带动丝杆36转动,丝杆36旋转将夹紧块35进行收缩,夹紧块35收缩并紧贴纸管后启动气缸31,气缸31启动带动气缸联动杆32收缩,气缸联动杆32收缩使得夹紧块35带动纸管进行移动,在确保夹紧块35移动到滚筒4的一侧后,夹紧电机39运转使得夹紧块35松开,将固定螺栓5重新固定,确保滚筒4表面的纸管固定完毕,若是加工较短的纸管,则可自动定位气缸联动杆32的位置,确保刀片7能够分切到纸管,在刀片7进行切割纸管时,会产生大量粉尘,此时启动除尘组件6,将产生的粉尘通过集尘风扇65吸入,在吸入除尘组件6内部后,由于设置有集尘板61且集尘板61内设置有潮湿过滤网,使得出风口62排出的空气不再带有粉尘,在工作完毕后松开固定螺栓5,再次启动气缸31以及夹紧电机39,将纸管通过夹紧块35夹紧并从滚筒4表面进行卸载,以便进行下一轮工作。
尽管已经示出和描述了本实用新型的实施例,对于本领域的普通技术人员而言,可以理解在不脱离本实用新型的原理和精神的情况下可以对这些实施例进行多种变化、修改、替换和变型,本实用新型的范围由所附权利要求及其等同物限定。
技术特征:
1.一种高效率纸管分切机,包括步进电机(1)、底板(2)、定位装卸组件(3)、滚筒(4)和除尘组件(6),其特征在于:所述步进电机(1)的底端设置有底板(2),所述底板(2)的顶端一侧设置有定位装卸组件(3),所述定位装卸组件(3)的一侧设置有固定螺栓(5),所述定位装卸组件(3)远离固定螺栓(5)的一侧设置有固定板(8),所述固定板(8)靠近固定螺栓(5)的一侧设置有滚筒(4),所述滚筒(4)的顶端均匀间隔设置有刀片(7),所述滚筒(4)的一侧均匀间隔设置有除尘组件(6);
所述定位装卸组件(3)包括气缸(31)、气缸联动杆(32)、气缸滑杆(33)、气缸滑杆固定座(34)、夹紧块(35)、丝杆(36)、第二锥形齿轮(37)、第一锥形齿轮(38)和夹紧电机(39),其中,所述气缸(31)的一侧设置有气缸联动杆(32),所述气缸联动杆(32)的内部设置有气缸滑杆(33),所述气缸滑杆(33)远离气缸(31)的一侧设置有气缸滑杆固定座(34),所述气缸滑杆(33)的表面设置有夹紧块(35),所述夹紧块(35)的顶端中间部位设置有夹紧电机(39),所述夹紧电机(39)的一侧设置有第一锥形齿轮(38),所述第一锥形齿轮(38)的表面对称设置有第二锥形齿轮(37),所述第二锥形齿轮(37)远离第一锥形齿轮(38)的一侧设置有丝杆(36);
所述除尘组件(6)包括集尘板(61)、出风口(62)、安装座(63)、减震垫(64)和集尘风扇(65),其中,所述集尘风扇(65)的表面设置有减震垫(64),所述减震垫(64)的底端设置有集尘板(61),所述集尘板(61)的底端一侧设置有出风口(62),所述出风口(62)的底端设置有安装座(63)。
2.根据权利要求1所述的一种高效率纸管分切机,其特征在于:所述滚筒(4)靠近固定螺栓(5)的一侧通过限位孔的方式进行固定。
3.根据权利要求1所述的一种高效率纸管分切机,其特征在于:所述刀片(7)设置有五个且均匀间隔固定于滑杆表面。
4.根据权利要求1所述的一种高效率纸管分切机,其特征在于:所述气缸滑杆(33)和气缸滑杆固定座(34)之间通过活动螺栓的方式进行连接。
5.根据权利要求1所述的一种高效率纸管分切机,其特征在于:所述夹紧电机(39)采用限位螺栓固定在夹紧块(35)的顶端中间部位表面。
6.根据权利要求1所述的一种高效率纸管分切机,其特征在于:所述集尘板(61)的内部设置有潮湿的集尘过滤网。
技术总结
本实用新型公开了一种高效率纸管分切机,包括步进电机、底板、定位装卸组件、滚筒和除尘组件,所述步进电机的底端设置有底板,所述底板的顶端一侧设置有定位装卸组件,所述定位装卸组件的一侧设置有固定螺栓,所述定位装卸组件远离固定螺栓的一侧设置有固定板,所述固定板靠近固定螺栓的一侧设置有滚筒,本实用新型通过设置定位装卸组件,对纸管进行定位和装卸,提高了工作效率和工作质量,节省了人力物力,保证了产品质量,通过设置除尘组件,在纸管分切机工作时进行除尘,确保了刀片的洁净度,节省了对刀片清洁的时间,降低了粉尘对纸管分切的影响程度,提高了工作效率,保证了工作质量,提高了工作环境。
技术研发人员:黄发
受保护的技术使用者:珠海太星纸制品有限公司
技术研发日:2019.05.17
技术公布日:2020.03.27