服务热线
180-5003-0233

1.本实用新型涉及复卷纸机技术领域,更具体地说,本实用新型涉及一种小卷复卷纸机加装升级自动换卷装置。
背景技术:
2.复卷机,是一种用于纸类、云母带、薄膜专用设备,其用途是将造纸机生产出来的纸卷(称为原纸卷)进行依次复卷,纸张经过复卷后做成成品纸出厂,随着时代的发展出现一种小卷复卷纸机用的自动换卷装置。
3.但是在实际使用时,小卷复卷纸机自动换卷的过程中自动换卷上下料时存在较大时间差,从而影响工作效率,同时在使用时容易因碎屑灰尘影响工作环境,在清理时,需要对装置暂停使用,才能进行清理,影响工作效率,因此就需要一种小卷复卷纸机加装升级自动换卷装置来解决此问题。
技术实现要素:
4.为了克服现有技术的上述缺陷,本实用新型的实施例提供一种小卷复卷纸机加装升级自动换卷装置,通过设置的自动换卷机构和废料收集装置,可以提高工作效率,保持工作环境的整洁,以解决上述背景技术中提出的问题。
5.为实现上述目的,本实用新型提供如下技术方案:一种小卷复卷纸机加装升级自动换卷装置,包括复卷纸机,所述复卷纸机的前侧壁体左侧设置有控制面板,所述复卷纸机的前侧设置有送料装置,所述送料装置的右侧设置有下料板,所述复卷纸机的内腔右侧固定连接下料装置,所述复卷纸机的内腔顶部固定连接有下压装置,所述复卷纸机的内腔后侧设置有自动换卷机构;
6.所述自动换卷机构包括转动板、转动杆、收卷轴、第一电机、离心齿轮和第二电机,所述复卷纸机的内腔后侧壁体设置有转动板,所述转动板的表面正中插设有转动杆,所述转动板的表面边缘插设有收卷轴,所述复卷纸机的内腔后侧设置有第一电机,所述第一电机的前端固定连接有离心齿轮,所述第一电机的左侧设置有第二电机。
7.在一个优选地实施方式中,所述复卷纸机的右侧底部插设有集料抽屉,所述复卷纸机的内腔底部设置有液压推杆,所述液压推杆的右端固定连接有吸尘口,所述液压推杆的底部设置有抽气泵,所述抽气泵的顶部固定连接有吸尘管,所述抽气泵的右侧固定连接有排尘管。
8.在一个优选地实施方式中,所述吸尘管远离抽气泵的一端与吸尘口的左侧固定连接,所述吸尘管的中部设置有伸缩管,所述排尘管远离抽气泵的一端延伸至集料抽屉的顶部。
9.在一个优选地实施方式中,所述转动杆的后端固定套设有第一传动齿轮,所述第一传动齿轮设置在离心齿轮的左侧,所述第一传动齿轮的右侧壁体与离心齿轮的壁体相啮合。
10.在一个优选地实施方式中,所述收卷轴的后端固定套设有第二传动齿轮,所述第二电机的前端固定套设有主动齿轮,所述主动齿轮设置在左侧第二传动齿轮的左侧,所述主动齿轮的壁体与第二传动齿轮的壁体相啮合。
11.在一个优选地实施方式中,所述收卷轴的数量为三根,均匀设置在转动板的中部边缘,所述收卷轴与转动板转动连接。
12.在一个优选地实施方式中,所述下料装置设置在右侧收卷轴的正右侧,所述送料装置设置在左侧收卷轴的正前方。
13.本实用新型的技术效果和优点:
14.1、通过设置的自动换卷机构,可以通过第一电机带动离心齿轮旋转,从而通过第一传动齿轮带动转动杆旋转,进而带动转动板旋转,使三个收卷轴可以循环转动,进而方便对收卷轴进行自动更换,方便使用,同时不用对第一电机进行停机,提高工作效率,同时通过第二电机带动主动齿轮旋转,进而带动相对应的第二传动齿轮旋转,即可使收进行收卷工作的卷轴旋转,完成收卷工作,同时在收卷轴完成收卷后,转动杆旋转带动转动板旋转,将收卷轴与第二传动齿轮移走,并逐渐停止转动,从而方便后面的下料工作;
15.2、通过设置的集料抽屉、液压推杆、吸尘口、抽气泵、吸尘管和排尘管的配合,可以通过启动抽气泵通过吸尘口将复卷纸机内腔底部的废料和灰尘颗粒进行吸收并通过排尘管排入到集料抽屉的内部,进行收集,从而保持收卷环境的干净整洁,并通过液压推杆带动吸尘口在复卷纸机的内腔底部左右移动,可以提高收集废料的效率和全面性。
附图说明
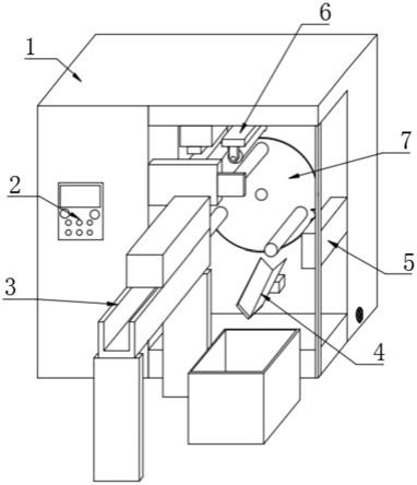
16.图1为本实用新型的整体结构示意图。
17.图2为本实用新型的自动换卷机构结构示意图。
18.图3为本实用新型的复卷纸机的底部剖面结构示意图。
19.图4为本实用新型的离心齿轮的结构示意图。
20.附图标记为:1、复卷纸机;2、控制面板;3、送料装置;4、下料板;5、下料装置;6、下压装置;7、转动板;8、转动杆;9、收卷轴;10、第一电机;11、离心齿轮;12、第二电机;13、集料抽屉;14、液压推杆;15、吸尘口;16、抽气泵;17、吸尘管;18、排尘管;19、第一传动齿轮;20、第二传动齿轮;21、主动齿轮。
具体实施方式
21.下面将结合本实用新型实施例中的附图,对本实用新型实施例中的技术方案进行清楚、完整地描述,显然,所描述的实施例仅仅是本实用新型一部分实施例,而不是全部的实施例。基于本实用新型中的实施例,本领域普通技术人员在没有做出创造性劳动前提下所获得的所有其他实施例,都属于本实用新型保护的范围。
22.如附图1-4所示的一种小卷复卷纸机加装升级自动换卷装置,包括复卷纸机1,复卷纸机1的前侧壁体左侧设置有控制面板2,复卷纸机1的前侧设置有送料装置3,送料装置3的右侧设置有下料板4,复卷纸机1的内腔右侧固定连接下料装置5,复卷纸机1的内腔顶部固定连接有下压装置6,复卷纸机1的内腔后侧设置有自动换卷机构;
23.自动换卷机构包括转动板7、转动杆8、收卷轴9、第一电机10、离心齿轮11和第二电
机12,复卷纸机1的内腔后侧壁体设置有转动板7,转动板7的表面正中插设有转动杆8,转动板7的表面边缘插设有收卷轴9,复卷纸机1的内腔后侧设置有第一电机10,第一电机10的前端固定连接有离心齿轮11,第一电机10的左侧设置有第二电机12。
24.如附图3所示,复卷纸机1的右侧底部插设有集料抽屉13,复卷纸机1的内腔底部设置有液压推杆14,液压推杆14的右端固定连接有吸尘口15,液压推杆14的底部设置有抽气泵16,抽气泵16的顶部固定连接有吸尘管17,抽气泵16的右侧固定连接有排尘管18,以便于对复卷纸机1的内腔底部进行清理。
25.如附图3所示,吸尘管17远离抽气泵16的一端与吸尘口15的左侧固定连接,吸尘管17的中部设置有伸缩管,排尘管18远离抽气泵16的一端延伸至集料抽屉13的顶部,以便于通过液压推杆14将吸尘口15在复卷纸机1的内腔底部左右滑动,并通过抽气泵16对复卷纸机1内部的灰尘颗粒和意外掉落的废料进行吸收清理,并排入到集料抽屉13的内部进行收集。
26.如附图2所示,转动杆8的后端固定套设有第一传动齿轮19,第一传动齿轮19设置在离心齿轮11的左侧,第一传动齿轮19的右侧壁体与离心齿轮11的壁体相啮合,以便于通过第一电机10带动离心齿轮11旋转从而通过第一传动齿轮19带动转动杆8旋转,进而使转动板7可以定时旋转固定角度,从而方便留有时间上下料。
27.如附图2所示,收卷轴9的后端固定套设有第二传动齿轮20,第二电机12的前端固定套设有主动齿轮21,主动齿轮21设置在左侧第二传动齿轮20的左侧,主动齿轮21的壁体与第二传动齿轮20的壁体相啮合,以便于第二传动齿轮20移动在主动齿轮21的右侧并与第二传动齿轮20相啮合时,可以通过第二电机12带动主动齿轮21旋转从而通过第二传动齿轮20带动收卷轴9转动,进行卷纸工作,同时可以在收卷轴9与第二传动齿轮20移开时停止旋转,方便下料。
28.如附图1和2所示,收卷轴9的数量为三根,均匀设置在转动板7的中部边缘,收卷轴9与转动板7转动连接,以便于一根收卷时,一根下料,一根上料,可以使三根收卷轴9同步进行,节省工作时间,提高工作效率.
29.如附图1和2所示,下料装置5设置在右侧收卷轴9的正右侧,送料装置3设置在左侧收卷轴9的正前方,以便于对收卷轴9进行同时上下料,提高工作效率。
30.本实用新型工作原理:使用时,通过送料装置3将套筒套在相对应收卷轴9的中部,然后启动第一电机10带动离心齿轮11旋转,当离心齿轮11表面齿轮移动到左侧时与第一传动齿轮19相啮合,并通过第一传动齿轮19带动转动杆8旋转一定弧度,从而带动转动板7旋转一定弧度,即可将左侧底部收卷轴9移动到顶部,使收卷轴9后侧第二传动齿轮20与主动齿轮21相啮合,从而启动第二电机12通过主动齿轮21带动相对应的第二传动齿轮20与收卷轴9旋转,进行收卷工作,同时底部送料装置3会将套筒套在相对应收卷轴9的中部;
31.当收卷完成时,刚好离心齿轮11转动一圈并继续带动第一传动齿轮19旋转,以此带动转动板7旋转,从而使收卷完成的收卷轴9移动到右侧底部,完成套筒上料的收卷轴9移动到顶部进行收卷,即可完成自动换卷工作,提高工作效率,然后通过下料装置5对需要下料的收卷轴9进行下料,即可完成循环自动换卷和上料下料的工作;
32.当需要对复卷纸机1内腔底部进行清理时,启动抽气泵16通过吸尘口15与吸尘管17进行吸收清理,并通过排尘管18传入集料抽屉13的内部,进行集中处理,同时可以通过启
动液压推杆14带动吸尘口15左右移动,可以提高对复卷纸机1内腔底部清理的效率和质量。
33.最后应说明的几点是:首先,在本技术的描述中,需要说明的是,除非另有规定和限定,术语“安装”、“相连”、“连接”应做广义理解,可以是机械连接或电连接,也可以是两个元件内部的连通,可以是直接相连,“上”、“下”、“左”、“右”等仅用于表示相对位置关系,当被描述对象的绝对位置改变,则相对位置关系可能发生改变;
34.其次:本实用新型公开实施例附图中,只涉及到与本公开实施例涉及到的结构,其他结构可参考通常设计,在不冲突情况下,本实用新型同一实施例及不同实施例可以相互组合;
35.最后:以上所述仅为本实用新型的优选实施例而已,并不用于限制本实用新型,凡在本实用新型的精神和原则之内,所作的任何修改、等同替换、改进等,均应包含在本实用新型的保护范围之内。
技术特征:
1.一种小卷复卷纸机加装升级自动换卷装置,包括复卷纸机(1),其特征在于:所述复卷纸机(1)的前侧壁体左侧设置有控制面板(2),所述复卷纸机(1)的前侧设置有送料装置(3),所述送料装置(3)的右侧设置有下料板(4),所述复卷纸机(1)的内腔右侧固定连接下料装置(5),所述复卷纸机(1)的内腔顶部固定连接有下压装置(6),所述复卷纸机(1)的内腔后侧设置有自动换卷机构;所述自动换卷机构包括转动板(7)、转动杆(8)、收卷轴(9)、第一电机(10)、离心齿轮(11)和第二电机(12),所述复卷纸机(1)的内腔后侧壁体设置有转动板(7),所述转动板(7)的表面正中插设有转动杆(8),所述转动板(7)的表面边缘插设有收卷轴(9),所述复卷纸机(1)的内腔后侧设置有第一电机(10),所述第一电机(10)的前端固定连接有离心齿轮(11),所述第一电机(10)的左侧设置有第二电机(12)。2.根据权利要求1所述的一种小卷复卷纸机加装升级自动换卷装置,其特征在于:所述复卷纸机(1)的右侧底部插设有集料抽屉(13),所述复卷纸机(1)的内腔底部设置有液压推杆(14),所述液压推杆(14)的右端固定连接有吸尘口(15),所述液压推杆(14)的底部设置有抽气泵(16),所述抽气泵(16)的顶部固定连接有吸尘管(17),所述抽气泵(16)的右侧固定连接有排尘管(18)。3.根据权利要求2所述的一种小卷复卷纸机加装升级自动换卷装置,其特征在于:所述吸尘管(17)远离抽气泵(16)的一端与吸尘口(15)的左侧固定连接,所述吸尘管(17)的中部设置有伸缩管,所述排尘管(18)远离抽气泵(16)的一端延伸至集料抽屉(13)的顶部。4.根据权利要求1所述的一种小卷复卷纸机加装升级自动换卷装置,其特征在于:所述转动杆(8)的后端固定套设有第一传动齿轮(19),所述第一传动齿轮(19)设置在离心齿轮(11)的左侧,所述第一传动齿轮(19) 的右侧壁体与离心齿轮(11)的壁体相啮合。5.根据权利要求1所述的一种小卷复卷纸机加装升级自动换卷装置,其特征在于:所述收卷轴(9)的后端固定套设有第二传动齿轮(20),所述第二电机(12)的前端固定套设有主动齿轮(21),所述主动齿轮(21)设置在左侧第二传动齿轮(20)的左侧,所述主动齿轮(21)的壁体与第二传动齿轮(20)的壁体相啮合。6.根据权利要求1所述的一种小卷复卷纸机加装升级自动换卷装置,其特征在于:所述收卷轴(9)的数量为三根,均匀设置在转动板(7)的中部边缘,所述收卷轴(9)与转动板(7)转动连接。7.根据权利要求1所述的一种小卷复卷纸机加装升级自动换卷装置,其特征在于:所述下料装置(5)设置在右侧收卷轴(9)的正右侧,所述送料装置(3)设置在左侧收卷轴(9)的正前方。
技术总结
本实用新型公开了一种小卷复卷纸机加装升级自动换卷装置,具体涉及复卷纸机领域,包括复卷纸机,所述复卷纸机的前侧壁体左侧设置有控制面板,所述复卷纸机的前侧设置有送料装置,所述送料装置的右侧设置有下料板,所述复卷纸机的内腔右侧固定连接下料装置,所述复卷纸机的内腔顶部固定连接有下压装置,所述复卷纸机的内腔后侧设置有自动换卷机构。本实用新型通过设置的自动换卷机构,可以通过第一电机带动离心齿轮旋转,从而通过第一传动齿轮带动转动杆旋转,进而带动转动板旋转,使三个收卷轴可以循环转动,进而方便对收卷轴进行自动更换,方便使用,同时不用对第一电机进行停机,提高工作效率。高工作效率。高工作效率。
技术研发人员:徐飞
受保护的技术使用者:北京爱华中兴纸业有限公司
技术研发日:2021.11.05
技术公布日:2022/4/5