服务热线
180-5003-0233

1.本实用新型涉及胶带纸管穿管领域,尤其是一种纸管穿管机。
背景技术:
2.胶带分条机可以同时将多个纸管缠绕上胶带,后续不需要进行切管作业。但是将分条机的轴上套上纸管需要人工花费较长的时间,同时人工套装的轴向位置不固定,容易造成纸管和胶带之间不对齐。
技术实现要素:
3.本实用新型旨在解决上述问题,提供了一种纸管穿管机,解决了人工穿管时间长、精度差的问题。
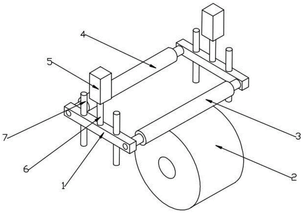
4.一种纸管穿管机,包括:料斗、倾斜板、固定块、转动块、机架和第一气缸,所述机架上方前后两侧分别与和固定块和料斗固定连接,所述倾斜板位于料斗和固定块之间并与机架固定连接,所述料斗形成有出口,所述倾斜板形成有连通槽,所述固定块形成有第一槽,所述连通槽两端分别与出口和第一槽相连通,所述固定块远离料斗的一端与转动块转动连接,所述第一气缸位于第一槽右侧且第一气缸的缸体与机架固定连接。
5.进一步地,所述固定块还形成有第一半圆槽,所述第一槽和第一半圆槽沿直线交替排布;所述转动块形成有第二半圆槽和第三半圆槽,所述第二半圆槽和第三半圆槽沿直线交替排布。
6.进一步地,所述第一槽的半径大于第一半圆槽的半径,所述第二半圆槽的半径大于第三半圆槽的半径;所述第二半圆槽与第一槽的半径相等且相对应。
7.进一步地,还包括凹板,所述凹板位于第一槽左侧,所述凹板位于机架上方。
8.进一步地,还包括容纳桶,所述凹板一侧与转动轴固定连接,另一侧与第三气缸的活塞杆转动连接,所述转动轴两端分别与机架转动连接,所述第三气缸的缸体与机架转动连接,所述容纳桶位于机架下方。
9.进一步地,所述容纳桶下方形成有斜面。
10.进一步地,还包括连接块,所述第一气缸的活塞杆与连接块固定连接,所述连接块形成有固定槽。
11.进一步地,还包括振动电机、短隔板和长隔板,所述短隔板和长隔板位于料斗内部并与料斗固定连接,所述短隔板和长隔板交替排布,所述振动电机与料斗外侧面固定连接,所述长隔板上表面的高度高于短隔板上表面的高度。
12.进一步地,还包括料管,所述料管插入料斗中并相对料斗位置固定。
13.进一步地,还包括第二气缸,所述第二气缸的缸体与机架转动连接,所述第二气缸的活塞杆与转动块转动连接。
14.本实用新型具有如下优点:通过使用第一气缸驱动轴移动,可以先将轴上的胶带卷撸下来,然后将轴穿入纸管内部和纸管固定,第一气缸收缩到最小行程时,纸管的套装完
成,保证了纸管相对轴的轴向位置精度,同时节约了时间,解决了人工穿管时间长、精度差的问题;生产后的纸管直接投入料管当中,不需要转运纸管,加快了工作效率。
附图说明
15.为了更清楚地说明本实用新型实施例或现有技术中的技术方案,下面将对实施例或现有技术描述中所需要使用的附图作简单地介绍。显而易见地,下面描述中的附图仅仅是本实用新型的一种实施例,对于本领域普通技术人员来讲,在不付出创造性劳动的前提下,还可以根据提供的附图引伸获得其它的实施附图。
16.图1:本实用新型的俯视示意图;
17.图2:本实用新型的侧视剖视示意图(转动块打开);
18.图3:本实用新型的侧视剖视示意图(转动块关闭);
19.图4:凹板的侧视剖视示意图;
20.图5:料斗的主视剖视示意图。
具体实施方式
21.下面结合附图和实例对本实用新型作进一步说明:
22.下面详细描述本实用新型的实施例,所述实施例的示例在附图中示出,其中自始至终相同或类似的标号表示相同或类似的元件或具有相同或类似功能的元件。下面通过参考附图描述的实施例是示例性的,仅用于解释本实用新型,而不能理解为对本实用新型的限制。
23.在本实用新型的描述中,需要说明的是,除非另有明确的规定和限定,术语“安装”、“相连”、“连接”应做广义理解,例如,可以是固定连接,也可以是可拆卸连接,或一体地连接;可以是直接相连,也可以通过中间媒介间接相连。对于本领域的普通技术人员而言,可以具体情况理解上述术语在本实用新型中的具体含义。
24.在本实用新型的描述中,需要理解的是,术语“上”、“下”、“前”、“后”、“左”、“右”、“竖直”、“水平”、“顶”、“底”、“内”、“外”等指示的方位或位置关系为基于附图所示的方位或位置关系,仅是为了便于描述本实用新型和简化描述,而不是指示或暗示所指的装置或元件必须具有特定的方位、以特定的方位构造和操作,因此不能理解为对本实用新型的限制。
25.实施例一:
26.如图1到图5所示,本实施例提供了一种纸管穿管机,包括:料斗1、倾斜板2、固定块3、转动块4、机架5和第一气缸6,所述机架5上方前后两侧分别与和固定块3和料斗1固定连接,所述倾斜板2位于料斗1和固定块3之间并与机架5固定连接,所述料斗1形成有出口11,所述倾斜板2形成有连通槽21,所述固定块3形成有第一槽31,所述连通槽21两端分别与出口11和第一槽31相连通,所述固定块3远离料斗1的一端与转动块4转动连接,所述第一气缸6位于第一槽31右侧且第一气缸6的缸体与机架5固定连接。
27.进一步地,所述固定块3还形成有第一半圆槽32,所述第一槽31和第一半圆槽32沿直线交替排布;所述转动块4形成有第二半圆槽41和第三半圆槽42,所述第二半圆槽41和第三半圆槽42沿直线交替排布。
28.进一步地,所述第一槽31的半径(第一槽31的半径指的是第一槽31圆弧面所对应
的半径)大于第一半圆槽32的半径,所述第二半圆槽41的半径大于第三半圆槽42的半径;所述第二半圆槽41与第一槽31的半径相等且相对应。
29.进一步地,还包括凹板7,所述凹板7位于第一槽31左侧,所述凹板7位于机架5上方。
30.进一步地,还包括容纳桶73,所述凹板7一侧与转动轴72固定连接,另一侧与第三气缸71的活塞杆转动连接,所述转动轴72两端分别与机架5转动连接,所述第三气缸71的缸体与机架5转动连接,所述容纳桶73位于机架5下方。
31.进一步地,所述容纳桶73下方形成有斜面74。
32.进一步地,还包括连接块61,所述第一气缸6的活塞杆与连接块61固定连接,所述连接块61形成有固定槽62。
33.进一步地,还包括振动电机12、短隔板13和长隔板14,所述短隔板13和长隔板14位于料斗1内部并与料斗1固定连接,所述短隔板13和长隔板14交替排布,所述振动电机12与料斗1外侧面固定连接,所述长隔板14上表面的高度高于短隔板13上表面的高度。
34.进一步地,还包括料管10,所述料管10插入料斗1中并相对料斗1位置固定。
35.进一步地,还包括第二气缸43,所述第二气缸43的缸体与机架5转动连接,所述第二气缸43的活塞杆与转动块4转动连接。
36.工作原理:
37.机架5比料管10的端部低一层,如机架5固定安装在厂房一楼,则料管10上方的端部安装在厂房二楼。生产纸管8的设备位于二楼,生产出的纸管8可以直接投入料管10中,纸管8收重力沿着料管10运动到料斗1内部。纸管8直接落入短隔板13和长隔板14之间,或者先与短隔板13和长隔板14上端接触,然后纸管8受重力倾斜落入短隔板13和长隔板14之间。为了防止纸管8堵塞短隔板13和长隔板14之间的空间,振动电机12间歇性震动,使纸管8运动,防止堵塞。
38.纸管8从出口11处滚出,然后沿着连通槽21滚动进入到第一槽31中。工人手工将分条机的轴91拆下放在凹板7上方,轴91上有多个缠绕有胶带的胶带卷9。第二气缸43伸长,将转动块4关闭,如图3所示。此时,纸管8不能沿着轴向运动。轴91的凸起插入到固定槽62中,第一气缸6拉动轴91向右运动。轴91上的胶带卷9被固定块3和转动块4的端面止挡,从而被撸下轴91,而轴91插入到纸管8内部和纸管8固定。
39.之后,第三气缸71伸长驱动凹板7转动,将胶带卷9倒入容纳桶73中,之后第三气缸71收缩。第二气缸43收缩,如图2所示。工人将轴91连同纸管8一同拿出来,然后将轴91安装在分条机内部,进行缠绕胶带的作业。
40.其中,短隔板13和长隔板14之间的距离大于一个纸管8的轴向宽度且小于两个纸管8的轴向宽度。连通槽21的宽度大于一个纸管8的轴向宽度且小于两个纸管8的轴向宽度。短隔板13和长隔板14之间的空间和连通槽21相连通。
41.上面以举例方式对本实用新型进行了说明,但本实用新型不限于上述具体实施例,凡基于本实用新型所做的任何改动或变型均属于本实用新型要求保护的范围。
技术特征:
1.一种纸管穿管机,其特征在于,包括:料斗(1)、倾斜板(2)、固定块(3)、转动块(4)、机架(5)和第一气缸(6),所述机架(5)上方前后两侧分别与和固定块(3)和料斗(1)固定连接,所述倾斜板(2)位于料斗(1)和固定块(3)之间并与机架(5)固定连接,所述料斗(1)形成有出口(11),所述倾斜板(2)形成有连通槽(21),所述固定块(3)形成有第一槽(31),所述连通槽(21)两端分别与出口(11)和第一槽(31)相连通,所述固定块(3)远离料斗(1)的一端与转动块(4)转动连接,所述第一气缸(6)位于第一槽(31)右侧且第一气缸(6)的缸体与机架(5)固定连接。2.根据权利要求1所述的一种纸管穿管机,其特征在于:所述固定块(3)还形成有第一半圆槽(32),所述第一槽(31)和第一半圆槽(32)沿直线交替排布;所述转动块(4)形成有第二半圆槽(41)和第三半圆槽(42),所述第二半圆槽(41)和第三半圆槽(42)沿直线交替排布。3.根据权利要求2所述的一种纸管穿管机,其特征在于:所述第一槽(31)的半径大于第一半圆槽(32)的半径,所述第二半圆槽(41)的半径大于第三半圆槽(42)的半径;所述第二半圆槽(41)与第一槽(31)的半径相等且相对应。4.根据权利要求1所述的一种纸管穿管机,其特征在于:还包括凹板(7),所述凹板(7)位于第一槽(31)左侧,所述凹板(7)位于机架(5)上方。5.根据权利要求4所述的一种纸管穿管机,其特征在于:还包括容纳桶(73),所述凹板(7)一侧与转动轴(72)固定连接,另一侧与第三气缸(71)的活塞杆转动连接,所述转动轴(72)两端分别与机架(5)转动连接,所述第三气缸(71)的缸体与机架(5)转动连接,所述容纳桶(73)位于机架(5)下方。6.根据权利要求5所述的一种纸管穿管机,其特征在于:所述容纳桶(73)下方形成有斜面(74)。7.根据权利要求1所述的一种纸管穿管机,其特征在于:还包括连接块(61),所述第一气缸(6)的活塞杆与连接块(61)固定连接,所述连接块(61)形成有固定槽(62)。8.根据权利要求1所述的一种纸管穿管机,其特征在于:还包括振动电机(12)、短隔板(13)和长隔板(14),所述短隔板(13)和长隔板(14)位于料斗(1)内部并与料斗(1)固定连接,所述短隔板(13)和长隔板(14)交替排布,所述振动电机(12)与料斗(1)外侧面固定连接,所述长隔板(14)上表面的高度高于短隔板(13)上表面的高度。9.根据权利要求1所述的一种纸管穿管机,其特征在于:还包括料管(10),所述料管(10)插入料斗(1)中并相对料斗(1)位置固定。10.根据权利要求1所述的一种纸管穿管机,其特征在于:还包括第二气缸(43),所述第二气缸(43)的缸体与机架(5)转动连接,所述第二气缸(43)的活塞杆与转动块(4)转动连接。
技术总结
本实用新型涉及一种纸管穿管机,包括:料斗、倾斜板、固定块、转动块、机架和第一气缸,机架上方前后两侧分别与和固定块和料斗固定连接,倾斜板位于料斗和固定块之间并与机架固定连接,料斗形成有出口,倾斜板形成有连通槽,固定块形成有第一槽,连通槽两端分别与出口和第一槽相连通,固定块远离料斗的一端与转动块转动连接,第一气缸位于第一槽右侧且第一气缸的缸体与机架固定连接。本实用新型通过使用第一气缸驱动轴移动,可以先将轴上的胶带卷撸下来,然后将轴穿入纸管内部和纸管固定,第一气缸收缩到最小行程时,纸管的套装完成,保证了纸管相对轴的轴向位置精度,同时节约了时间,解决了人工穿管时间长、精度差的问题。精度差的问题。精度差的问题。
技术研发人员:付宗生
受保护的技术使用者:青岛玉龙包装设备有限公司
技术研发日:2021.11.02
技术公布日:2022/3/15