服务热线
180-5003-0233

1.本实用新型涉及分条机排刀技术领域,尤其涉及分条机智能自动排刀机构。
背景技术:
2.分条机是一种对宽卷材料进行纵向切割的设备,根据其使用范围可分为以下几类:用于分条纸张、皮革、布类、塑料、薄膜等等所需求的行业,分条机排刀时一般先确定两刀轴端面相差,找到基准隔套固定不动,再根据分条宽度排刀,上为内刀,下为外刀,即上面两把刀左右外侧两边为剪切面,下刀两个内侧为剪切面,刀隙是根据材料厚度为基数计数。
3.目前分条机排刀大多为人工操作,且因精度需要反复调整刀片的位置,导致排刀过程较为繁琐不便,影响分条机排刀的便捷性和效率,同时影响工作人员的劳动强度。
技术实现要素:
4.本实用新型的目的是为了解决现有技术中分条机人工排刀因精度需要反复调整刀片的位置,导致排刀过程较为繁琐不便,影响分条机排刀的便捷性和效率,同时影响工作人员劳动强度的问题,而提出的分条机智能自动排刀机构。
5.为了实现上述目的,本实用新型采用了如下技术方案:
6.分条机智能自动排刀机构,包括安装板,所述安装板的下表面固定连接有两个对称分布的挂钩,两个所述挂钩的外壁共同活动连接有固定板,所述固定板的底端固定连接有电子游标卡尺,所述电子游标卡尺的固定端和活动端均固定连接有卡板,其中一个所述卡板的外壁开设有固定通孔,所述固定通孔的孔壁固定连接有位移传感器,所述固定板的杆壁固定连接有两个滚动轴承,两个所述滚动轴承的内壁共同固定连接有螺杆,所述螺杆的杆壁螺纹连接有螺母,所述螺母的两侧外壁均固定连接有固定块,所述固定块的外壁与电子游标卡尺移动端的外壁固定连接,所述固定板的杆壁开设有安装孔,且安装孔的孔壁固定连接有驱动机构。
7.优选的,所述驱动机构包括马达,所述马达的外壁与固定板的安装孔内壁固定连接,所述马达的输出端固定连接有主动齿轮,所述螺杆的杆壁固定套接有从动齿轮,所述从动齿轮的外壁与主动齿轮的外壁相互啮合,所述固定板的上表面固定连接有控制器。
8.优选的,所述固定板的上表面固定连接有把手。
9.优选的,所述固定板的下表面开设有限位槽,所述限位槽的槽壁活动连接有限位杆,所述限位杆的底端与螺母的外壁固定连接。
10.优选的,所述安装板的上表面开设有两个对称分布的连接通孔。
11.优选的,两个所述卡板的下表面均开设有弧形凹槽。
12.与现有技术相比,本实用新型提供了分条机智能自动排刀机构,具备以下有益效果:
13.该分条机智能自动排刀机构,通过设置有马达、电子游标卡尺和位移传感器,安装板通过连接通孔和螺栓安装在分条机上,之后分条机需要排刀的时候,首先固定第一个刀
片,之后把电子游标卡尺固定端的卡板移动到第一刀片处,之后计算第一刀片和第二刀片的间隙,同时在控制器上设置间隙数据,接着启动马达,马达通过主动齿轮和从动齿轮使螺杆旋转,螺杆旋转使螺母移动,螺母通过固定块使电子游标卡尺的移动端移动,电子游标卡尺的移动端通过卡板推动第二刀片靠近第一刀片,此时位移传感器给控制器发生信号,在位移传感器检测两个卡板直接间隙与排刀间隙数据一致时发生信号给控制器,控制器控制马达停止转动,保障刀片安装位置精确,且不需要反复调整,该机构能够有效提高分条机排刀的便捷性和效率,同时能够降低工作人员的劳动强度。
14.该装置中未涉及部分均与现有技术相同或可采用现有技术加以实现,本实用新型能够有效提高分条机排刀的便捷性和效率,同时能够降低工作人员的劳动强度。
附图说明
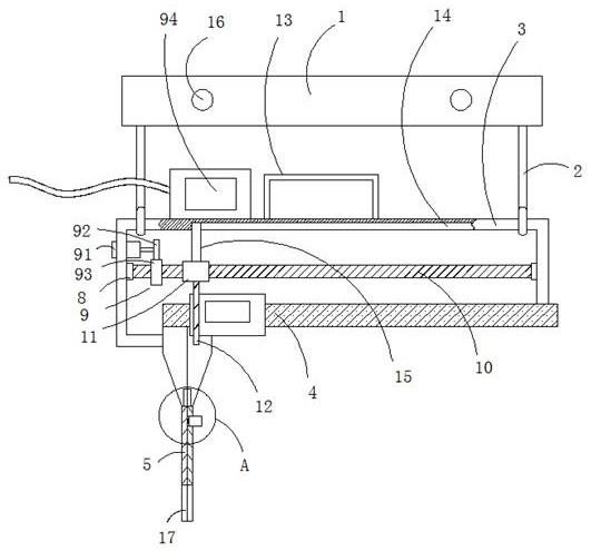
15.图1为本实用新型提出的分条机智能自动排刀机构的结构示意图;
16.图2为本实用新型提出的分条机智能自动排刀机构a部分的结构示意图。
17.图中:1安装板、2挂钩、3固定板、4电子游标卡尺、5卡板、6固定通孔、7位移传感器、8滚动轴承、9驱动机构、91马达、92主动齿轮、93从动齿轮、94控制器、10螺杆、11螺母、12固定块、13把手、14限位槽、15限位杆、16连接通孔、17弧形凹槽。
具体实施方式
18.下面将结合本实用新型实施例中的附图,对本实用新型实施例中的技术方案进行清楚、完整地描述,显然,所描述的实施例仅仅是本实用新型一部分实施例,而不是全部的实施例。
19.在本实用新型的描述中,需要理解的是,术语“上”、“下”、“前”、“后”、“左”、“右”、“顶”、“底”、“内”、“外”等指示的方位或位置关系为基于附图所示的方位或位置关系,仅是为了便于描述本实用新型和简化描述,而不是指示或暗示所指的装置或元件必须具有特定的方位、以特定的方位构造和操作,因此不能理解为对本实用新型的限制。
20.参照图1
2,分条机智能自动排刀机构,包括安装板1,安装板1的下表面固定连接有两个对称分布的挂钩2,两个挂钩2的外壁共同活动连接有固定板3,固定板3的底端固定连接有电子游标卡尺4,电子游标卡尺4的固定端和活动端均固定连接有卡板5,其中一个卡板5的外壁开设有固定通孔6,固定通孔6的孔壁固定连接有位移传感器7,固定板3的杆壁固定连接有两个滚动轴承8,两个滚动轴承8的内壁共同固定连接有螺杆10,螺杆10的杆壁螺纹连接有螺母11,螺母11的两侧外壁均固定连接有固定块12,固定块12的外壁与电子游标卡尺4移动端的外壁固定连接,固定板3的杆壁开设有安装孔,且安装孔的孔壁固定连接有驱动机构9。
21.驱动机构9包括马达91,马达91的外壁与固定板3的安装孔内壁固定连接,马达91的输出端固定连接有主动齿轮92,螺杆10的杆壁固定套接有从动齿轮93,从动齿轮93的外壁与主动齿轮92的外壁相互啮合,固定板3的上表面固定连接有控制器94。
22.固定板3的上表面固定连接有把手13,把手13能够方便取拿排刀机构。
23.固定板3的下表面开设有限位槽14,限位槽14的槽壁活动连接有限位杆15,限位杆15的底端与螺母11的外壁固定连接。
24.安装板1的上表面开设有两个对称分布的连接通孔16,连接通孔16能够方便在分条机上安装排刀机构。
25.两个卡板5的下表面均开设有弧形凹槽17,弧形凹槽17能够方便卡板5沿着轴外壁移动刀片,马达91和位移传感器7均通过导线与控制器94的连接端电性连接,此电性连接为现有技术,同时马达91、控制器94和位移传感器7也为现有技术,且属于本领域人员惯用技术手段,因此不加以赘述。
26.本实用新型中,安装板1通过连接通孔16和螺栓安装在分条机上,之后分条机需要排刀的时候,首先固定第一个刀片,之后把电子游标卡尺4固定端的卡板5移动到第一刀片处,之后计算第一刀片和第二刀片的间隙,同时在控制器94上设置间隙数据,接着启动马达91,马达91通过主动齿轮92和从动齿轮93使螺杆10旋转,螺杆10旋转使螺母11移动,螺母11通过固定块12使电子游标卡尺4的移动端移动,电子游标卡尺4的移动端通过卡板5推动第二刀片靠近第一刀片,此时位移传感器7给控制器94发生信号,在位移传感器7检测两个卡板5直接间隙与排刀间隙数据一致时发生信号给控制器94,控制器94控制马达91停止转动,保障刀片安装位置精确,且不需要反复调整,该机构能够有效提高分条机排刀的便捷性和效率,同时能够降低工作人员的劳动强度。
27.以上所述,仅为本实用新型较佳的具体实施方式,但本实用新型的保护范围并不局限于此,任何熟悉本技术领域的技术人员在本实用新型揭露的技术范围内,根据本实用新型的技术方案及其实用新型构思加以等同替换或改变,都应涵盖在本实用新型的保护范围之内。
技术特征:
1.分条机智能自动排刀机构,包括安装板(1),其特征在于,所述安装板(1)的下表面固定连接有两个对称分布的挂钩(2),两个所述挂钩(2)的外壁共同活动连接有固定板(3),所述固定板(3)的底端固定连接有电子游标卡尺(4),所述电子游标卡尺(4)的固定端和活动端均固定连接有卡板(5),其中一个所述卡板(5)的外壁开设有固定通孔(6),所述固定通孔(6)的孔壁固定连接有位移传感器(7),所述固定板(3)的杆壁固定连接有两个滚动轴承(8),两个所述滚动轴承(8)的内壁共同固定连接有螺杆(10),所述螺杆(10)的杆壁螺纹连接有螺母(11),所述螺母(11)的两侧外壁均固定连接有固定块(12),所述固定块(12)的外壁与电子游标卡尺(4)移动端的外壁固定连接,所述固定板(3)的杆壁开设有安装孔,且安装孔的孔壁固定连接有驱动机构(9)。2.根据权利要求1所述的分条机智能自动排刀机构,其特征在于,所述驱动机构(9)包括马达(91),所述马达(91)的外壁与固定板(3)的安装孔内壁固定连接,所述马达(91)的输出端固定连接有主动齿轮(92),所述螺杆(10)的杆壁固定套接有从动齿轮(93),所述从动齿轮(93)的外壁与主动齿轮(92)的外壁相互啮合,所述固定板(3)的上表面固定连接有控制器(94)。3.根据权利要求1所述的分条机智能自动排刀机构,其特征在于,所述固定板(3)的上表面固定连接有把手(13)。4.根据权利要求1所述的分条机智能自动排刀机构,其特征在于,所述固定板(3)的下表面开设有限位槽(14),所述限位槽(14)的槽壁活动连接有限位杆(15),所述限位杆(15)的底端与螺母(11)的外壁固定连接。5.根据权利要求1所述的分条机智能自动排刀机构,其特征在于,所述安装板(1)的上表面开设有两个对称分布的连接通孔(16)。6.根据权利要求1所述的分条机智能自动排刀机构,其特征在于,两个所述卡板(5)的下表面均开设有弧形凹槽(17)。
技术总结
本实用新型涉及分条机排刀技术领域,且公开了分条机智能自动排刀机构,包括安装板,所述安装板的下表面固定连接有两个对称分布的挂钩,两个所述挂钩的外壁共同活动连接有固定板,所述固定板的底端固定连接有电子游标卡尺,所述电子游标卡尺的固定端和活动端均固定连接有卡板,其中一个所述卡板的外壁开设有固定通孔,所述固定通孔的孔壁固定连接有位移传感器,所述固定板的杆壁固定连接有两个滚动轴承,两个所述滚动轴承的内壁共同固定连接有螺杆,所述螺杆的杆壁螺纹连接有螺母,所述螺母的两侧外壁均固定连接有固定块。本实用新型能够有效提高分条机排刀的便捷性和效率,同时能够降低工作人员的劳动强度。够降低工作人员的劳动强度。够降低工作人员的劳动强度。
技术研发人员:刘臣伟 朱其福
受保护的技术使用者:江苏海伟科智能装备有限公司
技术研发日:2021.03.01
技术公布日:2021/11/9