服务热线
180-5003-0233

本申请涉及分切机的技术领域,尤其是涉及一种用于分切机的纠偏装置。
背景技术:
不干胶标签是指一种由普通底纸和不干胶面纸之间通过粘合剂或其他方法连为一体组成的标签,不干胶标签具有重复剥离和粘合的性能,不干胶标签生产过程中根据实际需要会在保持底纸完整性的基础上对不干胶面纸进行分切,分切步骤完成后,会通过收料辊对分切后的不干胶标签收卷。
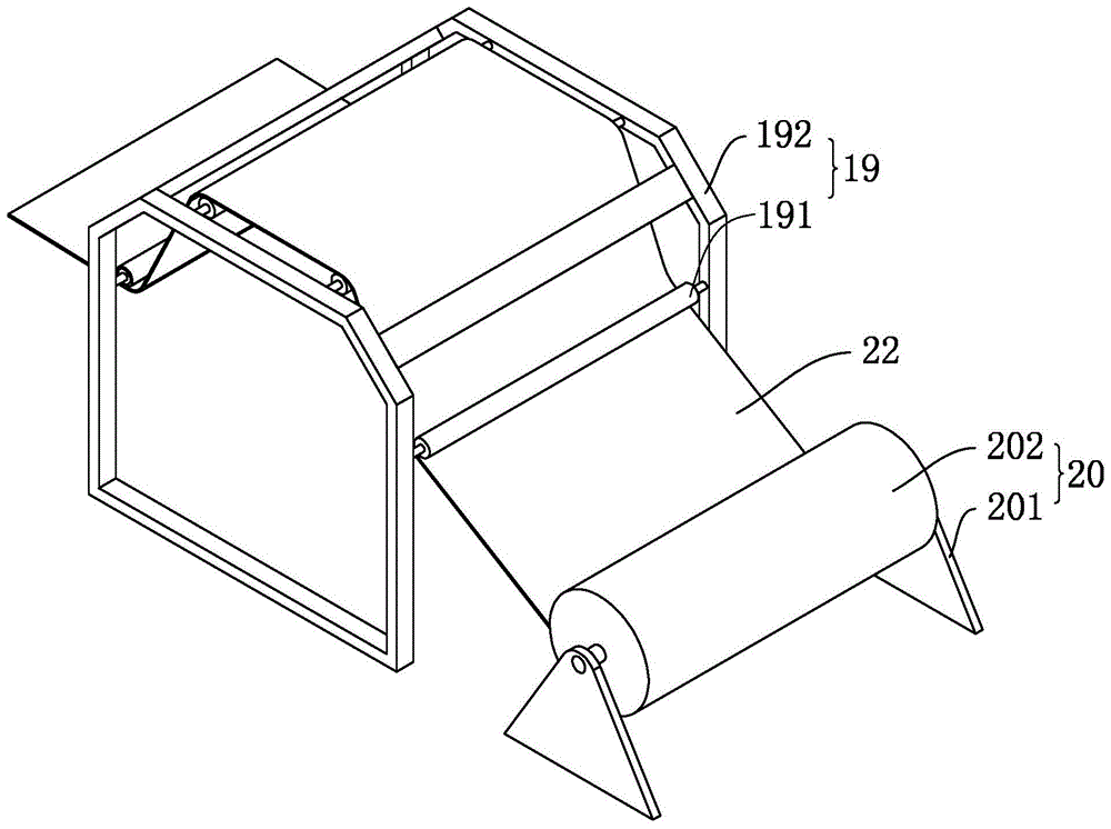
相关技术如图1所示,为分切机的出料装置19和收料装置20,出料装置19包括多根倒置辊191和机架192,收料装置20包括机座201和收料辊202,分切好不干胶面纸的不干胶标签22经多根倒置辊191后与收料辊202连接,收料辊202为主动辊,收料辊202对不干胶标签22收卷。
针对上述中的相关技术,发明人认为:不干胶标签22在传送过程中,由于倒置辊191和收料辊202不可能保持绝对的平行,总会出现输送轻微变向的问题,导致收料辊202收卷起来的不干胶标签22不会对齐。
技术实现要素:
为了提高不干胶标签在收卷时的对齐率,本申请提供一种用于分切机的纠偏装置。
本申请提供的一种用于分切机的纠偏装置,采用如下的技术方案:
一种用于分切机的纠偏装置,包括底座、纠偏辊架,所述纠偏辊架包括安装架和固定设置在安装架内的纠偏辊,所述纠偏辊与不干胶标签抵接,所述底座和安装架之间设置有用于调节纠偏辊高度和倾斜度的调节件。
通过采用上述技术方案,纠偏装置位于分切机放料装置和收料装置之间,通过调节件调节纠偏辊的高度,使纠偏辊与不干胶标签抵接,当不干胶标签在从放料装置向收料装置移动的过程中发生偏移时,通过调节件调整安装架的倾斜度,使不干胶标签移动轨迹向之前移动偏移的反方向偏移,进而实现对不干胶标签移动过程中所发生的偏移进行纠偏,其实用性好,易于推广应用,具有较大的价值。
优选的,所述安装架包括底板和位于底板两端相对设置的侧板,所述调节件为气缸,两个所述气缸上的活塞杆分别与底板两端端部铰接;所述底板伸缩设置。
通过采用上述技术方案,底板两端端部分别与两个活塞杆铰接,当启动气缸、活塞杆开始运动时,两个活塞杆同时向上/向下可实现纠偏辊高度的改变,两个活塞杆运动行程不同将改变纠偏辊两端相对高度,实现纠偏辊倾斜度的改变。
优选的,所述底座上设置有用于调节纠偏辊架水平位置的导向机构。
通过采用上述技术方案,纠偏辊在水平方向位置的不同,纠偏的效果不同,纠偏辊通过导向机构可以在水平方向选择更优的纠偏位置。
优选的,所述导向机构包括连接杆、丝杠和滑杆,所述连接杆与丝杠螺纹配合,所述连接杆与滑杆滑移配合,所述丝杠与滑杆平行设置,两个所述气缸缸体分别固定设置在连接杆的两端,所述连接杆随丝杠的转动沿丝杠长度方向移动,所述连接杆伸缩设置。
通过采用上述技术方案,当丝杠转动时,在滑杆的作用下,连接杆沿丝杠长度方向移动,位于连接杆两端的气缸、与气缸上活塞杆铰接的纠偏辊架也会随之沿丝杠长度方向移动,进而实现了纠偏辊在水平方向上的移动。
优选的,所述丝杠一端与伺服电机连接。
通过采用上述技术方案,伺服电机可以正转也可以反转,通过伺服电机驱动丝杠转动,方便省力。
优选的,所述安装架内设置有定压辊,所述定压辊与纠偏辊平行且位于纠偏辊上方,所述定压辊和纠偏辊之间留有供不干胶材料经过的间隙。
通过采用上述技术方案,通过改变倾斜度纠偏不干胶标签时,不干胶标签一端会与纠偏辊抵接,另一端会与纠偏辊脱离,通过设置定压辊,不干胶标签从定压辊和纠偏辊之间的间隙通过,不干胶标签会整体贴附在纠偏辊上。
优选的,所述定压辊和纠偏辊均包括辊体和辊轴,所述辊体通过滚动轴承绕辊轴转动,所述辊体伸缩设置。
通过采用上述技术方案,当不干胶标签从纠偏辊和定压辊之间的间隙通过时,由于辊体通过滚动轴承绕辊轴转动,移动的不干胶标签会带动纠偏辊和定压辊转动,不干胶标签与纠偏辊、定压辊之间的滑动摩擦改变为滚动摩擦,不干胶标签与纠偏辊、定压辊之间的摩擦力减小,减少不干胶标签与纠偏辊、定压辊之间因摩擦造成的损伤。
优选的,所述底座顶面设置有刻度线,所述刻度线位于丝杠正下方且与丝杠长度方向平行。
通过采用上述技术方案,刻度线可以让操作者明确连接杆在水平方向上的移动距离,使连接杆在水平方向上的移动操作更精确。
综上所述,本申请包括以下至少一种有益技术效果:
1.纠偏装置位于分切机放料装置和收料装置之间,通过调节件调节安装架的高度,使纠偏辊与不干胶标签抵接,当不干胶标签在从放料装置向收料装置移动的过程中发生偏移时,通过调节件调整安装架的倾斜度,使不干胶标签移动轨迹向之前移动偏移的反方向偏移,进而实现对不干胶标签移动过程中所发生的偏移进行纠偏,其实用性好,易于推广应用,具有较大的价值;
2.底板两端端部分别与两个活塞杆铰接,当启动气缸、活塞杆开始运动时,两个活塞杆同时向上/向下可实现纠偏辊高度的改变,两个活塞杆运动行程不同将改变纠偏辊两端相对高度,实现纠偏辊倾斜度的改变。
附图说明
图1是相关技术的整体结构示意图;
图2是本申请实施例工作时的整体结构示意图;
图3是本申请实施例的爆炸示意图;
图4是为显示连接杆内部结构的剖视图。
附图标记:1、底座;2、丝杠;3、丝杠座;4、安装孔;5、定位螺母;6、滑杆;7、滑杆座;8、伺服电机;9、连接杆;91、第一杆;92、第二杆;93、阶梯孔;10、气缸;11、活塞杆;12、纠偏辊架;13、定压辊;131、辊体;132、辊轴;14、纠偏辊;15、安装架;151、底板;152、侧板;16、驱动孔;17、导向孔;18、固定架;19、出料装置;191、倒置辊;192、机架;20、收料装置;201、机座;202、收料辊;21、刻度线;22、不干胶标签;23、伸缩杆。
具体实施方式
以下结合附图2-4对本申请作进一步详细说明。
本申请实施例公开一种用于分切机的纠偏装置。参照图2,包括底座1、导向机构和纠偏机构,底座1放置于分切机的出料装置19和收料装置20之间,不干胶标签22自出料装置19中出料后进入纠偏机构,纠偏机构对不干胶标签22的行进轨迹进行纠偏,纠偏机构可根据导向机构调整纠偏机构与出料装置19、收料装置20之间的相对位置。
参照图2和图3,导向机构包括丝杠2、滑杆6和伺服电机8,底座1整体形状呈长方体状,底座1顶面分别焊接固定有两个丝杠座3和两个滑杆座7。丝杠2转动连接在两个丝杠座3之间,滑杆6固定安装在两个滑杆座7之间,滑杆6和丝杠2分别与底座1长度方向平行,丝杠2与滑杆6分别位于底座1顶面沿宽度方向的两端。
两个丝杠座3同轴开设有安装孔4,安装孔4为光孔,丝杠2一端依次穿过两个安装孔4后与伺服电机8连接;每个安装孔4两侧均抵接设有定位螺母5,定位螺母5与丝杠2螺纹配合。当伺服电机8启动时,丝杠2在伺服电机8的驱动下转动,定位螺母5随丝杠2的转动而转动,丝杠2在定位螺母5的限位作用下只能绕其轴线转动。
参照图3,纠偏机构包括连接杆9、气缸10和纠偏辊架12,连接杆9整体形状为条状结构,连接杆9两端端部分别与丝杠2和滑杆6连接。连接杆9伸缩设置,且两端端部分别开设有轴向相互平行的驱动孔16和导向孔17,其中驱动孔16与丝杠2螺纹配合,导向孔17与滑杆6滑移配合。
连接杆9长度方向与丝杠2垂直且与底座1顶面平行,连接杆9底面与底座1顶面抵接。底座1顶面设置有向内凹陷的刻度线21标识,刻度线21位于丝杠2正下方且与丝杠2长度方向平行。当伺服电机8启动时,连接杆9在丝杠2的驱动、导向孔17的导向作用下沿滑杆6的方向移动。
参照图3,纠偏辊架12包括定压辊13、纠偏辊14和安装架15,安装架15包括整体形状为长方体的底板151和侧板152,侧板152数量有两块。侧板152分别焊接固定在底板151的两端,两块侧板152相对设置且与底板151垂直,本申请实施例中,底板151伸缩设置。
定压辊13和纠偏辊14均固定安装在两个侧板152之间,定压辊13和纠偏辊14平行且定压辊13位于纠偏辊14的正上方。定压辊13和纠偏辊14均包括辊体131和辊轴132,本申请实施例中,辊体131伸缩设置;辊体131通过滚动轴承绕辊轴132自由转动,定压辊13和纠偏辊14之间留有供不干胶标签22穿过的缝隙。
参照图3,连接杆9顶面沿长度方向两端端部分别设置有两个气缸10,两个气缸10通过固定架18固定安装在连接杆9上,固定架18与连接杆9焊接固定。气缸10上的活塞杆11位于气缸10远离连接杆9的一端,活塞杆11的运动方向垂直于底座1顶面,底板151底面两端分别与两个活塞杆11铰接。当启动气缸10,活塞杆11开始运动时,可分别控制两个活塞杆11的运动行程,通过改变底板151两端的相对高度,实现定压辊13、纠偏辊14在竖直面上倾斜度的改变。
本申请实施例中,连接杆9、底板151以及辊体131的伸缩方式相同设置,以下以连接杆9为例进行详细说明。
参照图4,连接杆9沿其的长度方向平均分设为两段分别为第一杆91和第二杆92,第一杆91和第二杆92相互靠近的一端之间设置有伸缩杆23,本申请实施例中伸缩杆23均呈圆柱状设置,还可以设置为其他柱状体。伸缩杆23的两端分别插设于第一杆91和第二杆92的端面内,并固定有限位板231,第一杆91和第二杆92相互靠近的一端设置有与限位板231相适配的阶梯孔93。
驱动孔16和导向孔17内可以设置弹性件,便于连接杆9在伺服电机8的驱动下产生移动,同时由于连接杆9靠近滑杆座7的一端为从动端,弹性件的设置,使得连接杆9在移动的过程中借助伸缩杆23产生微小的伸展,从而连接杆9的长度方向产生偏移,从而能够对待收卷的不干胶标签22的收卷方向进行调整,以使得不干胶标签22能够更加整齐的收卷。
本申请实施例一种用于分切机的纠偏装置的实施原理为:首先将纠偏装置设置在分切机出料装置19和收料装置20之间,然后将从倒置辊191中出料的不干胶标签22穿过定压辊13和纠偏辊14之间的缝隙,最后经由收料辊202收卷收料。
使用过程中,启动气缸10,通过两个活塞杆11同时向上/向下可实现纠偏辊14和定压辊13高度的改变,通过对两个活塞杆11设置不同的运动行程改变纠偏辊14和定压辊13两端相对高度,实现纠偏辊14和定压辊13倾斜度的改变。
在滑杆6的作用下,通过伺服电机8驱动丝杠2转动,连接杆9沿丝杠2长度方向移动,位于连接杆9两端的气缸10、与气缸10上活塞杆11铰接的纠偏辊架12也会随之沿丝杠2长度方向移动,进而实现了纠偏辊14和定压辊13在水平方向上的移动。
以上均为本申请的较佳实施例,并非依此限制本申请的保护范围,故:凡依本申请的结构、形状、原理所做的等效变化,均应涵盖于本申请的保护范围之内。
技术特征:
1.一种用于分切机的纠偏装置,其特征在于,包括底座(1)和纠偏辊架(12),所述纠偏辊架(12)包括安装架(15)和固定设置在安装架(15)内的纠偏辊(14),所述纠偏辊(14)与不干胶标签(22)抵接,所述底座(1)和安装架(15)之间设置有用于调节纠偏辊(14)高度和倾斜度的调节件。
2.根据权利要求1所述的一种用于分切机的纠偏装置,其特征在于,所述安装架(15)包括底板(151)和位于底板(151)两端相对设置的侧板(152),所述调节件为气缸(10),两个所述气缸(10)上的活塞杆(11)分别与底板(151)两端端部铰接;所述底板(151)伸缩设置。
3.根据权利要求2所述的一种用于分切机的纠偏装置,其特征在于,所述底座(1)上设置有用于调节纠偏辊架(12)水平位置的导向机构。
4.根据权利要求3所述的一种用于分切机的纠偏装置,其特征在于,所述导向机构包括连接杆(9)、丝杠(2)和滑杆(6),所述连接杆(9)与丝杠(2)螺纹配合,所述连接杆(9)与滑杆(6)滑移配合,所述丝杠(2)与滑杆(6)平行设置,两个所述气缸(10)分别固定设置在连接杆(9)的两端,所述连接杆(9)随丝杠(2)的转动沿丝杠(2)长度方向移动,所述连接杆(9)伸缩设置。
5.根据权利要求4所述的一种用于分切机的纠偏装置,其特征在于,所述丝杠(2)一端与伺服电机(8)连接。
6.根据权利要求1所述的一种用于分切机的纠偏装置,其特征在于,所述安装架(15)内设置有定压辊(13),所述定压辊(13)与纠偏辊(14)平行且位于纠偏辊(14)上方,所述定压辊(13)和纠偏辊(14)之间留有供不干胶标签(22)经过的间隙。
7.根据权利要求6所述的一种用于分切机的纠偏装置,其特征在于,所述定压辊(13)和纠偏辊(14)均包括辊体(131)和辊轴(132),所述辊体(131)通过滚动轴承绕辊轴(132)转动,所述辊体(131)伸缩设置。
8.根据权利要求1所述的一种用于分切机的纠偏装置,其特征在于,所述底座(1)顶面设置有刻度线(21),所述刻度线(21)位于丝杠(2)正下方且与丝杠(2)长度方向平行。
技术总结
本申请涉及一种用于分切机的纠偏装置,涉及分切机的技术领域,其包括底座和纠偏辊架,纠偏辊架包括安装架和固定设置在安装架内的纠偏辊,纠偏辊与不干胶标签抵接,底座和安装架之间设置有用于调节纠偏辊高度和倾斜度的调节件。本申请通过采用上述技术方案,使得纠偏装置位于分切机放料装置和收料装置之间,通过调节件调节安装架的高度,使纠偏辊与不干胶标签抵接,当不干胶标签在从放料装置向收料装置移动的过程中发生偏移时,通过调节件调整安装架的倾斜度,使不干胶标签移动轨迹向之前移动偏移的反方向偏移,进而实现对不干胶标签移动过程中所发生的偏移进行纠偏,具有实用性好,易于推广应用的效果。
技术研发人员:张光
受保护的技术使用者:上海缘源印刷有限公司
技术研发日:2020.10.28
技术公布日:2021.08.27